GM Service Manual Online
For 1990-2009 cars only

Object Number: 142268  Size: MF
HVAC Components
HVAC Air Delivery/Temperature Control Schematics
Cell 68: Temperature Sensors
Cell 68: Temperature Sensors
Handling ESD Sensitive Parts Notice
Cell 10: IGN 3 Relay and HVAC, ABS Fuses
Cell 10: IGN 3 Relay and HVAC, ABS Fuses
Cell 14: G201 (2 of 3)
Cell 14: G201 (2 of 3)

Circuit Description

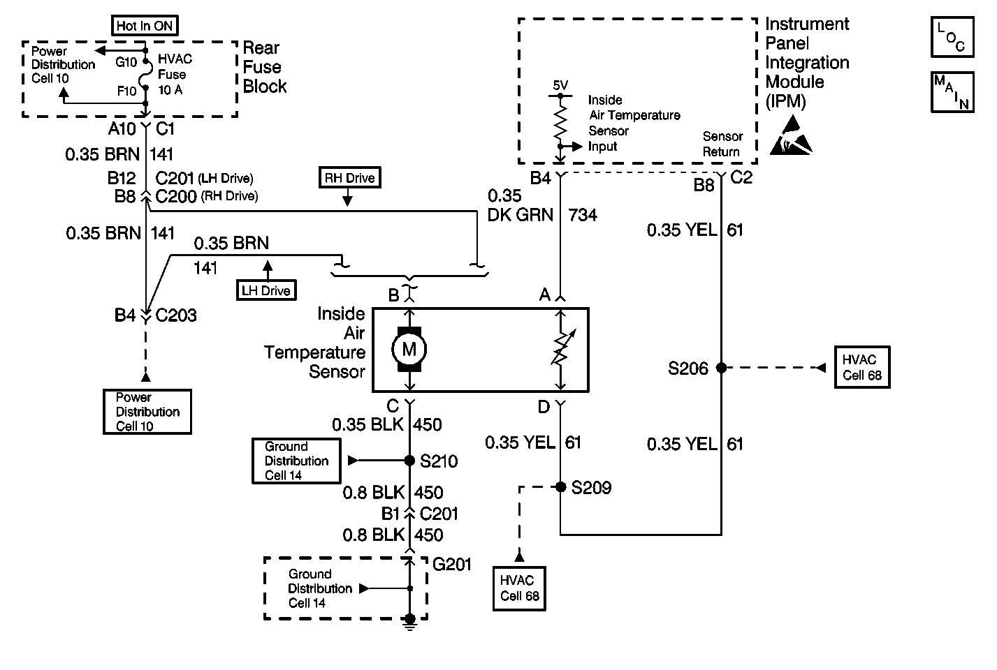
The Inside Air Temperature Sensor is a thermistor that controls signal voltage to the Instrument Panel Integration Module (IPM). The inside air temperature sensor contains an electric fan which pulls the air from the passenger compartment to the sensor. The IPM applies voltage on circuit 734. When the sensor is cold, the resistance is high and the IPM will sense a high signal voltage at terminal B4, connector C2. When the sensor warms, resistance is reduced and the signal voltage is pulled low through circuit 61. Signal voltage will vary from 5 V (open circuit) to 0 V (short circuit).

Conditions for Setting the DTC

    • The ignition is ON.
    • DTC B1310 is not set.
    • Circuit short or open.

Action Taken When the DTC Sets

    • A default value of 24°C (75°F) will be used by the IPM.
    • The default value allows the system to operate.

Conditions for Clearing the MIL/DTC

    • Using a Scan Tool .
    • A current DTC will clear when the diagnostic runs and does not fail.
    • IPM battery voltage is interrupted.

Test Description

The numbers below refer to the step numbers on the diagnostic table.

  1. Perform the Body Control Module (BCM) Diagnostic System Check before continuing with the diagnosis of this DTC.

  2. Ensures that the DTC was not set in error.

  3. Determines whether the cause of the malfunction is the sensor or an open or a short in a circuit.

  4. Determines if the IPM is malfunctioning.

  5. Clear all the DTC's after the repair procedures are complete.

DTC B1317 In Car Air Temperature Sensor

Step

Action

Value(s)

Yes

No

1

Did you perform the BCM diagnostic system check?

--

Go to Step 2

Go to Diagnostic System Check - Body Control System

2

  1. Turn the ignition ON.
  2. Measure the voltage between sensor harness connector terminals A and B.

Refer to Measuring Voltage in Wiring Systems.

Is the specified voltage measured?

5 V

Go to Step 3

Go to Step 7

3

  1. Turn the ignition OFF.
  2. Reconnect the sensor.
  3. Turn the ignition ON.
  4. Clear the DTC using a Scan Tool .
  5. Start the engine.

Did the DTC reset?

--

Go to Step 4

Go to Intermittents and Poor Connections in HVAC

4

  1. Connect the Scan Tool .
  2. Display inside air temperature data.
  3. Start the engine.
  4. Unplug the inside air temperature sensor.
  5. When the inside air temperature sensor voltage increases, reconnect the inside air temperature sensor connector.

Did the in car air temperature sensor voltage decrease?

--

Go to Step 6

Go to Step 5

5

  1. Inspect CKT 734 (DK GRN) for an open or a short condition.
  2. If OK, replace the IPM. Refer to Control Assembly Replacement in HVAC.

Is the repair complete?

--

Go to Step 13

--

6

Replace the sensor. Refer to Inside Air Temperature Sensor Replacement in HVAC.

Is the replacement complete?

--

Go to Step 13

--

7

Measure the voltage between sensor terminal A and ground.

Refer to Measuring Voltage in Wiring Systems.

Is the specified voltage measured?

5 V

Go to Step 8

Go to Step 10

8

Inspect HVAC sensor DTCs.

Are all HVAC sensor DTCs present?

--

Go to Step 9

Go to Step 12

9

  1. Inspect CKT 61 (YEL) for an open or a short condition.
  2. Repair as is necessary.

Refer to Wiring Repairs in Wiring Systems.

Is the repair complete?

--

Go to Step 13

--

10

Measure the voltage between IPM terminal B4 and ground.

Refer to Measuring Voltage in Wiring Systems.

Is the specified voltage measured?

5 V

Go to Step 11

Go to Step 5

11

Repair the open in CKT 734 (DK GRN).

Refer to Wiring Repairs in Wiring Systems.

Is the repair complete?

--

Go to Step 13

--

12

Repair the open in CKT 61 (YEL).

Refer to Wiring Repairs in Wiring Systems.

Is the repair complete?

--

Go to Step 13

--

13

  1. Using a Scan Tool clear all of the DTCs.
  2. Confirm the proper operation of the A/C system.

Is the A/C system operating normally?

--

Go to Diagnostic System Check - Body Control System

--