GM Service Manual Online
For 1990-2009 cars only

Object Number: 380125  Size: LF
Handling ESD Sensitive Parts Notice

Circuit Description

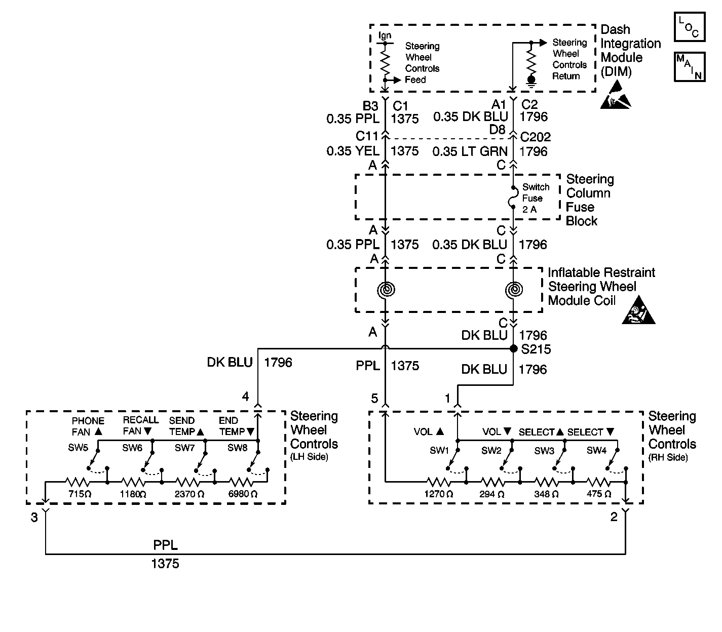
Eight steering wheel control switches are used to control four audio and four HVAC functions. When the vehicle is equipped with the cellular telephone option, four telephone switches take the place of the HVAC steering wheel controls. The steering wheel controls are configured as a resistive ladder network connected to the dash integration module (DIM) across connector C1 terminal B3 and connector C2 terminal A1. When the vehicle is in ON, ACCY or RAP, battery voltage is provided from the DIM on CKT 1796 (DK BLU) to the steering wheel controls. Pressing a switch (or switches) causes a voltage to appear on return CKT 1375 (PPL) which has a value unique to the switch(es) pressed.

Conditions for Setting the DTC

    • DTC B2511 only sets if B1982 or B1983 is not current in DIM memory.
    • DTC B2511 sets if the DIM determines that one of the audio steering wheel controls switches is stuck.

Action Taken When the DTC Sets

    • DTC B2511 is stored in the DIM memory.
    • The module disables the steering wheel control functions as long as this DTC is current.
    • This DTC does not cause a driver warning message to appear.

Conditions for Clearing the DTC

    • A current DTC clears (status changes from current to history) if the conditions which caused the DTC to set are no longer present.
    • A history DTC clears after 50 consecutive ignition cycles if the condition for the malfunction is no longer present.

Diagnostic Aids

Refer to Steering Wheel Controls in Entertainment for additional information about this system.

Test Description

The numbers below refer to the step numbers on the diagnostic table:

  1. Perform the Body Control Module Diagnostic System Check before continuing with the diagnosis of this DTC.

  2. Clear all DTCs and cycle ignition to check that the DTC did not erroneously set.

  3. Clear all DTCs after the repair procedure is complete.

Step

Action

Value(s)

Yes

No

1

Was the Body Control Module Diagnostic System Check performed?

--

Go to Step 2

Go to Diagnostic System Check - Body Control System

2

  1. Turn the ignition switch to ON.
  2. Clear any DTCs. Refer to Clearing DTCs.
  3. Turn the ignition switch to OFF.
  4. Turn the ignition switch to ON and wait at least 15 seconds.

Is the DTC still present?

--

Go to Step 3

Go to Diagnostic System Check - Body Control System

3

  1. Turn the ignition switch to OFF.
  2. Connect a scan tool to the data link connector (DLC).
  3. Turn ignition to ON.
  4. On the scan tool select the dash integration module (DIM), then select input data.
  5. Start engine.
  6. On the scan tool, monitor the steering wheel controls A/D input.

Does the scan tool display 0 counts?

--

Go to Step 6

Go to Step 4

4

On the scan tool, monitor the steering wheel controls A/D input.

Does the scan tool display between 15 and 60 counts?

--

Go to Step 6

Go to Step 5

5

On the scan tool, monitor the steering wheel controls A/D input.

Does the scan tool display 15 counts or less, or more than 60 counts?

--

Go to Step 7

Go to Steering Wheel Controls System Check in Entertainment

6

Replace LH side steering wheel controls.

Is the replacement complete?

--

Go to Step 8

--

7

Replace the Dash Integration Module (DIM).

Is the replacement complete?

--

Go to Step 8

--

8

  1. Turn the ignition switch to OFF.
  2. Reconnect or install any connectors or components that were disconnected or removed.
  3. Turn the ignition switch to ON.
  4. Clear any DTCs.

Are all DTCs cleared?

--

Go to Diagnostic System Check - Body Control System

--