GM Service Manual Online
For 1990-2009 cars only

Removal Procedure

Tools Required

J 34730 Fuel Pressure Gauge


    Object Number: 211302  Size: SH
  1. Relieve the fuel system fuel pressure. Refer to the Fuel Pressure Relief .
  2. Drain the fuel tank (1). Refer to Fuel Tank Draining .
  3. Caution: To avoid any vehicle damage, serious personal injury or death when major components are removed from the vehicle and the vehicle is supported by a hoist, support the vehicle with jack stands at the opposite end from which the components are being removed and strap the vehicle to the hoist.

  4. Raise the vehicle.

  5. Object Number: 386188  Size: SH
  6. Remove the exhaust system.
  7. Remove the wheel house filler pipe opening cover in order to gain access to the fuel tank filler pipe.
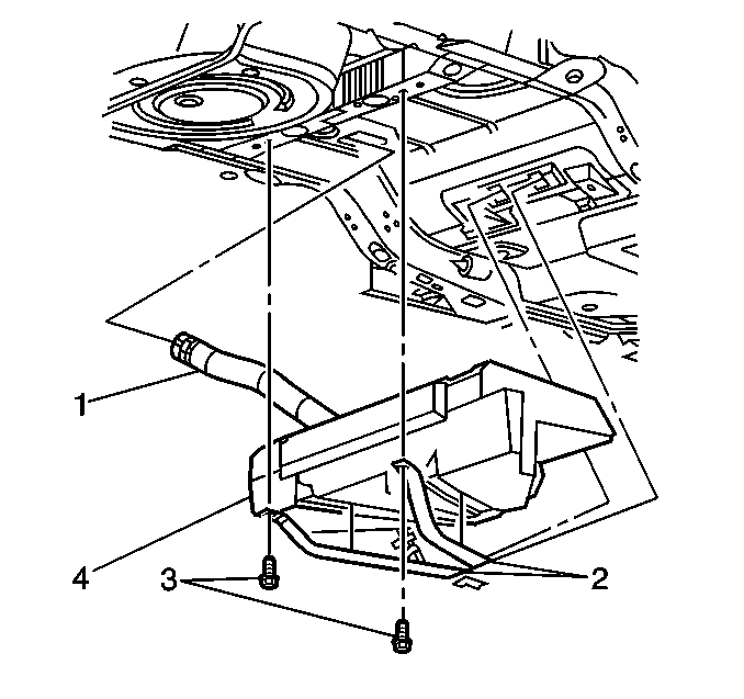
  8. Remove the fuel tank filler pipe (2) ground wire strap bolt (4).

  9. Object Number: 386183  Size: SH
  10. Remove the fuel feed, fuel return, and EVAP pipes near the fuel filter. Refer to Plastic Collar Quick Connect Fitting Service .
  11. Remove the EVAP pipes and retainers at the evaporative emission canister.
  12. Remove the rear suspension support assembly. Refer to Support Replacement in Rear Suspension.
  13. Remove the fuel tank electrical connectors.
  14. Remove the fuel tank bolts (3) from the fuel tank (2) straps.
  15. Remove the fuel tank from the vehicle and place the fuel tank in a suitable work area.
  16. Remove the filler tube clamp.
  17. Remove the fuel filler tube from the fuel tank (1).

Installation Procedure


    Object Number: 386183  Size: SH

    Notice: Always re-attach the fuel lines and fuel filter with all original type fasteners and hardware.

    Do not repair sections of fuel pipes.

  1. Install the filler tube clamp to the fuel tank.
  2. Notice: Use the correct fastener in the correct location. Replacement fasteners must be the correct part number for that application. Fasteners requiring replacement or fasteners requiring the use of thread locking compound or sealant are identified in the service procedure. Do not use paints, lubricants, or corrosion inhibitors on fasteners or fastener joint surfaces unless specified. These coatings affect fastener torque and joint clamping force and may damage the fastener. Use the correct tightening sequence and specifications when installing fasteners in order to avoid damage to parts and systems.

  3. Install the fuel filler tube to the fuel tank (1).
  4. Tighten
    Tighten the filler tube clamp to 4 N·m (35 lb in).

  5. Position and support the fuel tank (4) with the aid of an assistant.
  6. Install the fuel tank straps (2).
  7. Tighten
    Tighten the fuel tank strap bolts (3) to 48 N·m (35 lb ft).

  8. Install the rear suspension support assembly bolts and the lower suspension support assembly. Refer to Support Replacement in Rear Suspension.
  9. Install the fuel tank electrical connectors.
  10. Install the EVAP pipes and retainers at the evaporative emission canister.
  11. Install the fuel feed, fuel return, and EVAP pipes near the fuel filter. Refer to Plastic Collar Quick Connect Fitting Service .

  12. Object Number: 386188  Size: SH
  13. Install the fuel tank filler pipe attaching screw (4).
  14. Tighten
    Tighten the fuel tank filler ground wire to 9 N·m (80 lb in).

  15. Install the wheel house filler pipe opening cover.
  16. Install the exhaust system.
  17. Caution: To avoid any vehicle damage, serious personal injury or death when major components are removed from the vehicle and the vehicle is supported by a hoist, support the vehicle with jack stands at the opposite end from which the components are being removed and strap the vehicle to the hoist.

  18. Lower the vehicle.
  19. Add fuel and install the fuel tank filler pipe (1) cap.
  20. Caution: Unless directed otherwise, the ignition and start switch must be in the OFF or LOCK position, and all electrical loads must be OFF before servicing any electrical component. Disconnect the negative battery cable to prevent an electrical spark should a tool or equipment come in contact with an exposed electrical terminal. Failure to follow these precautions may result in personal injury and/or damage to the vehicle or its components.

  21. Install the negative battery cable. Refer to Battery Negative Cable Disconnection and Connection in Engine Electrical.
  22. Inspect for fuel leaks.
  23. 15.1. Turn ON the ignition for 2 seconds.
    15.2. Turn OFF the ignition for 10 seconds.
    15.3. Turn ON the ignition.
    15.4. Check for fuel leaks.
  24. Install the rear seat cushion. Refer to Rear Seat Cushion Replacement in Seats.

  25. Object Number: 475295  Size: SH
  26. Install the intake manifold sight shield (1) to the engine.
  27. Install the intake manifold shield nuts (2).
  28. Tighten
    Tighten the nuts to 3 N·m (27 lb in).