GM Service Manual Online
For 1990-2009 cars only

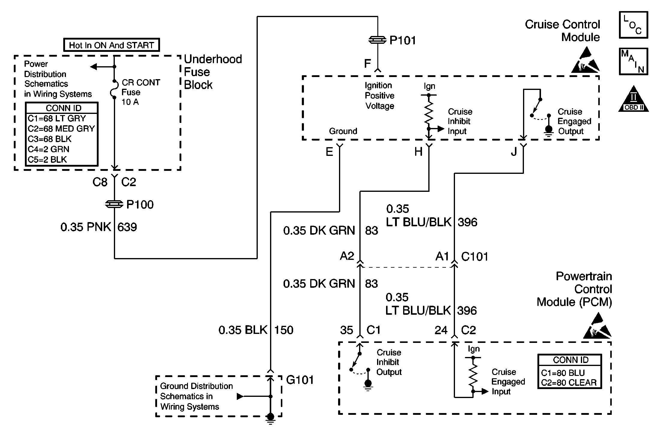
Object Number: 603441  Size: MF
Cruise Control Component Views
Cruise Control Module
OBD II Symbol Description Notice
Handling ESD Sensitive Parts Notice
Handling ESD Sensitive Parts Notice

Circuit Description

The PCM has the ability to inhibit cruise control if conditions exist that would make cruise operation undesirable. The following conditions may inhibit cruise control operation:

    • The engine has not been running long enough for cruise control operation.
    • The engine speed is too high or too low.
    • The vehicle speed is too high or too low.
    • The traction control has been active for longer than 1 second.
    • The vehicle acceleration or deceleration rate is too high.

If any of these conditions are present, the PCM will remove the ground from the cruise inhibit circuit. If the cruise engaged circuit indicates that the cruise control is still engaged while the PCM is inhibiting cruise control operation, DTC P1554 will set.

Conditions for Running the DTC

The PCM is commanding the cruise control module to inhibit cruise control operation (cruise inhibit circuit is not grounded).

Conditions for Setting the DTC

The PCM detects a cruise engaged signal from the cruise control module, while inhibiting cruise control operation.

Action Taken When the DTC Sets

    • The PCM will not illuminate the malfunction indicator lamp (MIL).
    • The PCM will store the conditions present when the DTC set as Failure Records data only.

Conditions for Clearing the MIL/DTC

    • The history DTC will clear after 40 consecutive warm-up cycles have occurred without a malfunction.
    • The DTC can be cleared by using the scan tool Clear DTC Information function.

Diagnostic Aids

Inspect the wiring harness for damage. If the harness appears to be OK, observe the cruise status display on the scan tool while moving connectors and wiring harnesses related to the cruise control module. A change in the display will indicate the location of the malfunction. If a problem is found, repair as necessary. Refer to Wiring Repairs in Wiring Systems.

Reviewing the Fail Records vehicle mileage since the diagnostic test last failed may assist in diagnosing the condition. The information may help determine how often the condition that set the DTC occurs.

Test Description

The numbers below refer to the step numbers on the diagnostic table.

  1. This step determines if the PCM is reading the signal voltage correctly.

  2. This step looks for a short on the cruise engaged input circuit.

  3. This vehicle is equipped with a PCM which utilizes an Electrically Erasable Programmable Read Only Memory (EEPROM). When the PCM is replaced, the new PCM must be programmed.

Step

Action

Values

Yes

No

1

Did you perform the Powertrain On-Board Diagnostic (OBD) System Check?

--

Go to Step 2

Go to Powertrain On Board Diagnostic (OBD) System Check

2

Using a scan tool check the DTC Status.

Is DTC P1585 also set?

--

Go to DTC P1585 Cruise Control Inhibit Output Circuit

Go to Step 3

3

  1. Turn ON the ignition, with the engine OFF.
  2. Review and record the scan tool Fail Records data.
  3. Operate the vehicle within the Fail Records conditions.
  4. Using a scan tool, monitor the Specific DTC Information for DTC P1554.

Does the scan tool indicate that DTC P1554 failed last test?

--

Go to Step 4

Go to Diagnostic Aids

4

  1. Turn OFF the ignition.
  2. Disconnect the cruise control module connector.
  3. Turn ON the ignition, with the engine OFF.
  4. Using the scan tool, monitor the Specific DTC Information for DTC P1554.

Does the scan tool indicate that DTC P1554 failed last test?

--

Go to Step 7

Go to Step 5

5

  1. Record the fluid life indexes, turn the key to OFF position and wait 30 seconds.
  2. Disconnect the PCM connector.
  3. Turn ON the ignition, with the engine OFF.
  4. Using a digital multimeter (DMM), test for a short to ground in the cruise engaged circuit.

Did you find and correct the condition?

--

Go to Step 6

Go to Step 8

6

Repair the short to ground on the cruise engaged circuit. Refer to Wiring Repairs in Wiring Systems.

Is the action complete?

--

Go to Step 9

--

7

Replace the cruise control module. Refer to Cruise Control Module Replacement in Cruise Control.

Is the action complete?

--

Go to Step 9

--

8

Important: The replacement PCM must be programmed.

Replace the PCM. Refer to Powertrain Control Module Replacement/Programming .

Is the action complete?

--

Go to Step 9

--

9

  1. With the key ON, review and record the scan tool Fail Records data.
  2. Clear the DTCs.
  3. Operate the vehicle within the Fail Records conditions.
  4. Using the scan tool, monitor the Specific DTC Information for DTC P1554.

Does the scan tool indicate that DTC P1554 passed?

--

System OK

Go to Step 2