GM Service Manual Online
For 1990-2009 cars only

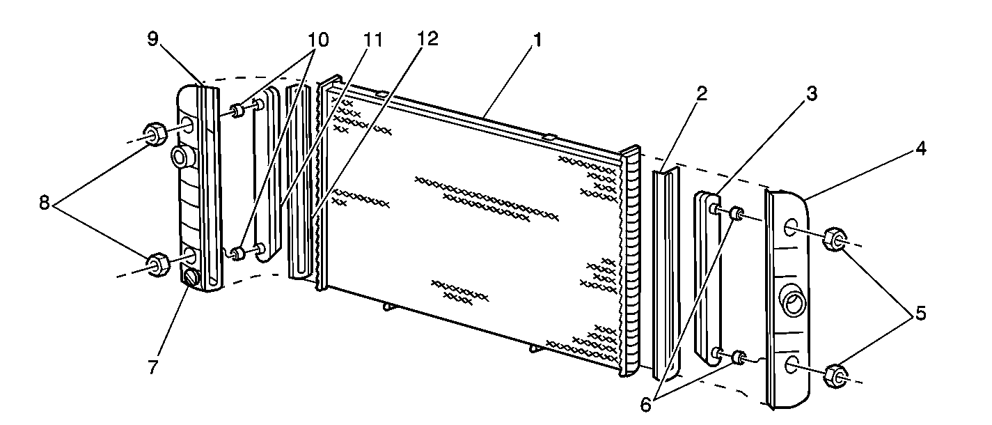
Object Number: 535827  Size: SF

These engines use a cross-flow, lightweight aluminum and plastic radiator. The radiator consists of the following components:

    • A brazed aluminum tube and center core (1)
    • Two plastic end tanks (4, 9)
    • A transmission oil cooler (11)
    • An engine oil cooler (3)
    • A radiator drain cock (7)

Clinch tabs fasten the end tanks to the core. A high temperature rubber gasket (2, 12) seals each of the end tanks. The left side end tank houses the transmission oil cooler. The right side end tank houses the engine oil cooler. Rubber gaskets (6, 10) and nuts (5, 8) seal the oil cooler fittings to the end tanks. The drain cock (7) is plastic and this is at the bottom of the left side end tank.