GM Service Manual Online
For 1990-2009 cars only

Caution: With a pressurized cooling system, the coolant temperature in the radiator can be considerably higher than the boiling point of the solution at atmospheric pressure. Removal of the surge tank cap, while the cooling system is hot and under high pressure, causes the solution to boil instantaneously with explosive force. This will cause the solution to spew out over the engine, the fenders, and the person removing the cap. Serious bodily injury may result.


Object Number: 571626  Size: SH

The surge tank uses a plastic pressure-vent cap to allow a buildup of pressure in the cooling system. The cap allows the system to operate at a higher than atmospheric pressure. This pressure raises the boiling point of the coolant.

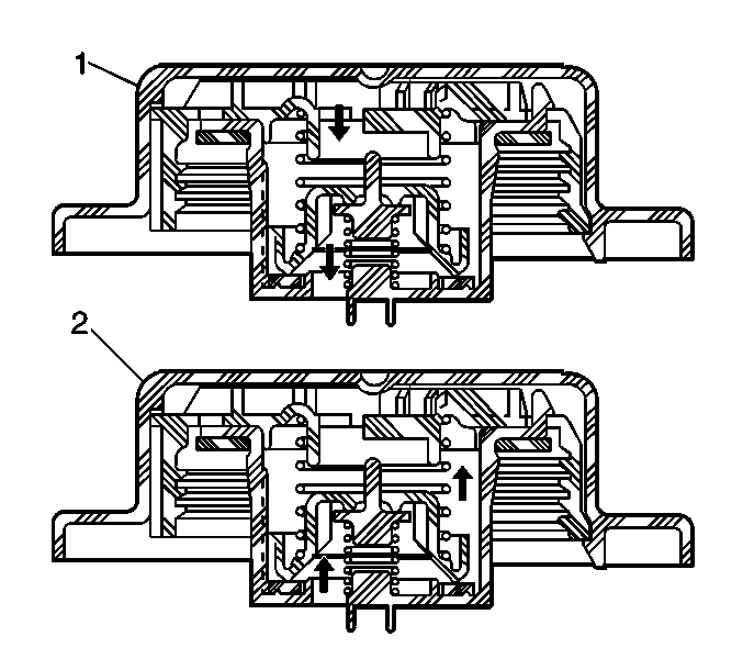
The pressure-type cap contains a blowoff (pressure) valve (2) and a vacuum (atmospheric) valve (1). The cap protects the radiator by relieving any pressure that exceeds design limits.

In order to prevent radiator collapse, caused by vacuum as the engine cools, the vacuum valve prevents excessive pressure differences from occurring between the cooling system and the atmosphere.

The surge tank cap has a new threaded design to allow for easier and safer removal. Do the following In order to safely remove the cap from a cool system:


Object Number: 569434  Size: SH

    Caution: If there is evidence of steam, do not open the hood until the steam is dispersed as bodily injury could occur.

  1. Slowly rotate the cap counterclockwise ¼ turn and then stop, do not press down.
  2. Allow any residual pressure, indicated by a hissing sound, to be relieved.
  3. After the hissing stops, continue to rotate the cap counterclockwise until the cap is removed.

There is no specific orientation of the lettering on the cap versus the cap being tight. Retighten the cap using hand tight pressure.