GM Service Manual Online
For 1990-2009 cars only

Object Number: 82222  Size: SH

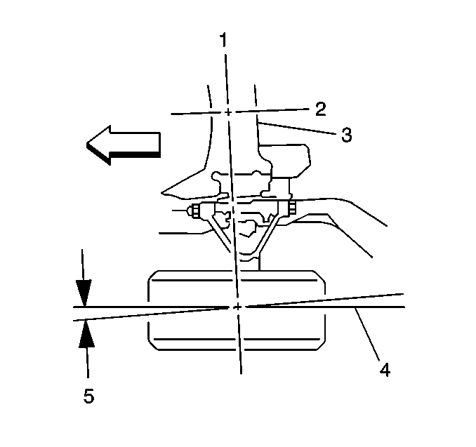
The toe angle is the measurement of how much the front or rear wheels are turned inward or outward (5) from a straight-ahead position (4), when the wheels are viewed from the front or rear of the vehicle. When the wheels are turned inward, the toe angle is positive. When the wheels are turned outward, the toe angle is negative. The purpose of toe is to ensure that the wheels roll parallel to the road.

The toe angle can be adjusted on both the front and the rear wheels of the vehicle.

The toe angle will affect the tire wear.