GM Service Manual Online
For 1990-2009 cars only

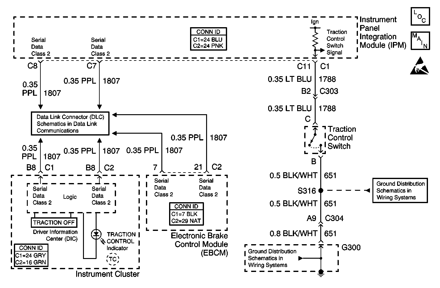
Object Number: 566632  Size: MF
ABS Components
Indicators and Traction Control Switch
Handling ESD Sensitive Parts Notice
Class 2 Serial Data Line (LH Drive)

Circuit Description

The instrument cluster controls the operation of the TRACTION CONTROL indicator. The EBCM reports the desired status of the TRACTION CONTROL indicator via class 2 serial data messages.

Test Description

The numbers below refer to the step numbers on the diagnostic table.

  1. This test uses the scan tool to check the normal state of the TRACTION CONTROL indicator control.

  2. This test ensures that the instrument cluster can operate the TRACTION CONTROL indicator.

Step

Action

Value(s)

Yes

No

1

Did you perform the ABS Diagnostic System Check?

--

Go to Step 2

Go to Diagnostic System Check - ABS

2

Inspect the EBCM ground, making sure the ground is clean and torqued to the proper specification. Refer to Circuit Testing and Wiring Repairs in Wiring Systems.

Did you find and correct the condition?

--

Go to Step 9

Go to Step 3

3

With a scan tool, observe the TCS Warning Indicator/Message parameter in the DRP/ABS/TCS data list.

Does the scan tool display Off?

--

Go to Step 4

Go to Step 5

4

  1. Turn OFF the ignition.
  2. Turn ON the ignition, with the engine OFF.
  3. Observe the TRACTION CONTROL indicator on the instrument cluster (IPC) during the bulb check.

Does the TRACTION CONTROL indicator illuminate during the bulb check and then turn OFF?

--

Go to Step 5

Go to Step 6

5

Inspect for poor connections at the harness connector of the EBCM. Refer to Testing for Intermittent Conditions and Poor Connections and Connector Repairs in Wiring Systems.

Did you find and correct the condition?

--

Go to Step 9

Go to Step 7

6

Inspect for poor connections at the harness connector of the instrument cluster (IPC). Refer to Testing for Intermittent Conditions and Poor Connections and Connector Repairs in Wiring Systems.

Did you find and correct the condition?

--

Go to Step 9

Go to Step 8

7

Important: Perform the setup procedure for the EBCM. An unprogrammed EBCM will result in the following conditions:

   • Inoperative or poorly functioning DRP/ABS/TCS/VSES/VES (if equipped)
   • Set DTC C1248 EBCM Turned the Red Brake Warning Indicator On
   • Set DTC C1255m3 EBCM/EBTCM Internal Malfunction

Replace the EBCM. Refer to Electronic Brake Control Module Replacement .

Did you complete the repair?

--

Go to Step 9

--

8

Replace the instrument cluster (IPC). Refer to Instrument Cluster Replacement in Instrument Panel, Gauges and Console.

Did you complete the repair?

--

Go to Step 9

--

9

Operate the system in order to verify the repair.

Did you correct the condition?

--

System OK

Go to Step 2