GM Service Manual Online
For 1990-2009 cars only

Steering Shaft, Lower Bearing, and Jacket - Disassemble - Off Vehicle Power Tilt and Telescope

Tools Required

J 21854-01 Pivot Pin Remover

  1. Remove the windshield wiper and washer switch assembly only. Refer to Windshield Wiper and Washer Switch Assembly - Disassemble - Off Vehicle .
  2. Remove the cruise control switch assembly only. Refer to Cruise Control Switch Assembly - Disassemble - Off Vehicle .

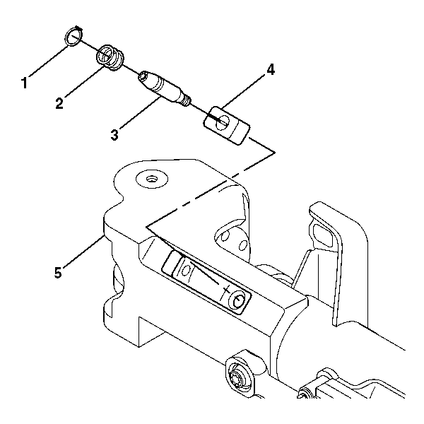
  3. Object Number: 332940  Size: SH
  4. Remove the signal switch housing assembly.
  5. Remove the 2 pan head tapping screws from the turn signal and multifunction switch assembly.
  6. Remove the turn signal and multifunction switch assembly.

  7. Object Number: 295943  Size: SH
  8. Remove the steering shaft seal (1).
  9. Remove the sensor retainer (2).
  10. Remove the hi resolution steering wheel position sensor assembly (3).

  11. Object Number: 332943  Size: SH
  12. Remove the lower spring retainer (1).
  13. Remove the wave washer (2).
  14. Remove the adapter and bearing assembly (3).

  15. Object Number: 332947  Size: SH
  16. Remove the 2 pivot pins (1) using J 21854-01 .

  17. Object Number: 302399  Size: SH
  18. Remove the ball stud (2) from the steering column tilt head assembly (1).

  19. Object Number: 312531  Size: SH
  20. Remove the steering column tilt head assembly (1) with the steering shaft assembly from the steering jacket assembly.

  21. Object Number: 312534  Size: SH
  22. Remove the steering shaft assembly (1) from the steering column tilt head assembly.

  23. Object Number: 295954  Size: SH

    Important: Mark the upper shaft assembly and the steering shaft assembly to ensure proper assembly. Failure to assemble properly will cause the steering wheel to be turned 180 degrees.

  24. Tilt the upper shaft assembly 90 degrees to the steering shaft assembly and disengage. If necessary, remove and discard the old centering sphere and spring.

  25. Object Number: 302418  Size: SH
  26. Remove the 4 TORX® head screws (3) from the tilt actuator assembly (2) that is mounted on the steering column support assembly (1).

  27. Object Number: 302439  Size: SH
  28. Remove the retaining ring (1), compression spring (2), shoulder bolt, (3) and the anti rotation ball (4) from the steering column support assembly (5).

  29. Object Number: 302404  Size: SH
  30. Remove the 4 TORX® head screws (2) from the telescope actuator assembly (3) that is mounted on the telebearing and jacket assembly (1).

  31. Object Number: 302451  Size: SH
  32. Remove the 4 TORX® head screws (1).
  33. Remove the steering column support assembly (3) from the telebearing and jacket assembly (2).

Steering Shaft, Lower Bearing, and Jacket - Disassemble - Off Vehicle Manual Tilt

Tools Required

    • J 23653-SIR Lock Plate Compressor
    • J 42137 Lock Plate Compressor Adapter
  1. Remove the inflatable restraint steering wheel module coil. Refer to Inflatable Restraint Steering Wheel Module Coil Disassemble - Off Vehicle .
  2. Remove the upper tilt head assembly. Refer to Steering Column Tilt Head Housing - Disassemble - Off Vehicle .

  3. Object Number: 295935  Size: SH
  4. Remove the bearing retainer (1) using J 23653-SIR and J 42137 .
  5. Remove the cam orientation plate (2).

  6. Object Number: 295931  Size: SH
  7. Remove the turn signal cancel cam assembly (4).
  8. Remove the upper bearing spring (3).
  9. Remove the upper bearing inner race seat (2).
  10. Remove the inner race (1).

  11. Object Number: 295938  Size: SH
  12. Remove the blue (1), and gray (2) connectors of the turn signal and multifunction switch assembly.

  13. Object Number: 293235  Size: SH
  14. Remove the 2 pan head tapping screws.

  15. Object Number: 295939  Size: SH
  16. Remove the turn signal and multifunction switch assembly.

  17. Object Number: 295941  Size: SH
  18. Remove the 2 pan head tapping screws (2).
  19. Remove the signal switch housing assembly (1).

  20. Object Number: 295943  Size: SH
  21. Remove the steering shaft seal (1).
  22. Remove the sensor retainer (2).
  23. Remove the hi resolution steering wheel position sensor assembly (3).

  24. Object Number: 295947  Size: SH
  25. Remove the lower spring retainer (1).
  26. Remove the lower bearing spring (2).
  27. Remove the lower bearing seat (3).
  28. Remove the adapter and bearing assembly (4).

  29. Object Number: 295948  Size: SH
  30. Remove the tilt spring. Refer to the tilt spring assembly Tilt Spring - Disassemble - Off Vehicle .
  31. Remove the 2 pivot pins (1).

  32. Object Number: 295949  Size: SH
  33. Remove the steering column tilt head assembly (1) with the steering shaft assembly. Install the tilt arm and pull to disengage the steering column tilt head assembly (1) from the jacket column assembly.

  34. Object Number: 295950  Size: SH
  35. Remove the steering shaft assembly (1) from the steering column tilt head assembly.

  36. Object Number: 295954  Size: SH

    Important: Mark the race and upper shaft assembly and the lower steering shaft assembly to ensure proper assembly. Failure to assemble properly will cause steering wheel to be turned 180 degrees.

  37. Tilt the race and upper shaft assembly 90 degrees to the lower steering shaft assembly and disengage. If necessary, remove and discard the old centering sphere and spring.

  38. Object Number: 295955  Size: SH
  39. Remove the 4 TORX® head screws (2).
  40. Remove the steering column support assembly (1).