GM Service Manual Online
For 1990-2009 cars only
Figure 1:

Passenger Compartment, in the Center of the Instrument Panel


Object Number: 338815  Size: LF
(1)Radio Connector
(2)Radio
(3)Instrument Panel Integration Module (IPM) / Heater and A/C Control Head
Figure 2:

Compact Disc (CD) Changer


Object Number: 154440  Size: LF
(1)Compact Disc (CD) Changer
(2)Compact Disc (CD) Changer Connector
Figure 3:

Passenger Compartment, behind the Rear Seat


Object Number: 154444  Size: LF
(1)Radio Amplifier (with UX8)
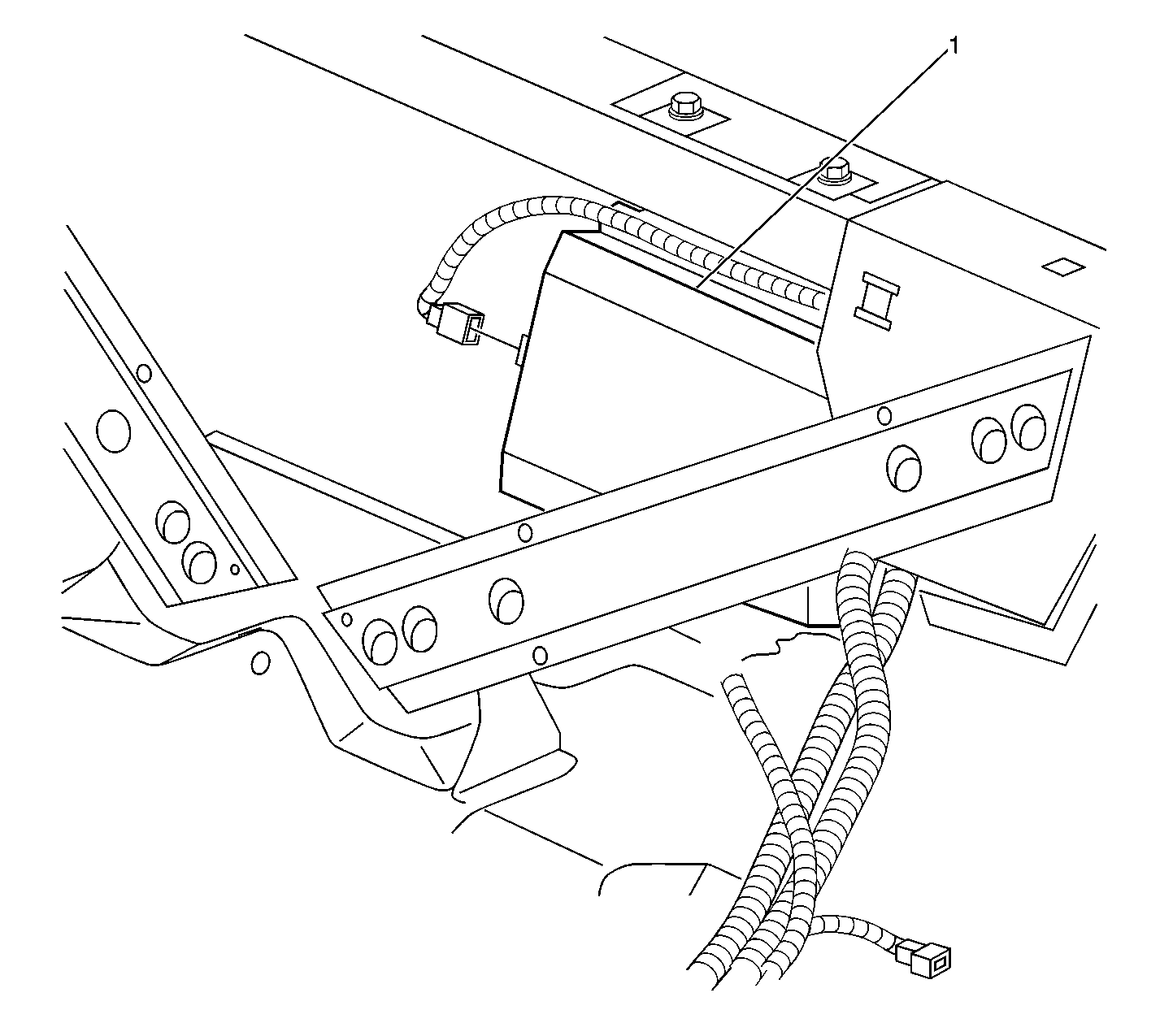
Figure 4:

Behind Rear Seat


Object Number: 338783  Size: LF
(1)Radio Amplifier (with UX9)
(2)Radio Amplifier Connector C3
(3)Radio Amplifier Connector C1
(4)Radio Amplifier Connector C2
Figure 5:

Rear Compartment, Below the Package Shelf (w/ UY4)


Object Number: 259819  Size: LF
(1)Radio
Figure 6:

Center Rear of Headliner


Object Number: 338810  Size: LF
(1)FM Antenna Coax Cable
(2)Radio Antenna Module
(3)RF Signal Coax Cable
(4)Radio Antenna Module Connector