GM Service Manual Online
For 1990-2009 cars only

Live (Undeployed) Inflator Module

Caution: When you are carrying an undeployed inflator module:

   • Do not carry the inflator module by the wires or connector on the inflator module
   • Make sure the bag opening points away from you
When you are storing an undeployed inflator module, make sure the bag opening points away from the surface on which the inflator module rests. When you are storing a steering column, do not rest the column with the bag opening facing down and the column vertical. Provide free space for the air bag to expand in case of an accidental deployment. Otherwise, personal injury may result.


Object Number: 9039  Size: SH

Take special care when handling or storing a live (undeployed) inflator module. An air bag deployment produces rapid gas generation. This may cause the inflator module, or an object in front of the inflator module, to jettison through the air in the event of an unlikely deployment.

Scrapping Procedure

During the course of a vehicle's useful life, certain situations may arise which will necessitate the disposal of a live (undeployed) inflator module. The following information covers the proper procedures for the disposing of a live inflator module. Deploy the inflator module before disposal. Do not dispose of the module through normal disposal channels.

Caution: In order to prevent accidental deployment of the air bag which could cause personal injury, do not dispose of an undeployed inflator module as normal shop waste. The undeployed inflator module contains substances that could cause severe illness or personal injury if the sealed container is damaged during disposal. Use the following deployment procedures to safely dispose of an undeployed inflator module. Failure to dispose of an inflator module as instructed may be a violation of federal, state, province, or local laws.

Do not deploy an air bag in the following situations:

    • After replacement of an inflator module under warranty. The module may need to be returned undeployed to the original manufacturer of inflator module.
    • If the vehicle is the subject of a Product Liability report related to the SIR system and is subject to a Preliminary Investigation (GM-1241). Do not alter the SIR system in any manner.
    • If the vehicle is involved in a campaign affecting the inflator modules. Follow the instructions in the Campaign Service Bulletin for proper SIR handling procedures.

Deployment Procedures

The inflator module can be deployed inside or outside of the vehicle. The method used depends upon the final disposition of the vehicle. Review the following procedures in order to determine which will work best in a given situation:

Deployment Outside Vehicle (Inflatable Restraint Steering Wheel Module)

Tools Required

    • J 38826 SIR Deployment Harness
    • An appropriate pigtail adapter

Deploy the inflatable restraint steering wheel inflator module outside of the vehicle when the vehicle will be returned to service. Situations that require deployment outside of the vehicle include the following:

    • Using the SIR diagnostics, you determine that the inflator module does not function properly.
    • The inflator module is scratched or ripped on the cover.
    • The inflator module pigtail (if equipped) is damaged.
    • The inflator module connector is damaged.
    • An inflator module connector terminal is damaged.

Deployment and disposal of a malfunctioning inflator module is subject to any required retention period.

Caution: In order to prevent accidental deployment of the air bag which could cause personal injury, do not dispose of an undeployed inflator module as normal shop waste. The undeployed inflator module contains substances that could cause severe illness or personal injury if the sealed container is damaged during disposal. Use the following deployment procedures to safely dispose of an undeployed inflator module. Failure to dispose of an inflator module as instructed may be a violation of federal, state, province, or local laws.

CAUTION: When you are deploying an inflator module for disposal, perform the deployment procedures in the order listed. Failure to follow the procedures in the order listed may result in personal injury.


    Object Number: 68645  Size: SH

    Important: Refer to the latest General Motors Service Bulletins before deploying a driver inflator module.

  1. Turn the ignition switch to the OFF position.
  2. Remove the ignition key.
  3. Put on safety glasses.
  4. Inspect the J 38826 SIR Deployment Harness.
  5. Short the two SIR deployment harness (1) leads together using one banana plug seated into the other.
  6. Connect the appropriate pigtail adapter (2) to the SIR deployment harness (1).
  7. Remove the inflatable restraint steering wheel module. Refer to Inflatable Restraint Steering Wheel Module Replacement .
  8. Remove all horn/steering wheel control buttons from the module, if equipped.
  9. Caution: When you are carrying an undeployed inflator module:

       • Do not carry the inflator module by the wires or connector on the inflator module
       • Make sure the bag opening points away from you
    When you are storing an undeployed inflator module, make sure the bag opening points away from the surface on which the inflator module rests. When you are storing a steering column, do not rest the column with the bag opening facing down and the column vertical. Provide free space for the air bag to expand in case of an accidental deployment. Otherwise, personal injury may result.


    Object Number: 9427  Size: SH
  10. Place the module with the vinyl trim cover facing up and away from the surface on a work bench.

  11. Object Number: 68646  Size: SH
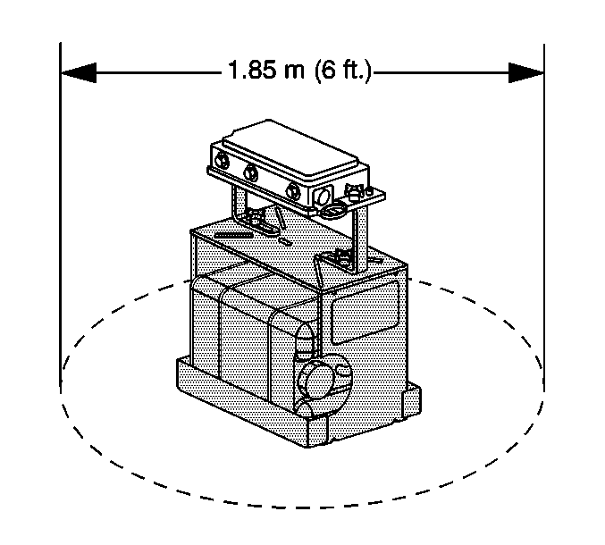
  12. Clear a space on the ground about 1.85 m (6 ft) in diameter for deployment of the module. If possible, use a paved, outdoor location free of activity. Otherwise, use a space free of activity on the shop floor. Make sure you have sufficient ventilation.
  13. Make sure no loose or flammable objects are in the area.
  14. Place the module in the space with the vinyl trim cover facing up.

  15. Object Number: 68655  Size: SH
  16. Extend the SIR deployment harness and adapter to full length from the module.
  17. Place a 12 V minimum/2 A minimum power source (i.e., vehicle battery) near the shorted end of the harness.

  18. Object Number: 68656  Size: SH
  19. Connect the module (1) to the adapter (2) on the SIR deployment harness (3).
  20. Firmly seat the adapter into the module connector.
  21. Clear the area of people.
  22. CAUTION: When you are deploying an inflator module for disposal, perform the deployment procedures in the order listed. Failure to follow the procedures in the order listed may result in personal injury.


    Object Number: 39382  Size: SH
  23. Separate the two banana plugs on the SIR deployment harness.

  24. Object Number: 39388  Size: SH

    Important: The rapid gas expansion involved with deploying an air bag is very loud. Notify all the people in the immediate area that you intend to deploy the inflator module.

    Important: When the air bag deploys, the inflator module may jump about 30 cm (1 ft) vertically. This is a normal reaction of the inflator module to the force of the rapid gas expansion inside the air bag.

  25. Connect the SIR deployment harness wires to the power source.

  26. Object Number: 9581  Size: SH
  27. Disconnect the SIR deployment harness from the power source after the air bag deploys.
  28. Seat one banana plug into the other in order to short the deployment harness leads.
  29. If the air bag did not deploy, disconnect the adapter and discontinue the procedure. Contact the Technical Assistance Group. Otherwise, proceed to the following steps.
  30. CAUTION: After an air bag deploys, the metal surfaces of the inflator module are very hot. To help avoid a fire or personal injury:

       • Allow sufficient time for cooling before touching any metal surface of the inflator module.
       • Do not place the deployed inflator module near any flammable objects.


    Object Number: 9433  Size: SH
  31. Put on a pair of shop gloves.
  32. Disconnect the pigtail adapter from the inflator module as soon as possible.
  33. Inspect the pigtail adapter and the SIR deployment harness. Replace as needed.
  34. Dispose of the deployed module through normal refuse channels.
  35. Wash hands with a mild soap.

Deployment Outside Vehicle (Inflatable Restraint Instrument Panel Module)

Tools Required

    • J 39401-B SIR Deployment Fixture
    • J 38826 SIR Deployment Harness
    • An appropriate pigtail adapter

Caution: In order to prevent accidental deployment of the air bag which could cause personal injury, do not dispose of an undeployed inflator module as normal shop waste. The undeployed inflator module contains substances that could cause severe illness or personal injury if the sealed container is damaged during disposal. Use the following deployment procedures to safely dispose of an undeployed inflator module. Failure to dispose of an inflator module as instructed may be a violation of federal, state, province, or local laws.

CAUTION: When you are deploying an inflator module for disposal, perform the deployment procedures in the order listed. Failure to follow the procedures in the order listed may result in personal injury.

Deploy the inflatable restraint instrument panel inflator module outside of the vehicle when the vehicle will be returned to service. Situations that require deployment outside of the vehicle include the following:

    • Using the SIR diagnostics, you determine that the inflator module does not function properly.
    • The inflator module is scratched or ripped on the cover.
    • The inflator module pigtail (if equipped) is damaged.
    • The inflator module connector is damaged.
    • An inflator module connector terminal is damaged.

Deployment and disposal of a malfunctioning inflator module is subject to any required retention period.


    Object Number: 68645  Size: SH

    Important: Refer to the latest General Motors Service Bulletins before deploying a passenger inflator module.

  1. Turn the ignition switch to the OFF position.
  2. Remove the ignition key.
  3. Put on safety glasses.
  4. Inspect the J 38826 SIR Deployment Harness.
  5. Short the two SIR deployment harness (1) leads together using one banana plug seated into the other.
  6. Connect the appropriate pigtail adapter (2) to the SIR deployment harness (1).
  7. Remove the inflatable restraint instrument panel module. Refer to Inflatable Restraint Instrument Panel Module Replacement .
  8. Caution: When you are carrying an undeployed inflator module:

       • Do not carry the inflator module by the wires or connector on the inflator module
       • Make sure the bag opening points away from you
    When you are storing an undeployed inflator module, make sure the bag opening points away from the surface on which the inflator module rests. When you are storing a steering column, do not rest the column with the bag opening facing down and the column vertical. Provide free space for the air bag to expand in case of an accidental deployment. Otherwise, personal injury may result.


    Object Number: 9427  Size: SH
  9. Place the module with the vinyl trim cover facing up and away from the surface on a work bench.

  10. Object Number: 453878  Size: SH
  11. Clear a space on the ground about 1.85 M (6 ft) in diameter for deployment of the module. If possible, use a paved, outdoor location free of activity. Otherwise, use a space free of activity on the shop floor. Make sure you have sufficient ventilation.
  12. Make sure no loose or flammable objects are in the area.
  13. Place the J 39401-B SIR Deployment Fixture.
  14. Fill the fixture plastic reservoir with water or sand.

  15. Object Number: 453892  Size: SH
  16. Secure the J 39401 arms (5) to the deployment fixture (2) using carriage bolts (3) and nuts (4).
  17. Mount the module (1) in the SIR deployment fixture (2) with the vinyl trim cover facing up using one of the following mounting methods.
  18. Important: Securely hand tighten all fasteners prior to deployment.

  19. To mount, use four M 6 bolts (6), nuts (8), and washers (7) in order to secure the module (1) to the deployment fixture (2).

  20. Object Number: 453898  Size: SH
  21. Extend the SIR deployment harness and adapter to full length from the module.
  22. Place a 12 V minimum/2 A minimum power source (i.e., vehicle battery) near the shorted end of the harness.

  23. Object Number: 453902  Size: SH
  24. Connect the module (1) to the adapter (2) on the SIR deployment harness (3).
  25. Firmly seat the adapter into the module connector.
  26. Clear the area of people.
  27. CAUTION: When you are deploying an inflator module for disposal, perform the deployment procedures in the order listed. Failure to follow the procedures in the order listed may result in personal injury.


    Object Number: 39382  Size: SH
  28. Separate the two banana plugs on the SIR deployment harness.

  29. Object Number: 453905  Size: SH

    Important: The rapid gas expansion involved with deploying an air bag is very loud. Notify all the people in the immediate area that you intend to deploy the inflator module.

    Important: When the air bag deploys, the SIR deployment fixture may jump vertically. This is a normal reaction of the inflator module to the force of the rapid gas expansion inside the air bag.

  30. Connect the SIR deployment harness wires to the power source.

  31. Object Number: 9581  Size: SH
  32. Disconnect the SIR deployment harness from the power source after the air bag deploys.
  33. Seat one banana plug into the other in order to short the deployment harness leads.
  34. If the air bag did not deploy, disconnect the adapter and discontinue the procedure. Contact the Technical Assistance Group. Otherwise, proceed to the following steps.
  35. CAUTION: After an air bag deploys, the metal surfaces of the inflator module are very hot. To help avoid a fire or personal injury:

       • Allow sufficient time for cooling before touching any metal surface of the inflator module.
       • Do not place the deployed inflator module near any flammable objects.


    Object Number: 9433  Size: SH
  36. Put on a pair of shop gloves.
  37. Disconnect the pigtail adapter from the inflator module as soon as possible.
  38. Inspect the pigtail adapter and the SIR deployment harness. Replace as needed.
  39. Dispose of the deployed module through normal refuse channels.
  40. Wash hands with a mild soap.

Deployment Outside Vehicle (Inflatable Restraint Side Impact Module)

Caution: In order to prevent accidental deployment of the air bag which could cause personal injury, do not dispose of an undeployed inflator module as normal shop waste. The undeployed inflator module contains substances that could cause severe illness or personal injury if the sealed container is damaged during disposal. Use the following deployment procedures to safely dispose of an undeployed inflator module. Failure to dispose of an inflator module as instructed may be a violation of federal, state, province, or local laws.

Tools Required

    • J 39401-B SIR Deployment Fixture
    • J 38826 SIR Deployment Harness
    • An appropriate pigtail adapter

CAUTION: When you are deploying an inflator module for disposal, perform the deployment procedures in the order listed. Failure to follow the procedures in the order listed may result in personal injury.

Deploy the inflatable restraint side impact inflator module outside of the vehicle when the vehicle will be returned to service. Situations that require deployment outside of the vehicle include the following:

    • Using the SIR diagnostics, you determine that the inflator module does not function properly.
    • The inflator module is scratched or ripped on the cover.
    • The inflator module pigtail (if equipped) is damaged.
    • The inflator module connector is damaged.
    • An inflator module connector terminal is damaged.

Deployment and disposal of a malfunctioning inflator module is subject to any required retention period.


    Object Number: 68645  Size: SH

    Important: Refer to the latest General Motors Service Bulletins before deploying a inflator module.

  1. Turn the ignition switch to the OFF position.
  2. Remove the ignition key.
  3. Put on safety glasses.
  4. Inspect the J 38826 SIR Deployment Harness and the appropriate pigtail adapter for damage. Replace as needed.
  5. Short the two SIR deployment harness (1) leads together using one banana plug seated into the other.
  6. Connect the appropriate pigtail adapter (2) to the SIR deployment harness (1).
  7. Remove the inflatable restraint side impact module. Refer to Inflatable Restraint Front Seat Side Impact Inflator Module Replacement for removal.
  8. Caution: When you are carrying an undeployed inflator module:

       • Do not carry the inflator module by the wires or connector on the inflator module
       • Make sure the bag opening points away from you
    When you are storing an undeployed inflator module, make sure the bag opening points away from the surface on which the inflator module rests. When you are storing a steering column, do not rest the column with the bag opening facing down and the column vertical. Provide free space for the air bag to expand in case of an accidental deployment. Otherwise, personal injury may result.


    Object Number: 483704  Size: SH
  9. Place the module with the vinyl trim cover facing up and away from the surface on a work bench.

  10. Object Number: 483702  Size: SH
  11. Clear a space on the ground about 1.85 M (6 ft) in diameter for deployment of the module. If possible, use a paved, outdoor location free of activity. Otherwise, use a space free of activity on the shop floor. Make sure you have sufficient ventilation.
  12. Make sure no loose or flammable objects are in the area.
  13. Place the J 39401-B SIR Deployment Fixture in the center of the cleared area.
  14. Fill the fixture plastic reservoir with water or sand.

  15. Object Number: 483706  Size: SH

    Important: Securely hand tighten all fasteners prior to deployment.

  16. Mount the module (2) in the SIR deployment fixture (3) with the vinyl trim cover facing up using one of the following mounting methods.
  17. To mount, use two M 6 x 1.0 nuts (1) with washers in order to secure the module (2) to the deployment fixture (3) brackets (4).

  18. Object Number: 483709  Size: SH
  19. Extend the SIR deployment harness and adapter to full length from the module.
  20. Place a 12 V minimum/2 A minimum power source (i.e., vehicle battery) near the shorted end of the harness.

  21. Object Number: 483711  Size: SH
  22. Connect the module (1) to the adapter (2) on the SIR deployment harness (3).
  23. Firmly seat the adapter into the module connector.
  24. Clear the area of people.
  25. CAUTION: When you are deploying an inflator module for disposal, perform the deployment procedures in the order listed. Failure to follow the procedures in the order listed may result in personal injury.


    Object Number: 39382  Size: SH
  26. Separate the two banana plugs on the SIR deployment harness.

  27. Object Number: 483715  Size: SH

    Important: The rapid gas expansion involved with deploying an air bag is very loud. Notify all the people in the immediate area that you intend to deploy the inflator module.

    Important: When the air bag deploys, the SIR deployment fixture may jump vertically. This is a normal reaction of the inflator module to the force of the rapid gas expansion inside the air bag.

  28. Connect the SIR deployment harness wires to the power source.

  29. Object Number: 9581  Size: SH
  30. Disconnect the SIR deployment harness from the power source after the air bag deploys.
  31. Seat one banana plug into the other in order to short the deployment harness leads.
  32. If the air bag did not deploy, disconnect the adapter and discontinue the procedure. Contact the Technical Assistance Group. Otherwise, proceed to the following steps.
  33. CAUTION: After an air bag deploys, the metal surfaces of the inflator module are very hot. To help avoid a fire or personal injury:

       • Allow sufficient time for cooling before touching any metal surface of the inflator module.
       • Do not place the deployed inflator module near any flammable objects.


    Object Number: 9433  Size: SH
  34. Put on a pair of shop gloves.
  35. Disconnect the pigtail adapter from the inflator module as soon as possible.
  36. Inspect the pigtail adapter and the SIR deployment harness. Replace as needed.
  37. Dispose of the deployed module through normal refuse channels.
  38. Wash hands with a mild soap.

Deployment Inside Vehicle (Vehicle Scrapping Procedure)

Deploy the inflator modules inside of the vehicle when destroying the vehicle or when salvaging the vehicle for parts. This includes but is not limited to the following situations:

    • The vehicle has completed its useful life.
    • Irreparable damage occurs to the vehicle in a non-deployment type accident.
    • Irreparable damage occurs to the vehicle during a theft.
    • The vehicle is being salvaged for parts to be used on a vehicle with a different VIN as opposed to rebuilding as the same VIN.

CAUTION: When you are deploying an inflator module for disposal, perform the deployment procedures in the order listed. Failure to follow the procedures in the order listed may result in personal injury.


    Object Number: 464953  Size: SH
  1. Turn the ignition switch to the OFF position.
  2. Remove the ignition key.
  3. Put on safety glasses.
  4. Remove all loose objects from the front seats.
  5. Disconnect the inflatable restraint steering wheel module yellow 2-way connector (4) located next to steering column (2).

  6. Object Number: 39392  Size: SH
  7. Cut the yellow 2-way harness connector out of the vehicle, leaving at least 16 cm (6 in) of wire at the connector.
  8. Strip 13 mm (0.5 in) of insulation from each of the connector wire leads.

  9. Object Number: 39390  Size: SH
  10. Cut two 4.6 m (15 ft) deployment wires from a 0.8 mm (18 gage) or thicker multi-strand wire. Use these wires to fabricate the driver deployment harness.
  11. Strip 13 mm (0.5 in) of insulation from both ends of the wires cut in the previous step.
  12. Twist together one end from each of the wires in order to short the wires. Deployment wires shall remain shorted, and not connected to a power source until you are ready to deploy the air bag.

  13. Object Number: 39393  Size: SH
  14. Twist together one connector wire lead to one deployment wire.
  15. Inspect that the previous connection is secure.

  16. Object Number: 39408  Size: SH
  17. Bend flat the twisted connection.
  18. Secure and insulate the connection using electrical tape.

  19. Object Number: 39414  Size: SH
  20. Twist together, bend, and tape the remaining connector wire lead to the remaining deployment wire.
  21. Connect the deployment harness to the inflatable restraint steering wheel module yellow 2-way connector.

  22. Object Number: 143169  Size: SH
  23. Route the deployment harness out of the vehicle's driver side.

  24. Object Number: 513358  Size: SH
  25. Disconnect the driver side air bag/pretensioner yellow 6-way connector (1) from the vehicle wiring harness (2) located under the driver seat.

  26. Object Number: 566915  Size: MH
  27. Cut the four SIR wires (2 for side air bag and 2 for pretensioner) leading to the yellow 6-way harness connector from the vehicle, leaving at least 16 cm (6 in) of wire at the connector.
  28. Strip 13 mm (0.5 in) of insulation from all four SIR wires connector leads (2 for side air bag and 2 for pretensioner).

  29. Object Number: 68651  Size: SH
  30. Cut two 6.1 m (20 ft) deployment wires from a 0.8 mm (18 gage) or thicker multi-strand wire. Use these wires to fabricate the deployment harness.
  31. Strip 13 mm (0.5 in) of insulation from both ends of the wires cut in the previous step.
  32. Twist together one end from each of the wires in order to short the wires. Deployment wires shall remain shorted, and not connected to a power source until you are ready to deploy the side air bag module and pretensioner.

  33. Object Number: 566918  Size: SH
  34. Twist together two connector wire leads (1 side air bag and 1 pretensioner) to one of the deployment harness wires.
  35. Inspect that the 3 wire connection is secure.

  36. Object Number: 566922  Size: SH
  37. Bend flat the twisted connection.

  38. Object Number: 566927  Size: SH
  39. Secure and insulate the 3 wire connection to deployment harness using electrical tape.

  40. Object Number: 566932  Size: SH
  41. Twist together two connector wire leads (1 side air bag and 1 pretensioner) to the deployment harness wire.
  42. Inspect that the 3 wire connection is secure.

  43. Object Number: 566936  Size: SH
  44. Bend flat the twisted connection.

  45. Object Number: 566942  Size: SH
  46. Secure and insulate the 3 wire connection to deployment harness using electrical tape.
  47. Connect the deployment harness to the driver side air bag/pretensioner yellow 6-way connector.

  48. Object Number: 566946  Size: SH
  49. Route the deployment harness out of the driver side of the vehicle.

  50. Object Number: 464940  Size: SH
  51. Disconnect the inflatable restraint IP module yellow 2-way harness connector (1) from the vehicle harness connector (2) located above passenger side sound insulator.

  52. Object Number: 68649  Size: SH
  53. Cut the harness connector out of the vehicle, leaving at least 16 cm (6 in) of wire at the connector.
  54. Strip 13 mm (0.5 in) of insulation from each of the connector wire leads.

  55. Object Number: 68651  Size: SH
  56. Cut two 6.1 m (20 ft) deployment wires from a 0.8 mm (18 gage) or thicker multi-strand wire. These wires will be used to fabricate the passenger deployment harness.
  57. Strip 13 mm (0.5 in) of insulation from both ends of the wires cut in the previous step.
  58. Twist together one end from each of the wires in order to short the wires.

  59. Object Number: 68652  Size: SH
  60. Twist together one connector wire lead to one deployment wire.

  61. Object Number: 68660  Size: SH
  62. Bend flat the twisted connection.
  63. Secure and insulate the connection using electrical tape.

  64. Object Number: 68662  Size: SH
  65. Twist together, bend, and tape the remaining connector wire lead to the remaining deployment wire.
  66. Connect the deployment harness to the inflatable restraint IP module yellow 2-way connector.

  67. Object Number: 143172  Size: SH
  68. Route the deployment harness out of the passenger side of the vehicle.

  69. Object Number: 513358  Size: SH
  70. Disconnect the passenger side air bag/pretensioner yellow 6-way connector (1) from the vehicle wiring harness (2) located under the driver seat.

  71. Object Number: 566915  Size: MH
  72. Cut the four SIR wires (2 for side air bag and 2 for pretensioner) leading to the yellow 6-way harness connector from the vehicle, leaving at least 16 cm (6 in) of wire at the connector.
  73. Strip 13 mm (0.5 in) of insulation from all four SIR wires connector leads (2 for side air bag and 2 for pretensioner).

  74. Object Number: 68651  Size: SH
  75. Cut two 6.1 m (20 ft) deployment wires from a 0.8 mm (18 gage) or thicker multi-strand wire. Use these wires to fabricate the deployment harness.
  76. Strip 13 mm (0.5 in) of insulation from both ends of the wires cut in the previous step.
  77. Twist together one end from each of the wires in order to short the wires. Deployment wires shall remain shorted, and not connected to a power source until you are ready to deploy the side air bag module and pretensioner.

  78. Object Number: 566918  Size: SH
  79. Twist together two connector wire leads (1 side air bag and 1 pretensioner) to one of the deployment harness wires.
  80. Inspect that the 3 wire connection is secure.

  81. Object Number: 566922  Size: SH
  82. Bend flat the twisted connection.

  83. Object Number: 566927  Size: SH
  84. Secure and insulate the 3 wire connection to deployment harness using electrical tape.

  85. Object Number: 566932  Size: SH
  86. Twist together two connector wire leads (1 side air bag and 1 pretensioner) to the deployment harness wire.
  87. Inspect that the 3 wire connection is secure.

  88. Object Number: 566936  Size: SH
  89. Bend flat the twisted connection.

  90. Object Number: 566942  Size: SH
  91. Secure and insulate the 3 wire connection to deployment harness using electrical tape.
  92. Connect the deployment harness to the passenger side air bag/pretensioner yellow 6-way connector.

  93. Object Number: 566951  Size: SH
  94. Route the deployment harness out of the passenger side of the vehicle.

  95. Object Number: 566968  Size: MH
  96. Stretch the passenger side harnesses to full length.
  97. Completely cover the windshield and front door window openings with a drop cloth.
  98. Place a power source, 12 V minimum/2 A minimum (i.e., a vehicle battery) near the shorted end of the harnesses.
  99. Separate the two ends of the passenger inflatable restraint IP inflator module deployment harness wires (2).
  100. Connect the inflatable restraint IP module deployment harness wires (2) to the power source in order to deploy the inflatable restraint IP module.
  101. Disconnect the inflatable restraint IP inflator module deployment harness wires from the power source.
  102. Twist together one end of each wire of inflatable restraint IP module on the passenger side deployment harness in order to short the wires.
  103. Separate the two ends of the passenger inflatable restraint side impact/pretensioner inflator modules deployment harness wires (1).
  104. Connect the inflatable restraint side impact/pretensioner inflator modules deployment harness wires (1) to the power source in order to deploy the inflatable restraint side impact and pretensioner inflator modules.
  105. Disconnect the inflatable restraint side impact/pretensioner inflator modules deployment harness wires from the power source.
  106. Twist together one end of each wire of side air bag/pretensioner modules on the passenger side deployment harness in order to short the wires.

  107. Object Number: 566964  Size: MH
  108. Stretch the driver side harnesses to full length.
  109. Completely cover the windshield and front door window openings with a drop cloth.
  110. Place a power source, 12 V minimum/2 A minimum (i.e., a vehicle battery) near the shorted end of the harnesses.
  111. Separate the two ends of the driver inflatable restraint steering wheel inflator module deployment harness wires (2).
  112. Connect the inflatable restraint steering wheel module deployment harness wires (2) to the power source in order to deploy the inflatable restraint steering wheel module.
  113. Disconnect the inflatable restraint steering wheel inflator module deployment harness wires from the power source.
  114. Twist together one end of each wire of inflatable restraint steering wheel module on the driver side deployment harness in order to short the wires.
  115. Separate the two ends of the driver inflatable restraint side impact/pretensioner inflator modules deployment harness wires (1).
  116. Connect the inflatable restraint side impact/pretensioner inflator modules deployment harness wires (1) to the power source in order to deploy the inflatable restraint side impact and pretensioner inflator modules.
  117. Disconnect the inflatable restraint side impact/pretensioner inflator modules deployment harness wires from the power source.
  118. Twist together one end of each wire of side air bag/pretensioner modules on the driver side deployment harness in order to short the wires.
  119. Remove the drop cloth from the vehicle.
  120. Disconnect all harnesses from the vehicle.
  121. Discard the harnesses.
  122. Scrap the vehicle in the same manner as a non-SIR equipped vehicle.
  123. If one or all of the inflator modules did not deploy, perform the following steps to remove the undeployed module(s) from the vehicle:
  124. •  Inflatable Restraint Steering Wheel Module Replacement
    •  Inflatable Restraint Instrument Panel Module Replacement
    •  Inflatable Restraint Front Seat Side Impact Inflator Module Replacement
    •  Seat Belt Buckle Pretensioner Replacement - Left Side
    •  Seat Belt Buckle Pretensioner Replacement - Right Side
  125. Call the Technical Assistance Group for further assistance.

Handling a Deployed Inflator Module

After the inflator module has deployed, the surface of the air bag may contain a powdery residue. This powder consists primarily of cornstarch (used to lubricate the bag as it inflates), and by-products of the chemical reaction. The deployment reaction produces sodium hydroxide dust (similar to lye soap). The sodium hydroxide quickly reacts with the atmospheric moisture. This atmospheric moisture converts the sodium hydroxide into sodium carbonate and sodium bicarbonate (baking soda). Therefore, you will probably find no sodium hydroxide present after the deployment. Gloves and safety glasses are recommended, however, as a precaution. Gloves and safety glasses help to prevent possible irritation of the skin or eyes.