GM Service Manual Online
For 1990-2009 cars only
Makes
🢒
Cadillac
🢒
2000
🢒
Seville
🢒
Body and Accessories
🢒
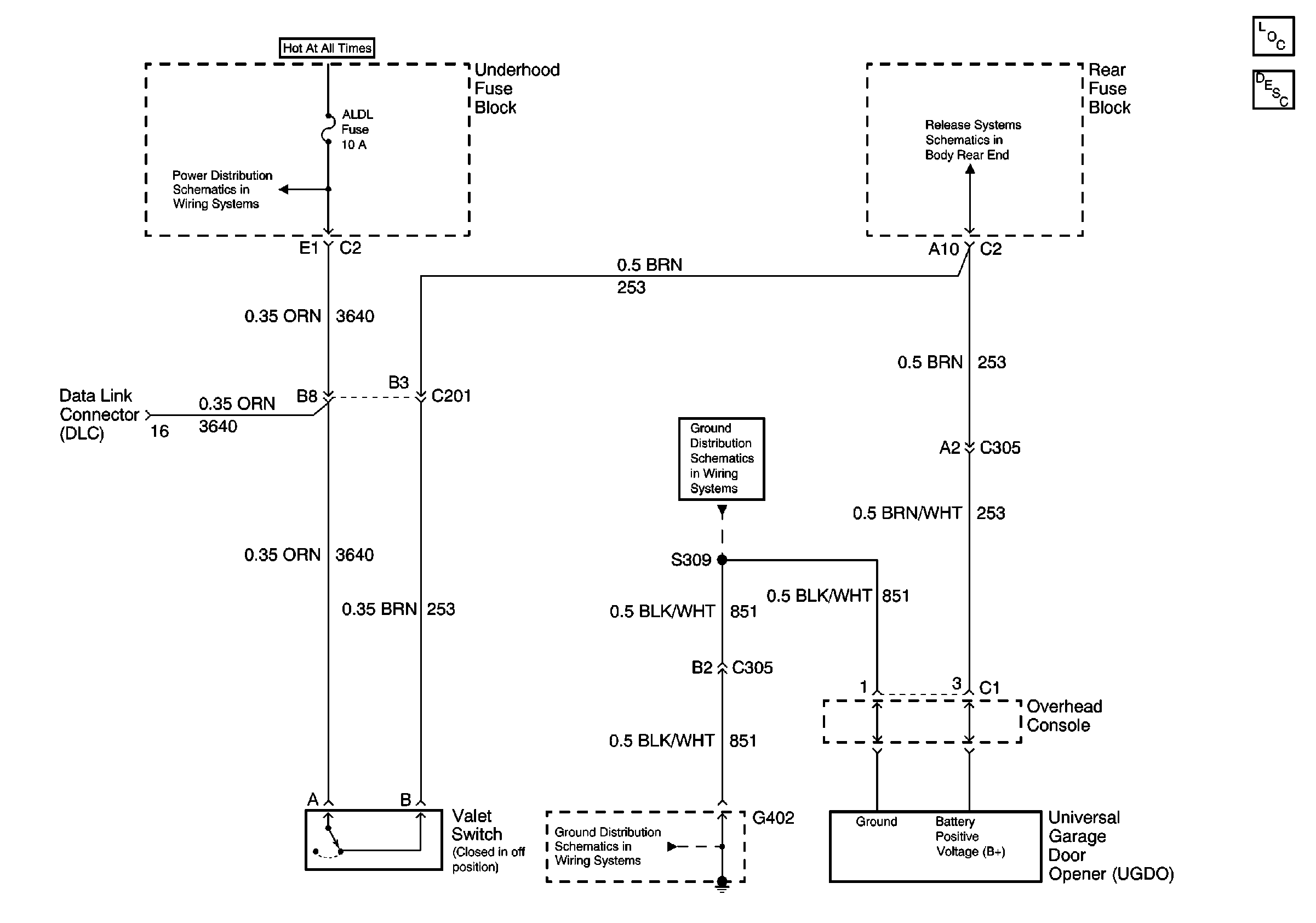
Garage Door Opener
🢒 Garage Door Opener Schematics
Garage Door Opener Components
Garage Door Opener Circuit Description
Rear Compartment Lid Ajar Switch
DRV MDL, PASS MDL, RRDR MDL and DLC Fuses
G402 1 of 2
G402 1 of 2