GM Service Manual Online
For 1990-2009 cars only
Figure 1:

G307


Object Number: 576278  Size: FS
Power and Grounding Components
G106 and G108
Handling ESD Sensitive Parts Notice
Battery Feeds
Figure 2:

G106 and G108


Object Number: 576267  Size: FS
Power and Grounding Components
G106, G110, and G109
G307
Figure 3:

G106, G110, and G109


Object Number: 576271  Size: FS
Handling ESD Sensitive Parts Notice
Handling ESD Sensitive Parts Notice
Power and Grounding Components
G201
G106 and G108
Figure 4:

G201


Object Number: 576283  Size: FS
Power and Grounding Components
G201
Handling ESD Sensitive Parts Notice
G106, G110, and G109
G201
G201 (Partial)
Figure 5:

G201


Object Number: 576441  Size: FS
Power and Grounding Components
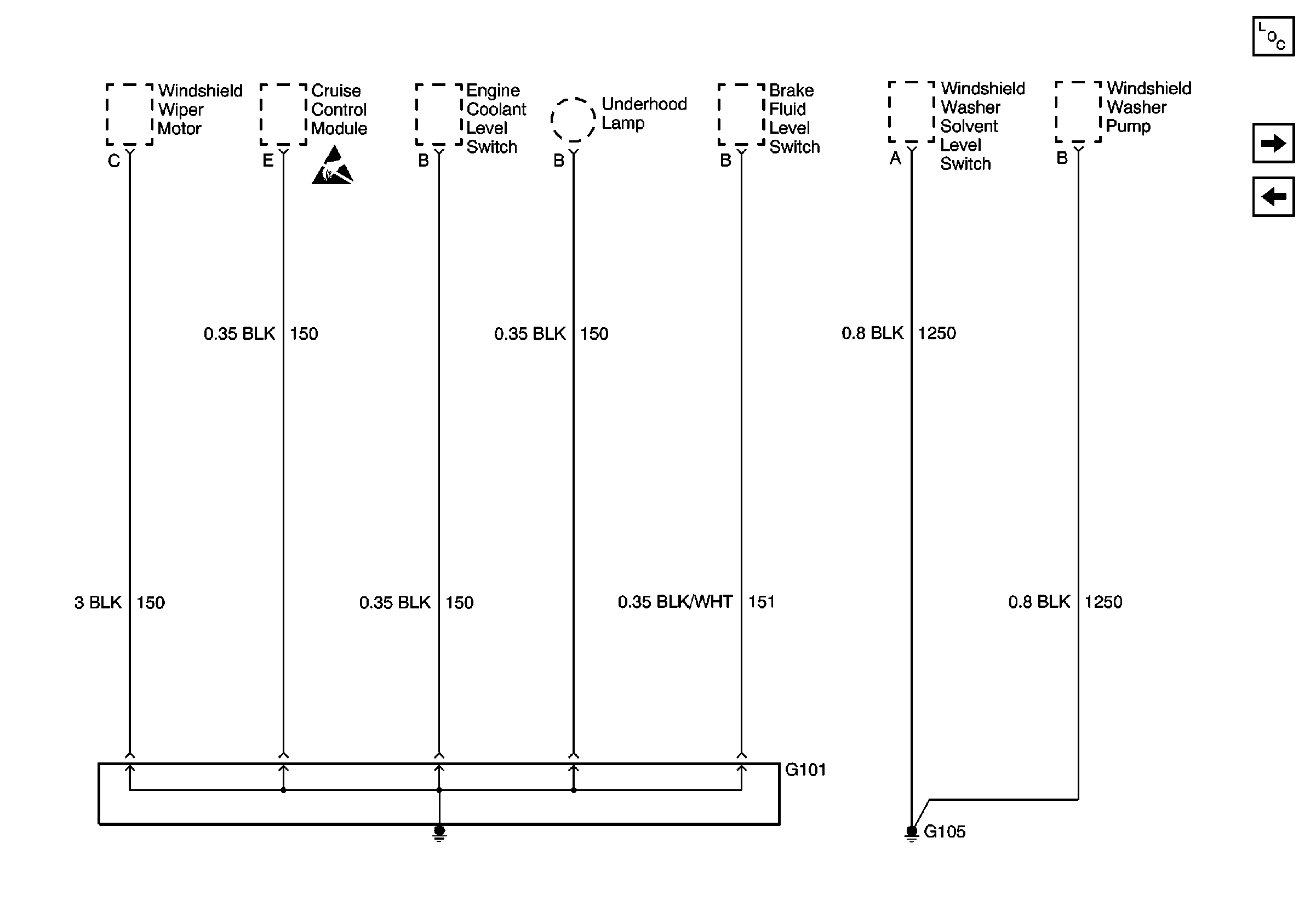
G101 and G105
G201
Handling ESD Sensitive Parts Notice
SIR Handling Caution
G201
Figure 6:

G101 and G105


Object Number: 576415  Size: FS
Power and Grounding Components
G104
G201
Handling ESD Sensitive Parts Notice
Figure 7:

G104


Object Number: 576418  Size: FS
Power and Grounding Components
G200 1 of 2
G101 and G105
Figure 8:

G200 1 of 2


Object Number: 576423  Size: FS
Power and Grounding Components
G200 2 of 2
G104
Handling ESD Sensitive Parts Notice
Handling ESD Sensitive Parts Notice
Handling ESD Sensitive Parts Notice
SIR Handling Caution
G200 2 of 2
Figure 9:

G200 2 of 2


Object Number: 576426  Size: FS
Power and Grounding Components
G200 1 of 2
G200 1 of 2
G201 (Partial)
Figure 10:

G201 (Partial)


Object Number: 576429  Size: FS
Power and Grounding Components
G300
G200 2 of 2
Handling ESD Sensitive Parts Notice
G201
Figure 11:

G300


Object Number: 576289  Size: FS
Power and Grounding Components
G301
G201 (Partial)
Handling ESD Sensitive Parts Notice
Figure 12:

G301


Object Number: 576433  Size: FS
Power and Grounding Components
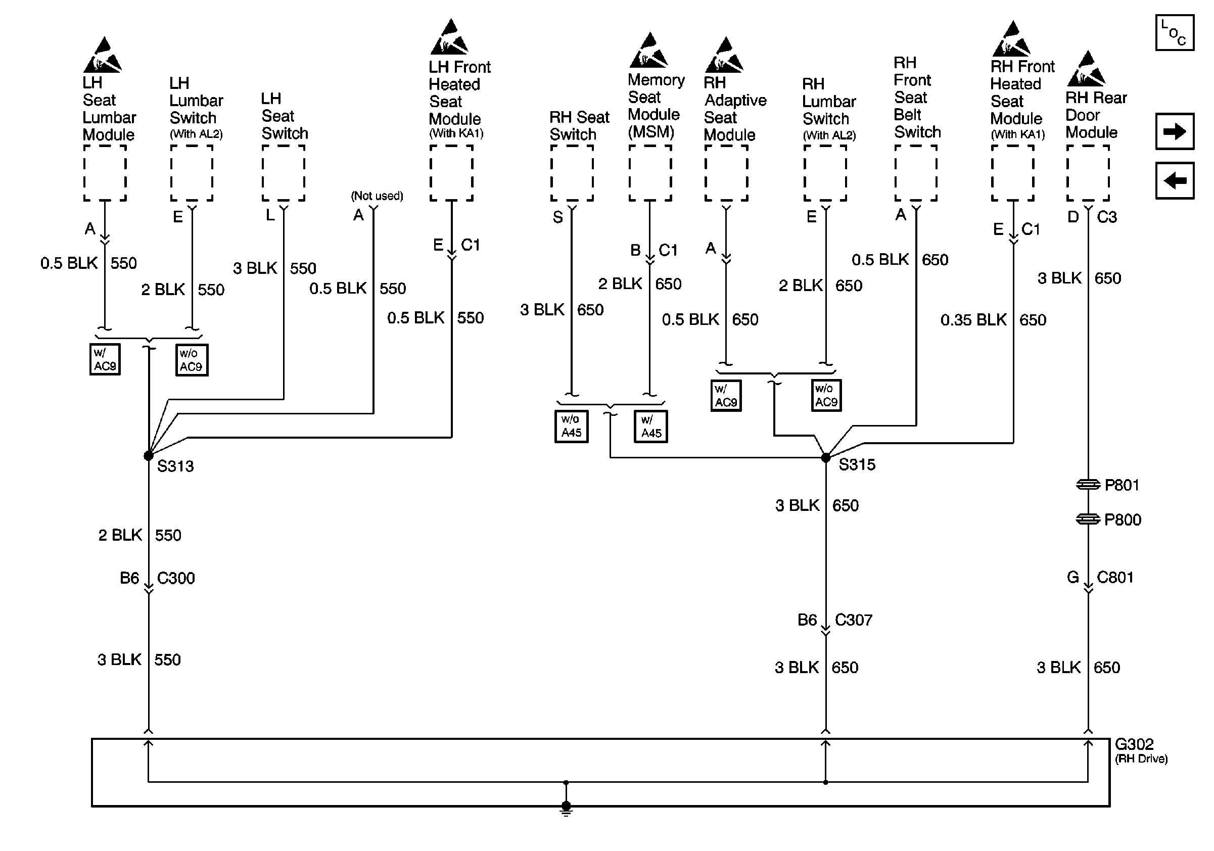
G302 1 of 2
G300
Handling ESD Sensitive Parts Notice
Handling ESD Sensitive Parts Notice
Handling ESD Sensitive Parts Notice
Figure 13:

G302 1 of 2


Object Number: 576435  Size: FS
Power and Grounding Components
G302 2 of 2
G301
Handling ESD Sensitive Parts Notice
Handling ESD Sensitive Parts Notice
Handling ESD Sensitive Parts Notice
Handling ESD Sensitive Parts Notice
Handling ESD Sensitive Parts Notice
Handling ESD Sensitive Parts Notice
Handling ESD Sensitive Parts Notice
Handling ESD Sensitive Parts Notice
Figure 14:

G302 2 of 2


Object Number: 576439  Size: FS
Power and Grounding Components
G306
G302 1 of 2
Handling ESD Sensitive Parts Notice
Handling ESD Sensitive Parts Notice
Handling ESD Sensitive Parts Notice
Handling ESD Sensitive Parts Notice
Handling ESD Sensitive Parts Notice
Handling ESD Sensitive Parts Notice
Figure 15:

G306


Object Number: 576442  Size: FS
Power and Grounding Components
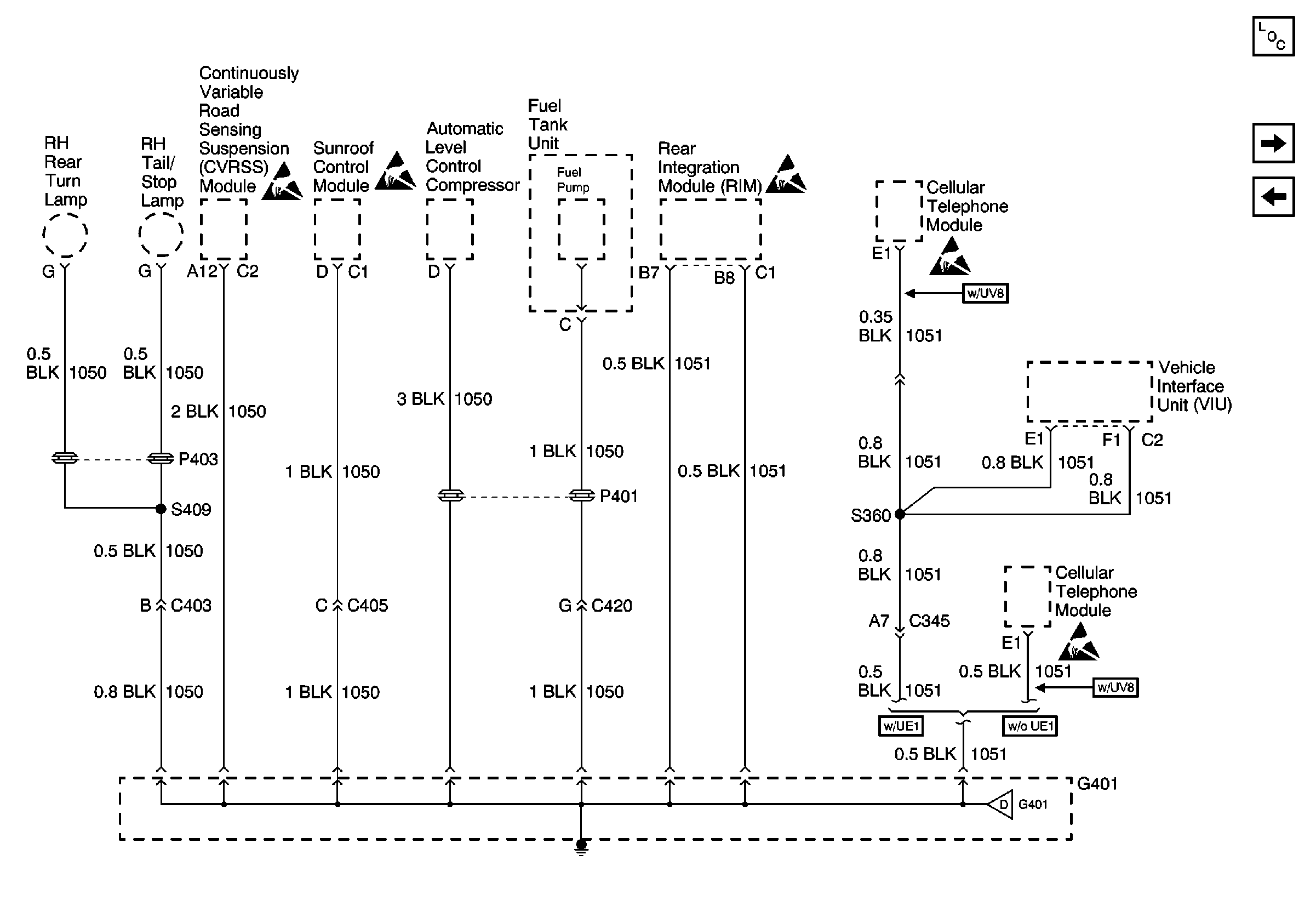
G401 2 of 3
G302 2 of 2
SIR Handling Caution
Handling ESD Sensitive Parts Notice
Figure 16:

G401 1 of 3


Object Number: 618296  Size: FS
Figure 17:

G401 2 of 3


Object Number: 576452  Size: FS
Power and Grounding Components
G401 3 of 3
G306
Handling ESD Sensitive Parts Notice
G401 1 of 3
G401 3 of 3
Figure 18:

G401 3 of 3


Object Number: 576455  Size: FS
Power and Grounding Components
G402 1 of 2
G401 2 of 3
G401 2 of 3
Figure 19:

G402 1 of 2


Object Number: 576458  Size: FS
Power and Grounding Components
G402 2 of 2
G401 3 of 3
Handling ESD Sensitive Parts Notice
G402 2 of 2
Figure 20:

G402 2 of 2


Object Number: 576461  Size: FS
Power and Grounding Components
G402 1 of 2
G402 1 of 2