GM Service Manual Online
For 1990-2009 cars only

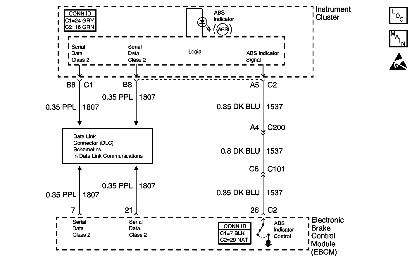
Object Number: 566631  Size: MF
ABS Components
Indicators and Traction Control Switch
Handling ESD Sensitive Parts Notice
Class 2 Serial Data Line (LH Drive)

Circuit Description

The instrument cluster controls the operation of the ABS indicator. The electronic brake control module (EBCM) reports the desired status of the ABS indicator via serial data messages. The ABS indicator signal circuit is a back-up reporting circuit to the serial data messages. The EBCM supplies ground through the circuit when the ABS is operating properly. When there is a problem with ABS that should turn on the ABS indicator, the EBCM opens the ABS indicator signal circuit. If there is a problem with the ABS serial data messages, the instrument cluster uses the ABS indicator signal to determine if the ABS indicator should be illuminated. Using the serial data messages and back-up circuit, the instrument cluster decides whether to turn on the ABS indicator.

Conditions for Running the DTC

The EBCM commands the indicator OFF.

Conditions for Setting the DTC

The ABS indicator signal circuit voltage is greater than 4.5 volts for 2 seconds.

Action Taken When the DTC Sets

    • The ABS remains functional.
    • The ABS indicator remains OFF.

Conditions for Clearing the DTC

    • The condition for the DTC is no longer present and the DTC is cleared with a scan tool.
    • The EBCM automatically clears the history DTC when a current DTC is not detected in 100 consecutive drive cycles.

Diagnostic Aids

A possible cause of this DTC is a short to battery in the ABS indicator signal circuit.

Test Description

The numbers below refer to the step numbers on the diagnostic table.

  1. This test uses the scan tool to check the normal state of the ABS indicator signal circuit.

  2. This test ensures that the instrument cluster can operate the ABS indicator.

Step

Action

Value(s)

Yes

No

1

Did you perform the ABS Diagnostic System Check?

--

Go to Step 2

Go to Diagnostic System Check - ABS

2

With a scan tool, observe the ABS Warning Indicator parameter in the DRP/ABS/TCS data list.

Does the scan tool display Off?

--

Go to Step 3

Go to Step 4

3

  1. Turn OFF the ignition.
  2. Turn ON the ignition, with the engine OFF.
  3. Observe the ABS indicator on the instrument cluster (IPC) during the bulb check.

Does the ABS indicator illuminate during the bulb check?

--

Go to Step 4

Go to Step 6

4

  1. Turn OFF the ignition.
  2. Disconnect the EBCM harness connector
  3. Connect the J 39700 universal pinout box using the J 39700-300 cable adapter to the EBCM harness connector only.
  4. Disconnect the instrument cluster harness connector.
  5. Test the ABS indicator signal circuit for a short to voltage. Refer to Circuit Testing and Wiring Repairs in Wiring Systems.

Did you find and correct the condition?

--

Go to Step 9

Go to Step 5

5

Inspect for poor connections at the harness connector of the EBCM. Refer to Testing for Intermittent Conditions and Poor Connections and Connector Repairs in Wiring Systems.

Did you find and correct the condition?

--

Go to Step 9

Go to Step 7

6

Inspect for poor connections at the harness connector of the instrument cluster (IPC). Refer to Testing for Intermittent Conditions and Poor Connections and Connector Repairs in Wiring Systems.

Did you find and correct the condition?

--

Go to Step 9

Go to Step 8

7

Important: Perform the setup procedure for the EBCM. An unprogrammed EBCM will result in the following conditions:

   • Inoperative or poorly functioning DRP/ABS/TCS/VSES/VES (if equipped)
   • Set DTC C1248 EBCM Turned the Red Brake Warning Indicator On
   • Set DTC C1255m3 EBCM Internal Malfunction

Replace the EBCM. Refer to Electronic Brake Control Module Replacement .

Did you complete the repair?

--

Go to Step 9

--

8

Replace the instrument cluster (IPC). Refer to Instrument Cluster Replacement in Instrument Panel, Gauges and Console.

Did you complete the repair?

--

Go to Step 9

--

9

  1. Use the scan tool in order to clear the DTCs.
  2. Operate the vehicle within the Conditions for Running the DTC as specified in the supporting text.

Does the DTC reset?

--

Go to Step 2

System OK