GM Service Manual Online
For 1990-2009 cars only
Makes
🢒
Cadillac
🢒
2000
🢒
Seville
🢒
Body and Accessories
🢒
Stationary Windows
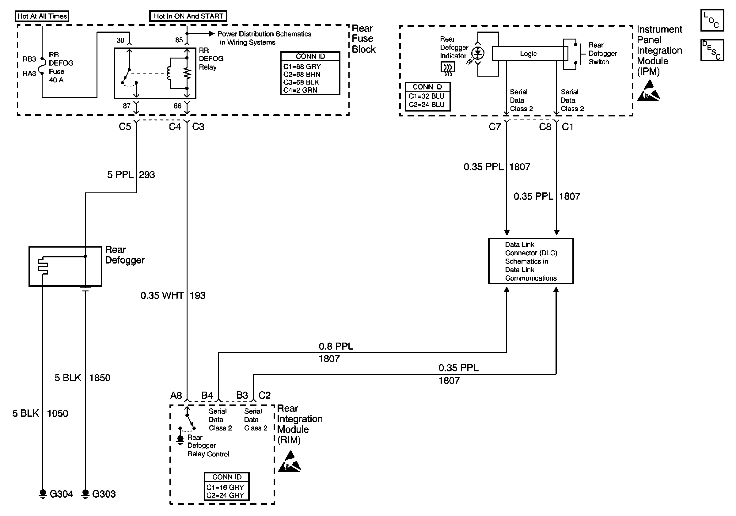
🢒 Defogger Schematics
Stationary Windows Components
Stationary Window Description
RR Blo, RR Defog, PRK BRK, ELC Fuses
Handling ESD Sensitive Parts Notice
Handling ESD Sensitive Parts Notice
Class 2 Serial Data Line (LH Drive)