GM Service Manual Online
For 1990-2009 cars only
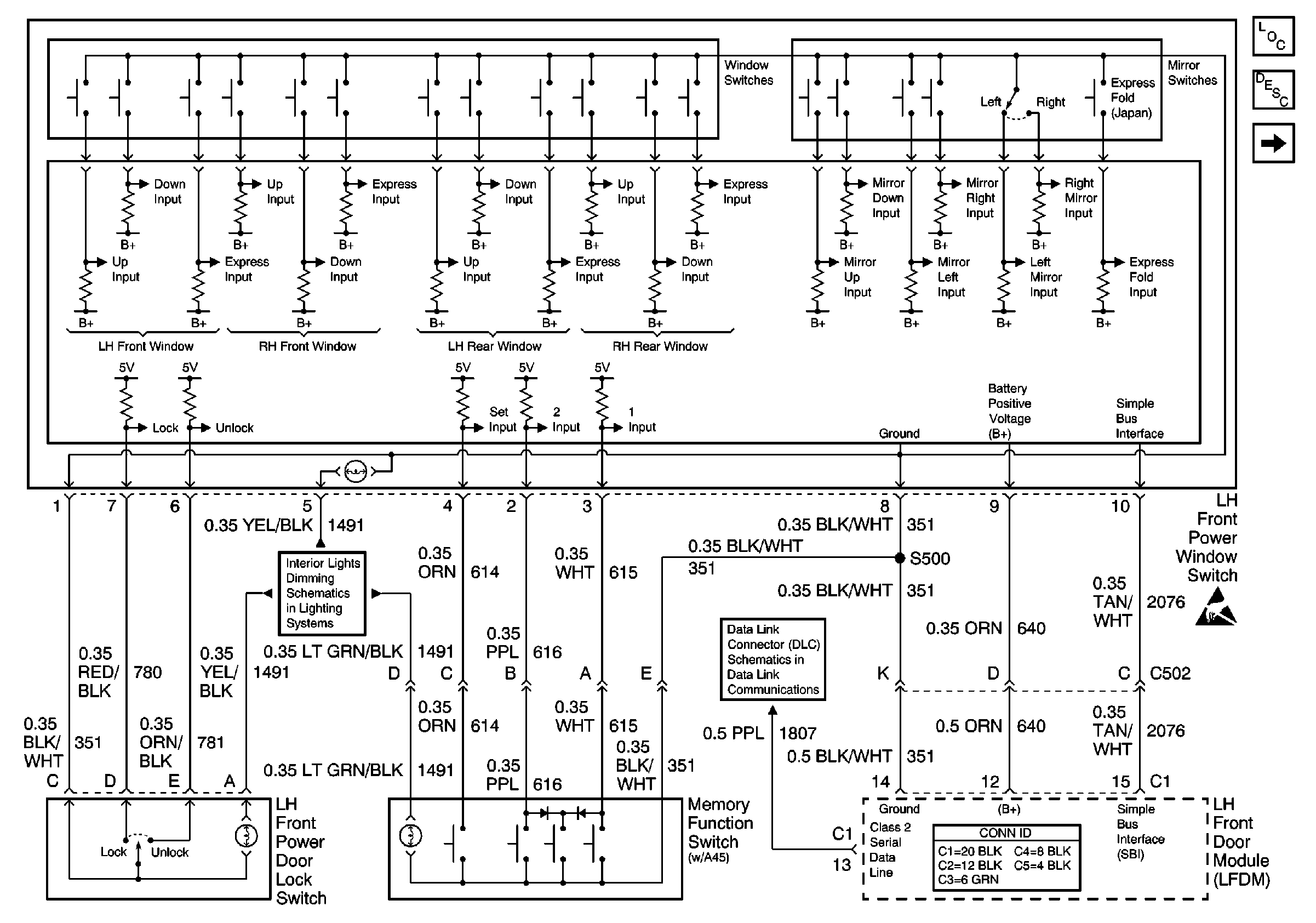
Figure 1:

LH Power Mirror (w/Memory, A45)


Object Number: 623317  Size: FS
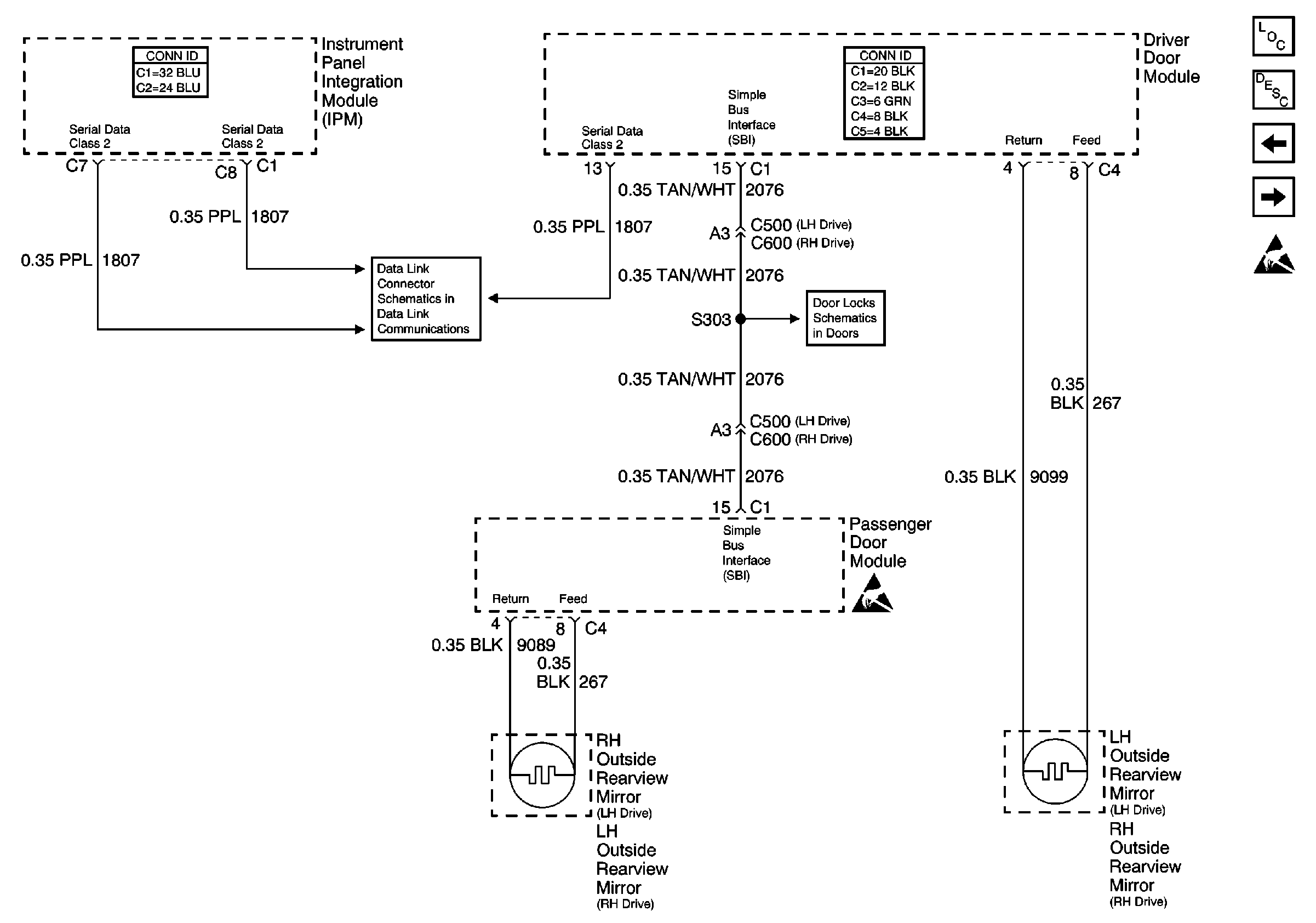
Front Door Dimming
Class 2 Serial Data Line (LH Drive)
LH Power Mirror w/Memory
Figure 2:

LH Power Mirror


Object Number: 623320  Size: FS
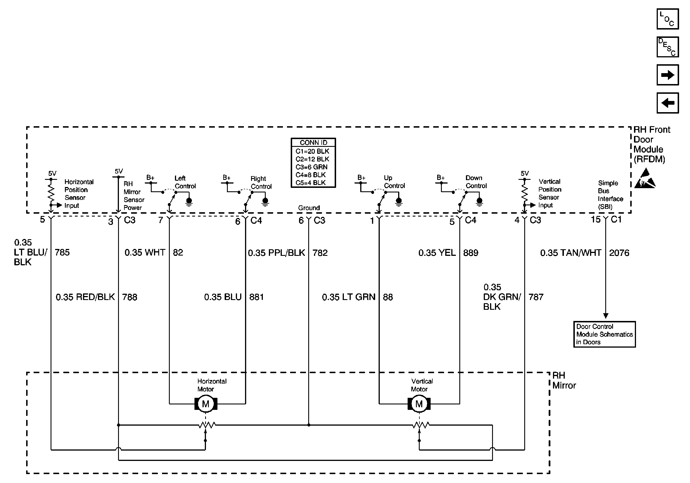
Figure 3:

RH Power Mirror


Object Number: 623321  Size: FS
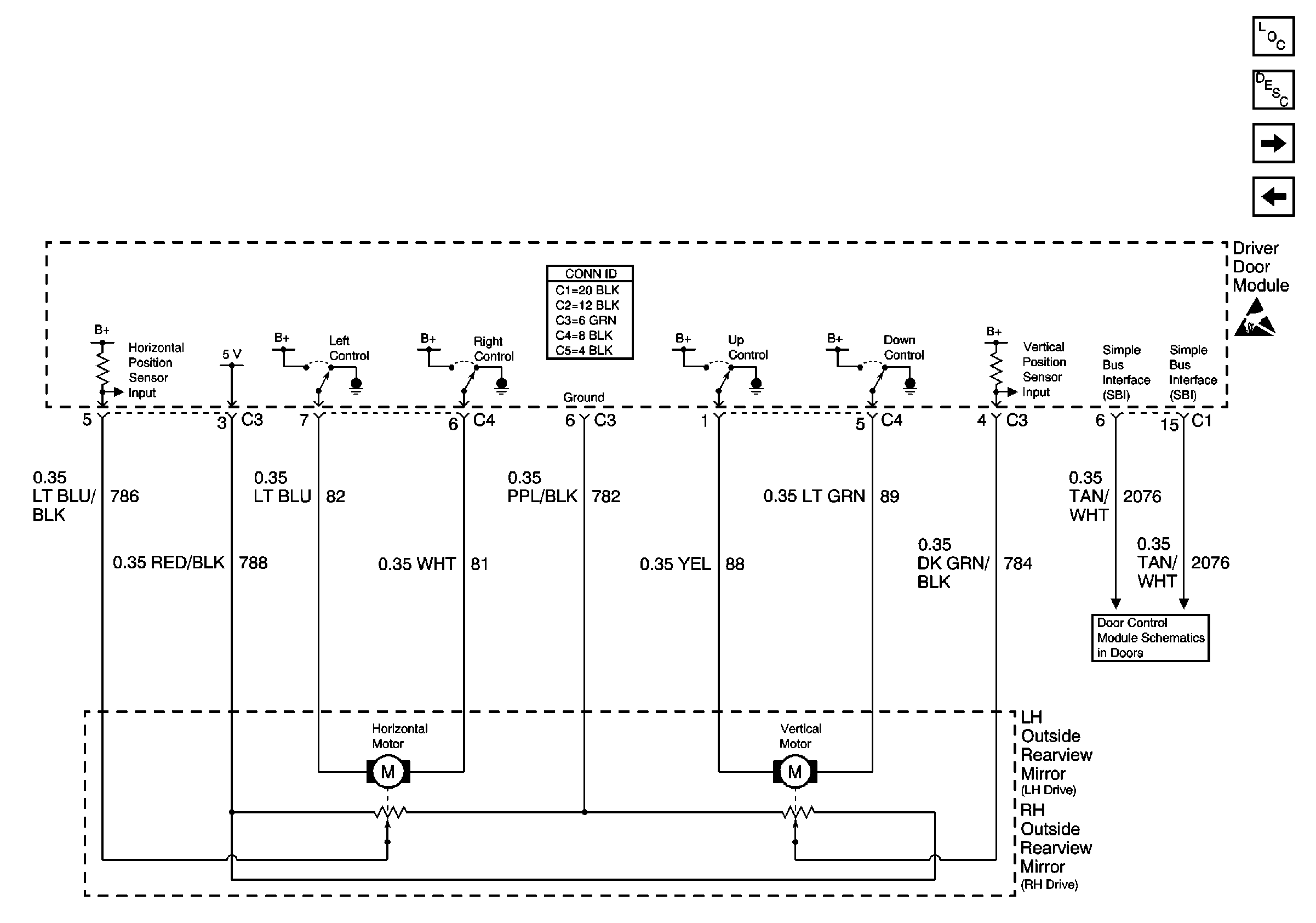
Figure 4:

LH Power Mirror w/Memory


Object Number: 623318  Size: FS
Figure 5:

RH Power Mirror w/Memory


Object Number: 623319  Size: FS
Figure 6:

Heated Mirrors


Object Number: 623322  Size: FS
Figure 7:

Express Folding Mirrors


Object Number: 623323  Size: FS