GM Service Manual Online
For 1990-2009 cars only

Tools Required

J 36796 Clip Zip Clip Removal Tool, or J 38778 Door Trim Pad Clip Remover

Removal Procedure


    Object Number: 105386  Size: SH
  1. Remove the inside handle bezel (2).
  2. Remove the fastener (1).

  3. Object Number: 105387  Size: SH
  4. Lift the flap (1) in pull handle opening.
  5. Remove the two fasteners (2).

  6. Object Number: 105388  Size: SH
  7. Remove the two fasteners (1) from bottom of trim panel.

  8. Object Number: 105389  Size: SH
  9. Using theJ 38778 or J 36796 , release the eight retainers.
  10. Lift upward and outward on the door trim panel.

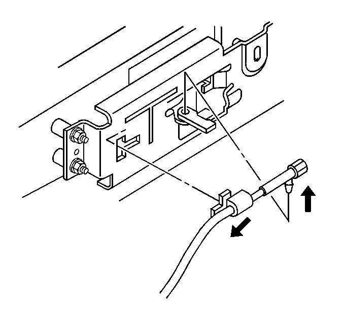
  11. Object Number: 288916  Size: SH
  12. Disconnect the door latch cable from the inside door handle.
  13. 8.1. Pry the tab on the cable outboard while pulling back on the cable.
    8.2. Unhook the collar portion of the clip from the cable attachment.
    8.3. Push upward on the bottom of the cable attachment to disengage the cable from the handle clip.
  14. Disconnect the electrical connectors.
  15. Remove the door trim panel.

Installation Procedure

  1. Partially install the door trim panel.
  2. Connect the electrical connectors.

  3. Object Number: 288916  Size: SH
  4. Connect the door latch cable to the inside door handle.

  5. Object Number: 105388  Size: SH
  6. Raise the trim panel over the lock knob and align the fasteners (1) in the holes in the door assembly.

  7. Object Number: 105389  Size: SH
  8. Secure the trim panel to the door assembly by applying sufficient pressure on the trim panel.
  9. Notice: Refer to Fastener Notice in the Preface section.


    Object Number: 105387  Size: SH
  10. Install the two fasteners (2) under the inside pull handle opening.
  11. Tighten
    Tighten the fasteners to 2 N·m (18 lb in).


    Object Number: 105386  Size: SH
  12. Install the inside trim panel cover fastener (1).
  13. Tighten
    Tighten the fastener to 2 N·m (18 lb in).

  14. Install the trim bezel (2).
  15. Install the two fasteners at the lower portion of the trim panel.
  16. Tighten
    Tighten the two lower fasteners to 0.5 N·m (4 lb in).