GM Service Manual Online
For 1990-2009 cars only

    Object Number: 11873  Size: SH
  1. Rotate the transmission so the bottom is facing up.
  2. Using a pair of pliers, grasp the detent roller end of the detent spring (27). Remove the detent spring (27).
  3. Remove the 13 mm detent roller bolt pivot arm, the sleeve, and the washer (26).
  4. Remove the 15 mm manual shaft nut (18). You must hold the detent lever (17) in place when removing the manual shaft nut (18) in order to prevent damage to the actuator rod (21).
  5. Remove the detent lever (17) and the actuator rod (21)

  6. Object Number: 413026  Size: SH
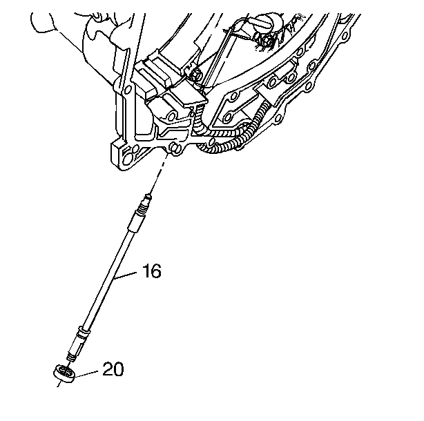
  7. Remove the following parts:
  8. • The manual shaft (16) out through the top of the bell housing
    • The manual shaft seal (20)