GM Service Manual Online
For 1990-2009 cars only

Tools Required

    • J 39055 Forward Clutch Inner Seal Protector
    • J 39056 Coast Clutch Seal Protector
    • J 23327 Clutch Spring Compressor
    • J 28585 Snap Ring Remover

    Object Number: 11883  Size: SH
  1. Using the J 28585 , remove the snap ring (834) from the final drive sun gear shaft.
  2. Remove the parking lock gear (833) and the thrust bearing (832).

  3. Object Number: 11884  Size: SH
  4. Remove the forward and coast clutch support with the low roller clutch assembly (822-830).
  5. Remove the thrust bearing (417).

  6. Object Number: 11885  Size: SH
  7. Lift the forward and coast clutch housing (801) off of the coast clutch hub.
  8. Remove the thrust bearing (718) from the forward coast clutch housing (801).

  9. Object Number: 11886  Size: SH
  10. Separate the input carrier (708) from the input internal gear and flange.

  11. Object Number: 11887  Size: SH
  12. Lift the input carrier assembly (700-708) off of the final drive sun gear shaft (722).
  13. Remove the thrust bearing (710) from the input carrier assembly (700-708).

  14. Object Number: 11888  Size: SH
  15. Remove the snap ring (709) in order to separate the input carrier (700) from the reaction internal gear (708). The thrust bearing will stay inside of the input carrier (700).

  16. Object Number: 11889  Size: SH
  17. Inspect the snap ring (709) for burrs or damage.
  18. Inspect the input carrier (700) pinions for nicked or broken teeth.
  19. Inspect the input carrier internal gear  708) for broken teeth.

  20. Object Number: 11890  Size: SH
  21. With a feeler gauge, measure the input carrier (700) end play. The end play should be within a range of 0.09-0.90 mm (0.003-0.035 in).

  22. Object Number: 11888  Size: SH
  23. Place the input carrier assembly (700) into the reaction internal gear (708).
  24. Install the snap ring (709).

  25. Object Number: 11891  Size: SH
  26. Install the thrust bearing (710) onto the input carrier and reaction internal gear assembly.

  27. Object Number: 11892  Size: SH
  28. Remove the following parts:
  29. • The input internal gear snap ring (717)
    • The coast clutch hub (719)
    • The thrust washer (720)

    Object Number: 11893  Size: SH
  30. Remove the forward sprag outer race (721) and forward sprag from the input internal gear flange (708/725). Remove the thrust washer (713).

  31. Object Number: 11894  Size: SH
  32. Remove the snap ring (709) from the input internal gear (708).
  33. Lift the input internal gear flange (725) from the input internal gear (708).

  34. Object Number: 11895  Size: SH
  35. Inspect the input internal gear flange (725) for broken teeth. Inspect the input internal gear flange bushing.
  36. Inspect the input internal gear (708) for nicked or broken teeth.

  37. Object Number: 11894  Size: SH
  38. Install the input internal gear flange (725) into the input internal gear (708).
  39. Install the input internal gear snap ring (709).

  40. Object Number: 11896  Size: SH
  41. Remove the forward sprag outer race (721).
  42. Disassemble the forward sprag clutch (716).
  43. Inspect the forward sprag (716) for the following:
  44. • Damage or burrs
    • Damage to the inner side of the race

    Important: Oil feed holes in the forward sprag outer race must face the input internal gear.

    Important: The lip on the forward sprag cage must face the input internal gear.

  45. Assemble the forward sprag clutch (716).
  46. Install the forward sprag clutch (716) into the forward sprag outer race (721).

  47. Object Number: 11893  Size: SH
  48. Install the thrust washer (713) onto the input internal gear flange (708/725).
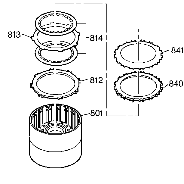
  49. Install the forward sprag and outer race (721) onto the input internal gear flange (708/725).

  50. Object Number: 11897  Size: SH
  51. Check that the forward sprag rotation freewheels in a counterclockwise direction.

  52. Object Number: 11892  Size: SH
  53. Install the thrust washer (720) onto the coast clutch hub (719).
  54. Install the coast clutch hub (719) onto the input internal gear flange (708).
  55. Install the snap ring (717) onto the input internal gear flange (708).

  56. Object Number: 11898  Size: SH
  57. Install the thrust bearing (718) onto the coast clutch hub.

  58. Object Number: 11899  Size: SH
  59. Remove the forward and coast clutch housing snap ring (818).
  60. Remove the forward and coast clutch backing plate (819), and all of the forward clutch fiber (817) and steel (816) plates. Remove the apply plate (840).

  61. Object Number: 11900  Size: SH
  62. Remove the forward and coast clutch belleville plate (841) and backing plate (840).
  63. Remove the coast clutch fiber (814) and steel (813) plates. Remove the apply plate (812).

  64. Object Number: 11901  Size: SH
  65. Using the J 23327 , compress the spring and retainer assembly (820).
  66. Important: Do not overexpand the snap ring.

  67. Remove the snap ring (821).
  68. Remove the J 23327 .
  69. Remove the spring and retainer assembly (820).

  70. Object Number: 11902  Size: SH
  71. Remove the coast clutch piston assembly (810).
  72. Remove the apply ring (811). Remove the forward clutch piston and seals assembly (807).

  73. Object Number: 11906  Size: SH
  74. Inspect the forward and coast clutch housing (801) for the following:
  75. • Feed passages that are plugged
    • Splines that are worn or damaged
    • Checkball for leaks
    • Welds for cracks
    • Bushings for excessive wear

    Object Number: 614319  Size: SH
  76. Inspect the forward clutch piston seals (808, 809) for damage. If the seals are damaged, replace the piston.
  77. Inspect the forward clutch piston for cracks or damage to the seal grooves.

  78. Object Number: 11908  Size: SH
  79. Install the new piston seals onto the forward clutch piston (807). Make sure that the outer seal does not roll backwards.
  80. Using the J 39055 , install the forward clutch piston (807) into the forward and coast clutch housing (801).
  81. Remove the J 39055 .

  82. Object Number: 11909  Size: SH
  83. Inspect the snap ring (821) for damage.
  84. Inspect the spring and retainer assembly (820) for a damaged cage and distorted or missing springs.
  85. Inspect the coast clutch piston assembly (810) for damage.
  86. Inspect the apply ring (811) for damage.

  87. Object Number: 11910  Size: SH
  88. Install the apply ring (811) into the forward and coast clutch housing (801).
  89. Using the J 39056 , install the coast clutch piston assembly into the coast clutch housing. Make sure that the outer seal does not roll backwards.
  90. Remove the J 39056 .

  91. Object Number: 11911  Size: SH
  92. Install the spring and retainer assembly (820) into the forward and coast clutch housing.
  93. Using the J 23327 , compress the spring and retainer assembly (820). Install the snap ring (821).
  94. Remove the J 23327 .

  95. Object Number: 11900  Size: SH
  96. Install the coast clutch apply plate (812) into the forward and coast clutch housing (801).
  97. Install the coast clutch fiber (814) and steel (813) plates.
  98. Install the forward and coast clutch plate (840), and the forward and coast clutch belleville plate (841).

  99. Object Number: 11899  Size: SH
  100. Install the forward and coast clutch plate (840)
  101. Install all of the forward clutch fiber (817) and steel (816) plates.
  102. Install the forward clutch backing plate (819).
  103. Install the snap ring (818).

  104. Object Number: 11912  Size: SH
  105. Install the coast clutch hub with the thrust bearing, the forward sprag race, and the input internal gear and flange into the forward and coast clutch housing.

  106. Object Number: 11913  Size: SH
  107. When the splines on the hubs are properly engaged, the bushing on the input carrier will drop below the forward and coast clutch support hub, producing a dull metal sound. The distance from the top edge of the forward and coast clutch housing to the top edge of the input internal gear is approximately 22 mm (0.886 in).

  108. Object Number: 11914  Size: SH
  109. Install the input carrier and reaction internal gear with the thrust bearing onto the input internal gear.

  110. Object Number: 11915  Size: SH
  111. Remove the low roller clutch assembly (830) from the forward and coast clutch support (822).

  112. Object Number: 11916  Size: SH
  113. Remove the three oil seal rings (829) from the forward and coast clutch support (822).
  114. Remove the cooler return seal (828).

  115. Object Number: 11917  Size: SH
  116. Inspect the forward and coast clutch support (822) for the following:
  117. • Damage to the seal ring grooves
    • Damage to the checkball
    • Damage and wear to the bushing and transfer sleeve

    Object Number: 11916  Size: SH
  118. Install new oil seal rings (829).
  119. Important: Do not press the seal so that the shape of the seal is distorted in the bore.

  120. Install a new cooler return seal (828) with the appropriate socket.

  121. Object Number: 11918  Size: SH
  122. Install the low roller clutch assembly (830) into the forward and coast clutch support (822). Turn the low roller clutch assembly (830) counterclockwise as far as it can go. The tabs on the low roller clutch assembly (830) must rest on the face of the forward and coast clutch support (822).

  123. Object Number: 11919  Size: SH
  124. Install the thrust bearing (417) onto the forward and coast clutch assembly.
  125. Install the forward and coast clutch support and low roller clutch assembly (822/830) onto the forward and coast clutch assembly.

  126. Object Number: 11920  Size: SH
  127. Check the rotation of the low roller clutch assembly. The low roller clutch assembly should freewheel in the counterclockwise direction.

  128. Object Number: 11921  Size: SH
  129. Install the final drive sun gear shaft (722).

  130. Object Number: 11922  Size: SH
  131. Install the thrust bearing (832), the parking lock gear (833), and the snap ring (834) onto the final drive sun gear shaft (722).