GM Service Manual Online
For 1990-2009 cars only
Makes
🢒
Cadillac
🢒
2000
🢒
Seville
🢒
Transmission/Transaxle
🢒
Automatic Transaxle - 4T80-E
🢒 Thrust Bearings Installation
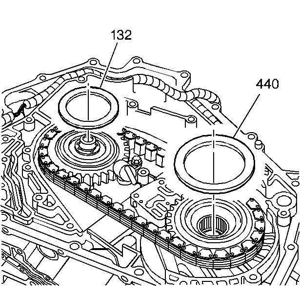
Inspect the drive sprocket thrust bearing (132) and the driven sprocket thrust bearing (440) for damage.
Install the drive and driven sprocket thrust bearings (132, 440) onto the sprockets.