GM Service Manual Online
For 1990-2009 cars only
Makes
🢒
Cadillac
🢒
2000
🢒
Seville
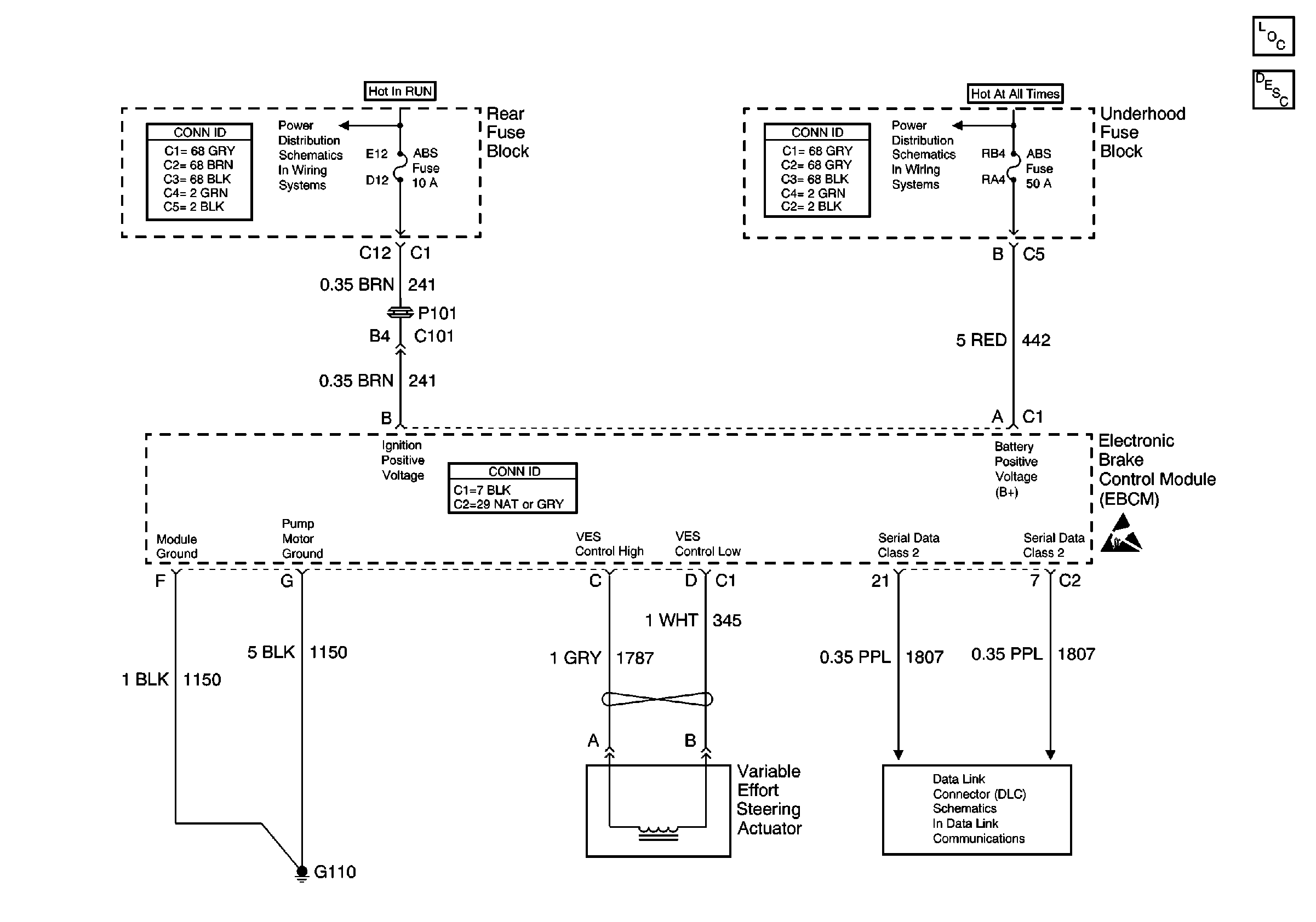
🢒 Variable Effort Steering Schematics
Variable Effort Steering Schematics
Steering Controls Components
Variable Effort Steering Description
Handling ESD Sensitive Parts Notice
Class 2 Serial Data Line (LH Drive)