GM Service Manual Online
For 1990-2009 cars only
Makes
🢒
Cadillac
🢒
2000
🢒
Seville
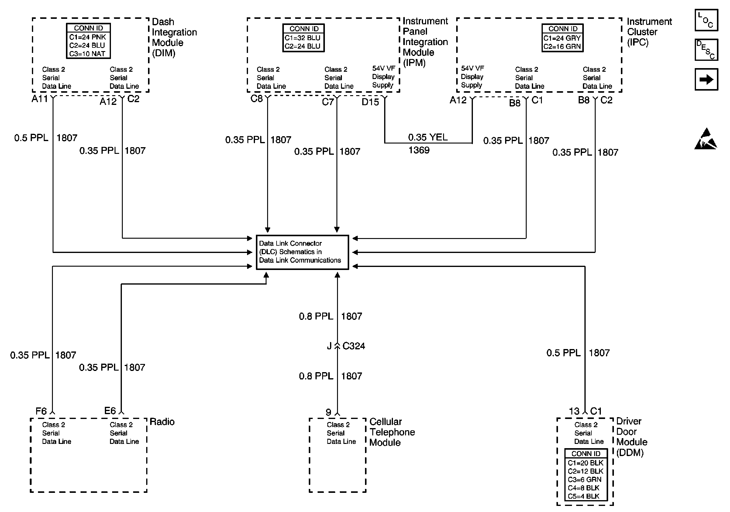
🢒 Class 2 Dimming Communication
Class 2 Dimming Communication
Class 2 Dimming Communication
Lighting Systems Components
Interior Lights Dimming Circuit Description
Dimming Control, IP Dimmer Switch
Handling ESD Sensitive Parts Notice
Class 2 Serial Data Line (LH Drive)