GM Service Manual Online
For 1990-2009 cars only
Makes
🢒
Cadillac
🢒
2000
🢒
Seville
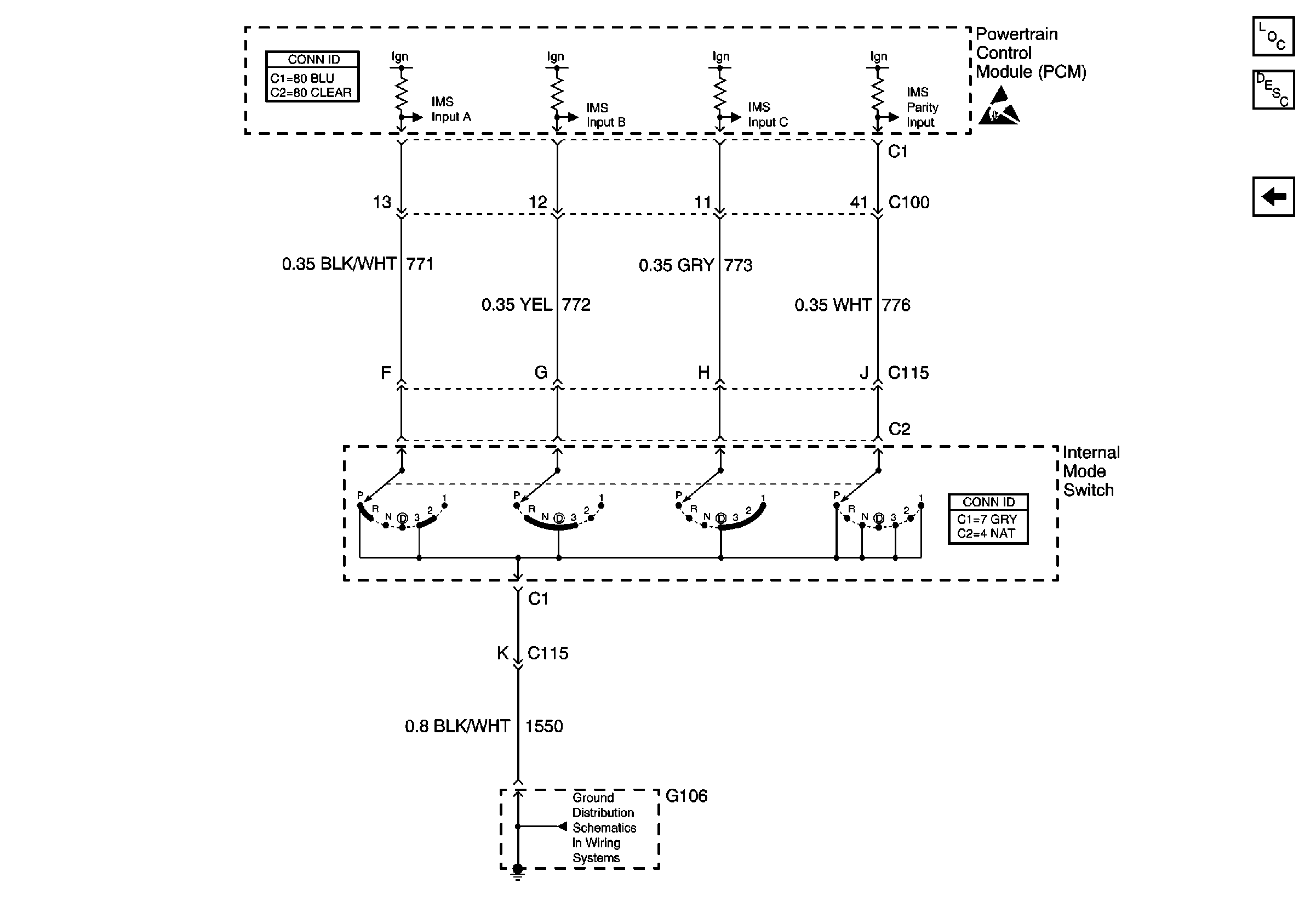
🢒 Park/Neutral Position (PNP) Switch Inputs
Park/Neutral Position (PNP) Switch Inputs
Park/Neutral Position (PNP) Switch Inputs
Tilt Wheel/Column Components
Automatic Transmission Components
Reverse Lockout Actuator Control
Automatic Transmission Shift Lock Control Circuit Description
G106 and G108