GM Service Manual Online
For 1990-2009 cars only
Makes
🢒
Cadillac
🢒
2000
🢒
Seville
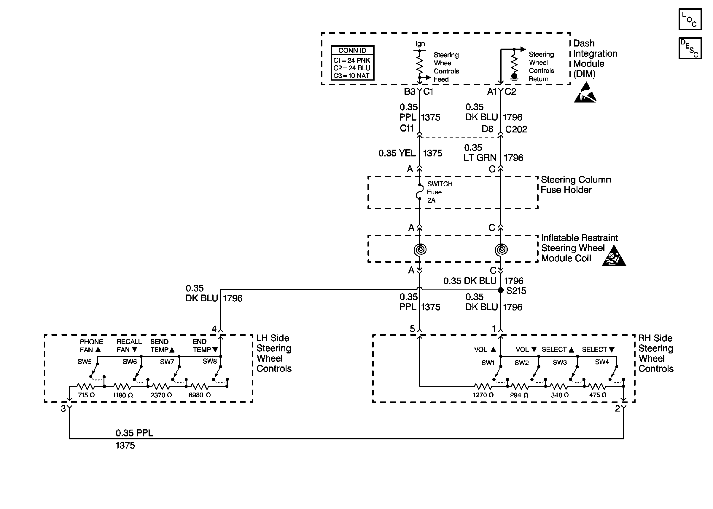
🢒 Steering Wheel Controls Schematics
Steering Wheel Controls Schematics
Entertainment Components
Steering Wheel Controls System Circuit Description