GM Service Manual Online
For 1990-2009 cars only
Makes
🢒
Cadillac
🢒
2000
🢒
Seville
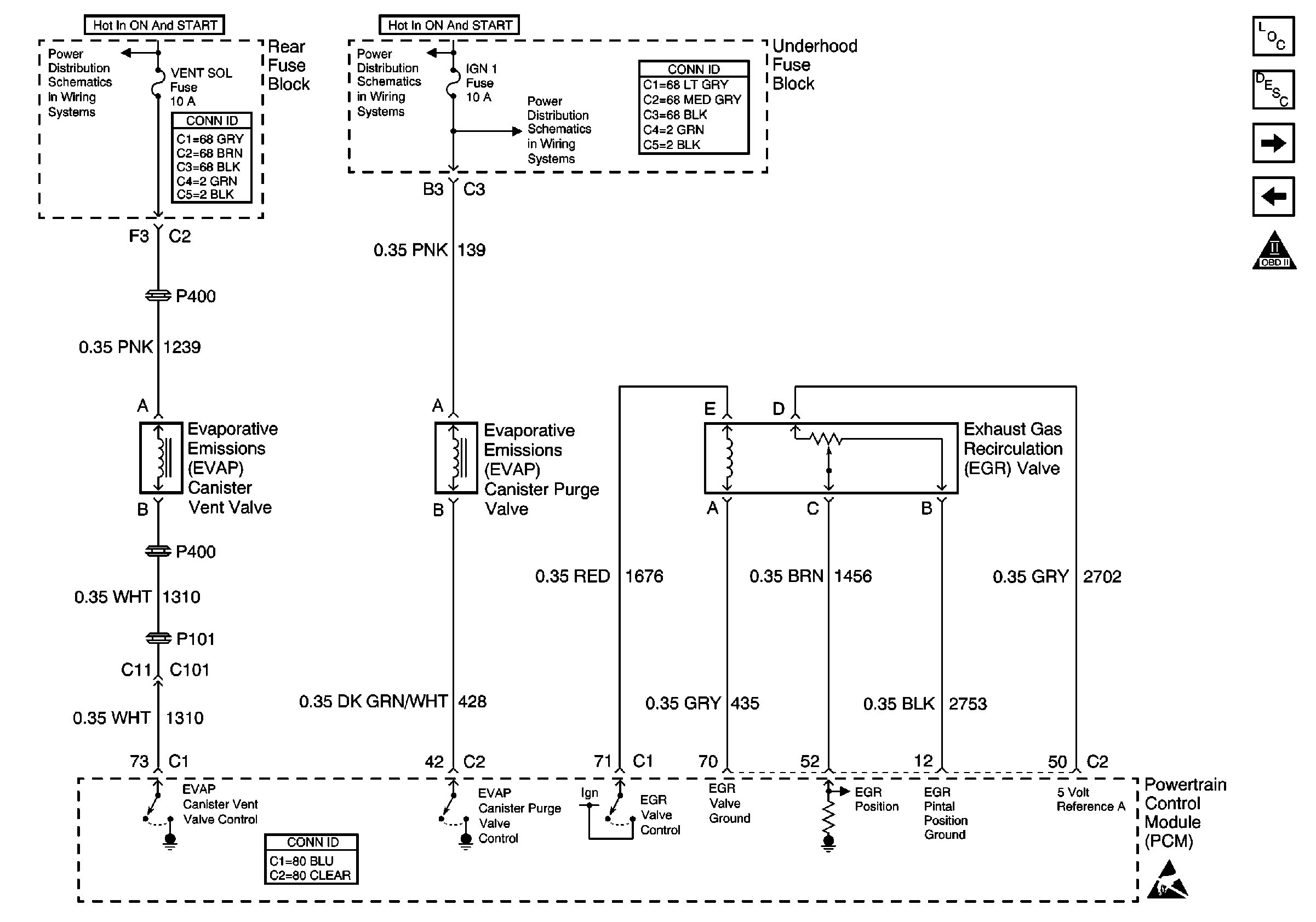
🢒 EVAP and EGR Valve
EVAP and EGR Valve
EVAP and EGR Valve
Engine Controls Components
OBD II Symbol Description Notice
MAF and IAC
HO2S
Handling ESD Sensitive Parts Notice
IGN 1 Relay and SIR, Vent SOL, IGN 1 Fuses
IGN 1 and PCM IGN Fuses
IGN 1 and PCM IGN Fuses
Evaporative Emission Control System