GM Service Manual Online
For 1990-2009 cars only
Makes
🢒
Cadillac
🢒
2000
🢒
Seville
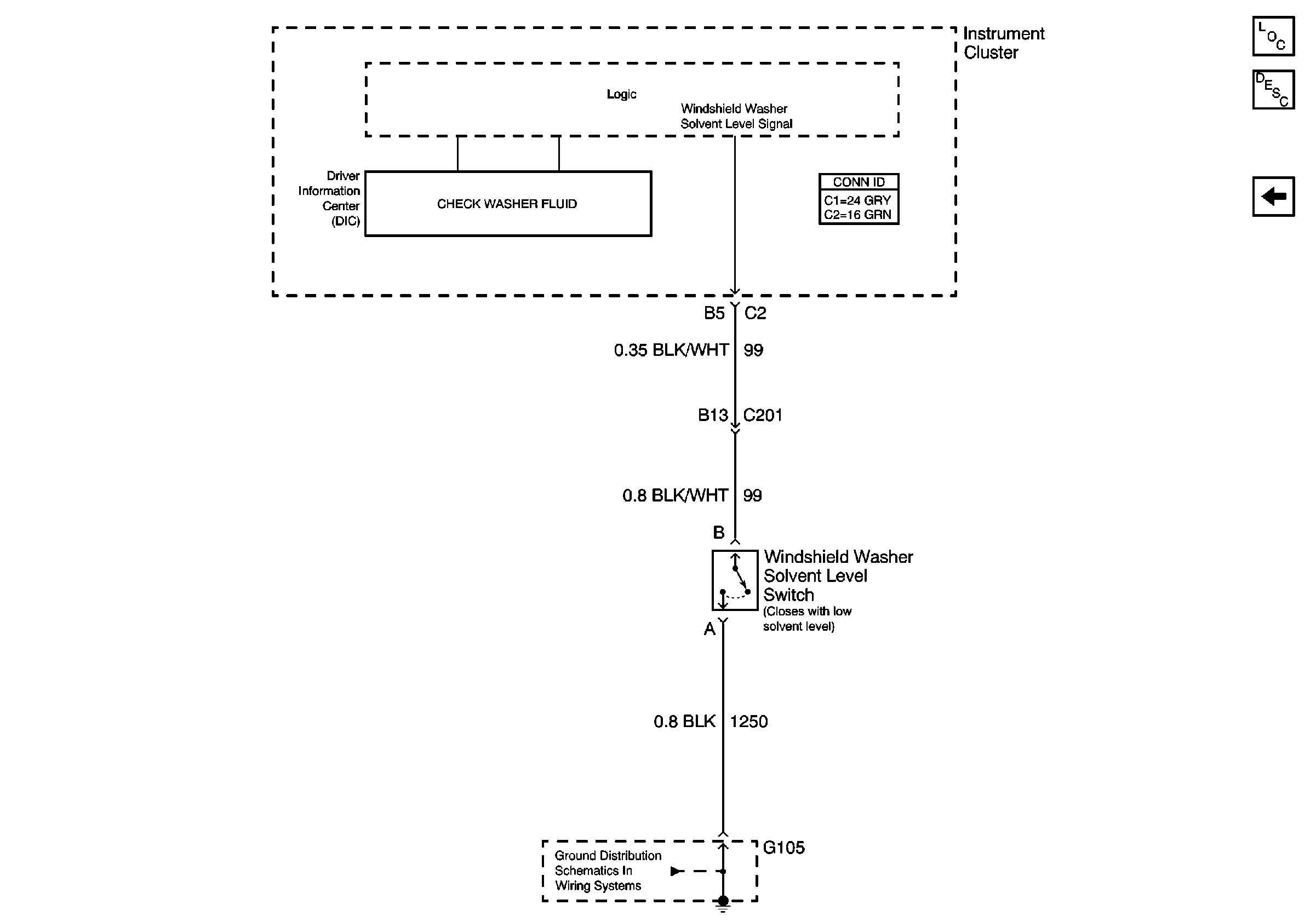
🢒 Washer Solvent Level Switch
Washer Solvent Level Switch
Washer Solvent Level Switch
Wiper/Washer System Components
Wiper/Washer System Circuit Description
Wiper System w/ CE1
G101 and G105