GM Service Manual Online
For 1990-2009 cars only

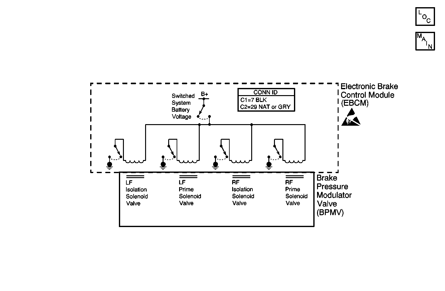
Object Number: 456459  Size: MF
ABS Components
PWR, GND, Stoplamp Switch, Solenoid Valves, and Pump Motor
Handling ESD Sensitive Parts Notice

Circuit Description

The system relay is energized when the ignition is ON. The system relay supplies voltage to the valve solenoids and the pump motor. This voltage is referred to as the system voltage. The electronic brake control module (EBCM) microprocessor activates the valve solenoids by grounding the control circuit.

Conditions for Running the DTC

    • The system voltage is greater than 8 volts.
    • The ignition voltage is greater than 9 volts.

Conditions for Setting the DTC

The commanded state of the driver and the actual state of the control circuit do not match for 0.03 seconds.

Action Taken When the DTC Sets

If equipped, the following actions occur:

    • The EBCM disables the ABS/TCS/VSES/DRP for the duration of the ignition cycle.
    • The ABS indicator turns ON.
    • The TRACTION CONTROL indicator turns ON.
    • The DIC displays the SERVICE STABILITY SYS message.
    • DTC C1248 also sets.
    • The red BRAKE warning indicator turns ON.

Conditions for Clearing the DTC

    • The condition for the DTC is no longer present and the DTC is cleared with a scan tool.
    • The EBCM automatically clears the history DTC when a current DTC is not detected in 100 consecutive drive cycles.

Diagnostic Aids

The solenoid valve circuit is internal to the EBCM. The solenoid valve circuit is not diagnosable external to the EBCM. The DTC sets when there is a malfunction in the solenoid circuit internal to the EBCM.

Test Description

The number below refer to the step number on the diagnostic table.

  1. This step determines whether the DTC is current.

Step

Action

Value(s)

Yes

No

1

Did you perform the ABS Diagnostic System Check?

--

Go to Step 2

Go to Diagnostic System Check - ABS

2

  1. Install a scan tool.
  2. Turn ON the ignition, with the engine OFF.
  3. Use the scan tool in order to clear the DTCs.
  4. With the scan tool, perform the Automated Test.

Does the DTC reset as a current DTC?

--

Go to Step 3

Go to Testing for Intermittent Conditions and Poor Connections in Wiring Systems

3

Important: Perform the setup procedure for the EBCM. An unprogrammed EBCM will result in the following conditions:

   • Inoperative or poorly functioning DRP/ABS/TCS/VSES/VES (if equipped)
   • Set DTC C1248 EBCM Turned the Red Brake Warning Indicator On
   • Set DTC C1255m3 EBCM Internal Malfunction

Replace the EBCM. Refer to Electronic Brake Control Module Replacement .

Did you complete the repair?

--

Go to Step 4

--

4

  1. Use the scan tool in order to clear the DTCs.
  2. With the scan tool, perform the Automated Test.

Does the DTC reset?

--

Go to Step 2

System OK