GM Service Manual Online
For 1990-2009 cars only

Refer to Engine Controls Schematics

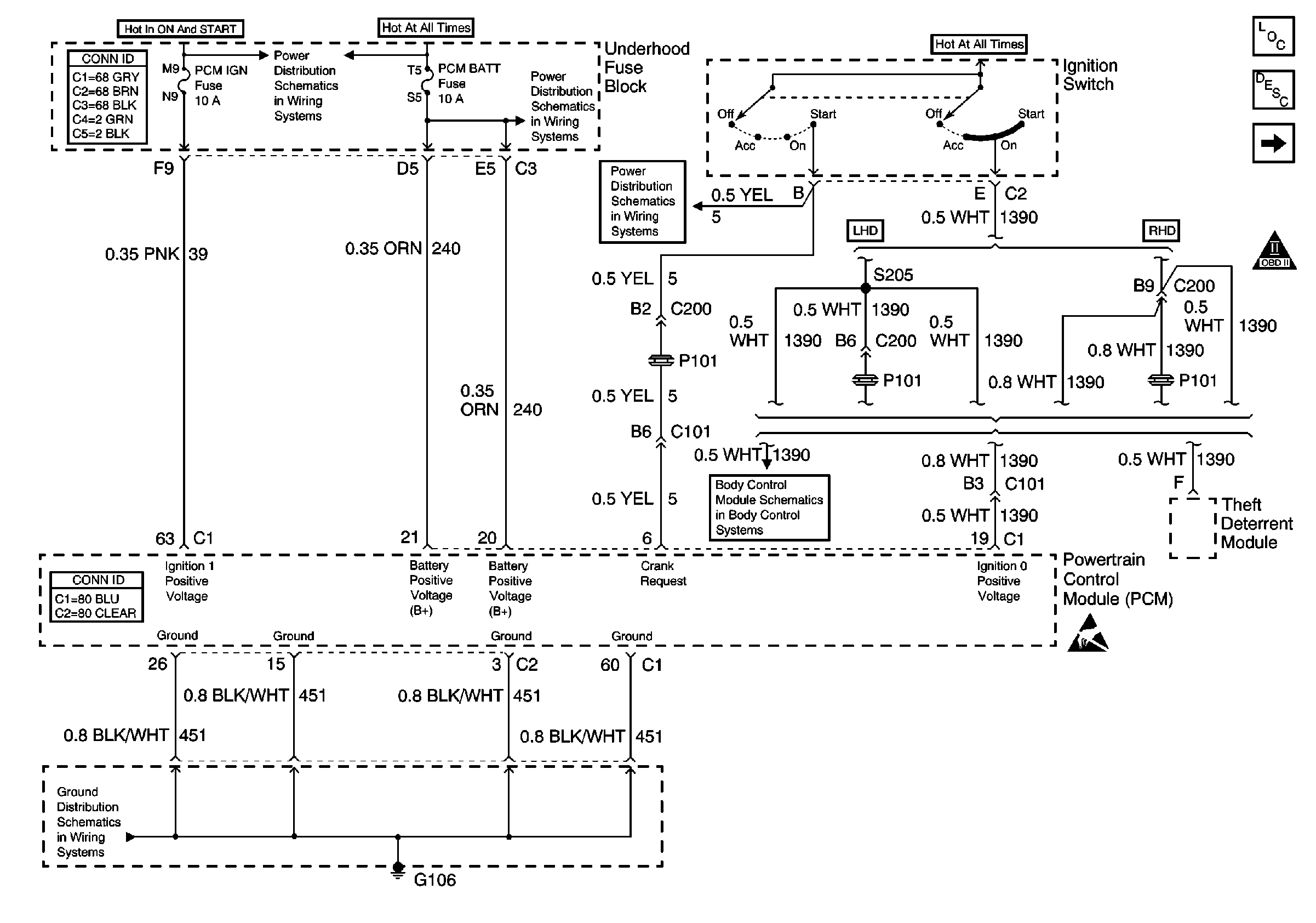
PCM Power and Grounds


Object Number: 576326  Size: FS
Engine Controls Components
OBD II Symbol Description Notice
MIL Control and DLC
PCM BATT, EXPORT BRK, IP, ABS Sol, and ABS MOT Fuses
DIM Ignition Inputs
G106, G110, and G109
Ignition Switch
Powertrain Control Module (PCM)
.

Circuit Description

The PCM receives three ignition inputs from the ignition switch: IGN 0, IGN 1, and CRANK Request. The PCM receives the IGN 0 input with the ignition switch in all positions except OFF. The PCM uses a class 2 ignition mode message, and the voltage input from two separate systems to test the IGN 0 circuit. If the PCM detects an improper IGN 0 input, DTC P1633 will set.

Conditions for Running the DTC

No Class 2 serial data circuit problem.

Conditions for Setting the DTC

The PCM detects an improper IGN 0 input.

Action Taken When the DTC Sets

    • The PCM will not illuminate the malfunction indicator lamp (MIL).
    • The PCM will store conditions which were present when the DTC set as Fail Records information only.

Conditions for Clearing the DTC

    • The history DTC will clear after 40 consecutive warm-up cycles have occurred without a malfunction.
    • The DTC can be cleared by using the scan tool Clear DTC Information function.

Diagnostic Aids

If the condition is intermittent, refer to Intermittent Conditions in Symptoms.

Step

Action

Values

Yes

No

1

Was the Powertrain On-Board Diagnostic (OBD) System Check performed?

--

Go to Step 2

Go to Powertrain On Board Diagnostic (OBD) System Check

2

  1. Install the scan tool.
  2. Observe the Ign 0 display while turning the igntion to ACC, ON, and START.

Does the Ign 0 display indicate ON in each position?

--

Refer to Diagnostic Aids

Go to Step 3

3

Does the Ign 0 display ON for any ignition switch position(s)?

--

Go to Step 8

Go to Step 4

4

  1. Turn OFF the igntion.
  2. Disconnect the PCM connector.
  3. Connect test lamp J 34142-B between the IGN 0 circuit and ground.
  4. Turn ON the ignition with the engine OFF.

Is the test lamp ON?

--

Go to Step 7

Go to Step 5

5

  1. Test for an open IGN 0 circuit.
  2. If the condition is found, repair as necessary. Refer to Wiring Repairs in Wiring Systems.

Did you find and correct the condition?

--

Go to Step 10

Go to Step 6

6

  1. Inspect for poor connections at the ignition switch. Refer to Testing for Intermittent Conditions and Poor Connections in Wiring Systems.
  2. If a problem is found, repair as necessary. Refer to Wiring Repairs in Wiring Systems.

Was a problem found?

--

Go to Step 10

Go to Step 8

7

  1. Inspect for poor connections at the PCM. Refer to Testing for Intermittent Conditions and Poor Connections in Wiring Systems.
  2. If a problem is found, repair as necessary. Refer to Wiring Repairs in Wiring Systems.

Was a problem found?

--

Go to Step 10

Go to Step 9

8

Replace the ignition switch.

Is action complete?

--

Go to Step 10

--

9

Replace the PCM. Refer to Powertrain Control Module Replacement/Programming .

Is action complete?

--

Go to Step 10

--

10

  1. Review and record the scan tool Fail Record data.
  2. Clear the DTCs.
  3. Turn ON the ignition switch with the engine OFF.
  4. Using the scan tool, observe the Specific DTC Information for DTC P1633 until the test runs.

Does the scan tool indicate that DTC P1633 passed?

--

System OK

Go to Step 2