GM Service Manual Online
For 1990-2009 cars only

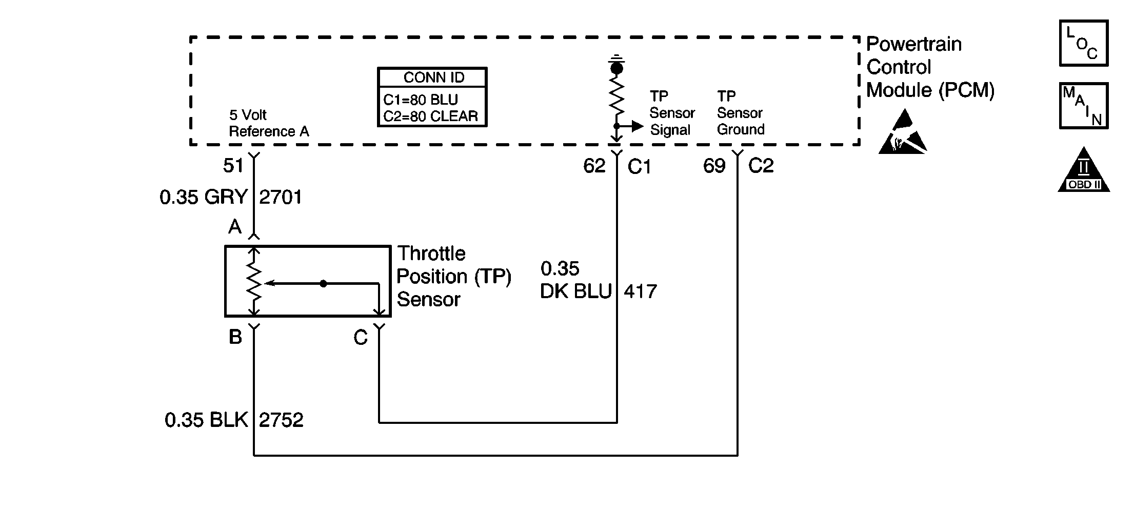
Object Number: 603343  Size: SF
Engine Controls Component Views
Sensors
OBD II Symbol Description Notice
Handling ESD Sensitive Parts Notice

Circuit Description

The throttle position (TP) sensor is potentiometer used to indicate the amount of throttle opening. The PCM supplies the TP sensor with a voltage reference and a ground. The TP sensor provides a signal voltage to the PCM relative to throttle blade angle. With the throttle closed, the PCM should detect a low signal voltage. At wide open throttle, the PCM should detect a high signal voltage. The PCM checks the TP sensor to ensure that the sensor is functioning properly. The PCM predicts a TP sensor value based on MAP, and engine speed. The PCM compares the predicted value to the actual TP sensor input. DTC P0121 will set if the actual TP sensor input does not closely match the predicted value.

Conditions for Running the DTC

    • MAP, IAC or TP sensor DTCs are not failing.
    • The engine is running.
    • ECT is more than 0°C (32°F).
    • IAC valve position is between 10 and 160 counts.
    • MAP is less than 55 kPa to check for a stuck high TP signal.
    • MAP is more than 63 kPa to check for a stuck low TP signal.
    • Traction control inactive
    • Engine over-temp inactive

Conditions for Setting the DTC

The actual TP sensor input does not match the predicted value.

Action Taken When the DTC Sets

    • The PCM will illuminate the malfunction indicator lamp (MIL) the first time the malfunction is detected.
    •  The PCM will store conditions which were present when the DTC set as Freeze Frame and Fail Records data.

Conditions for Clearing the MIL/DTC

    • The PCM will turn the MIL OFF after the third consecutive trip in which the diagnostic has been run and passed.
    • The History DTC will clear after 40 consecutive warm-up cycles have occurred without a malfunction.
    • The DTC can be cleared by using the scan tool Clear DTC Information function.

Diagnostic Aids

If the conditions is intermittent, refer to Intermittent Conditions .

Test Description

The numbers below refer to the step numbers on the diagnostic table.

  1. If DTC P1635 sets at the same time, this indicates that the 5 volt reference circuit is either shorted to a ground or shorted to a voltage. The 5 volt reference circuit is internally connected within the PCM.

  2. The MAP value should change with the engine speed. If a MAP sensor voltage changes, there is no malfunction with the MAP sensor.

  3. This step tests for an intermittent connection at the sensor.

  4. If the TP sensor voltage changes, there is no malfunction with the TP sensor wiring or the PCM.

  5. This tests the 5 volt reference circuit, signal circuit, and the PCM. If the scan tool displayed 5 volts, the TP sensor circuits are OK.

Step

Action

Values

Yes

No

1

Did you perform the Powertrain On Board Diagnostic (OBD) System Check?

--

Go to Step 2

Go to Powertrain On Board Diagnostic (OBD) System Check

2

  1. Install the scan tool.
  2. Idle the engine.
  3. Monitor the DTC Information with a scan tool.

Did P1404 or P1635 or any MAP sensor DTCs also set?

--

Go to Diagnostic Trouble Code (DTC) List/Type

Go to Step 3

3

  1. Start the engine.
  2. Monitor the MAP sensor voltage.
  3. Increase the engine speed to the specified value.

Does the MAP sensor voltage change when the engine speed changed?

2000 RPM

Go to Step 8

Go to Step 4

4

  1. Turn ON the ignition leaving the engine OFF.
  2. Move the MAP sensor electrical connector, the harness and the PCM connectors (by hand only) while observing the scan tool display.

Is the MAP value affected by moving the harness or connectors?

--

Go to Step 16

Go to Step 5

5

  1. Remove the MAP sensor from the intake manifold but leave the electrical harness connected. Refer to Manifold Absolute Pressure Sensor Replacement .
  2. Connect a hand operated vacuum pump to the MAP sensor.
  3. Observe and/or record the MAP display while slowly applying vacuum up to 20 inches Hg as indicated on the pump gauge. Each 1 inch of vacuum applied should result in a 3 to 4 kPa drop in the MAP sensor value on the scan tool and the value should change smoothly with each increase in vacuum.

Did the MAP value change smoothly through the entire range of the test without any erratic readings?

--

Go to Step 6

Go to Step 17

6

Apply 20 inches Hg vacuum to the MAP sensor.

Is the MAP sensor reading the same or less than the specified value?

34  kPa

Go to Step 7

Go to Step 17

7

Disconnect the vacuum source from the MAP sensor.

Does the MAP sensor reading return to the original value that you observed in step 5?

--

Go to Step 8

Go to Step 17

8

  1. Turn ON the ignition, with the engine OFF.
  2. Monitor the TP sensor voltage while moving the accelerator pedal from a closed throttle to a wide open throttle.

Does the TP sensor voltage go from below the specified value to above the specified value?

Below 1.0V to above 4.0V

Go to Step 9

Go to Step 10

9

  1. Turn ON the ignition leaving the engine OFF.
  2. Review the Freeze Frame and/or Failure Records data for this DTC and record the parameters.
  3. Turn OFF the ignition for 15 seconds.
  4. Re-install the MAP sensor and any other disconnected components.
  5. Start the engine.
  6. Operate the vehicle within the conditions required for this diagnostic to run, and as close to the conditions recorded in Freeze Frame/Failure Records as possible.
  7. Monitor the Diagnostic Trouble Code (DTC) information with the scan tool.

Does the scan tool indicate that this diagnostic failed this ignition?

--

Go to Step 10

Go to Diagnostic Aids

10

  1. Disconnect the TP sensor.
  2. Observe the TP sensor display on the scan tool.

Is the TP sensor voltage near the specified value?

0.0V

Go to Step 11

Go to Step 13

11

Jumper the TP sensor 5 volt reference circuit to the TP sensor signal circuit using a fused jumper wire.

Is the TP sensor voltage near the specified value?

5V

Go to Step 12

Go to Step 14

12

Replace the TP sensor. Refer to Throttle Position Sensor Replacement .

Is the action complete?

--

Go to Step 18

--

13

  1. Test for the following conditions:
  2. • TP signal circuit for a short to voltage.
    • TP sensor ground circuit for high resistance between the PCM and the TP sensor.
    • TP sensor ground circuit for a poor connection.
  3. If you find a condition repair as necessary. Refer to Wiring Repairs in Wiring Systems.

Did you find and correct the condition?

--

Go to Step 18

Go to Step 15

14

    • Test for the following conditions:
      • TP signal circuit or 5 volt reference circuit for a poor connection. Refer to Testing for Intermittent Conditions and Poor Connections in Wiring Systems.
      • TP signal circuit or 5 volt reference circuit for high resistance between the PCM and the TP sensor.
    • If you find a condition, repair as necessary. Refer to Wiring Repairs in Wiring Systems.

Did you find and correct the condition?

--

Go to Step 18

Go to Step 15

15

Important: Program the replacement PCM.

Replace the PCM. Refer to Powertrain Control Module Replacement/Programming .

Is the action complete?

--

Go to Step 18

--

16

Locate and repair the affected circuits. Refer to Wiring Repairs in Wiring Systems.

Is the action complete?

--

Go to Step 18

--

17

Replace the MAP sensor. Refer to Manifold Absolute Pressure Sensor Replacement .

Is the action complete?

--

Go to Step 18

--

18

  1. Monitor the Diagnostic Trouble Code (DTC) information with the scan tool.
  2. Operate the vehicle within the Conditions for Running the DTC as specified in the supporting text, if applicable.

Does the scan tool indicate that this test ran and passed?

--

Go to Step 19

Go to Step 2

19

Select the Capture Info option and the Review Info using the scan tool.

Does the scan tool display any DTCs that you have not diagnosed?

--

Go to Diagnostic Trouble Code (DTC) List/Type

System OK