GM Service Manual Online
For 1990-2009 cars only

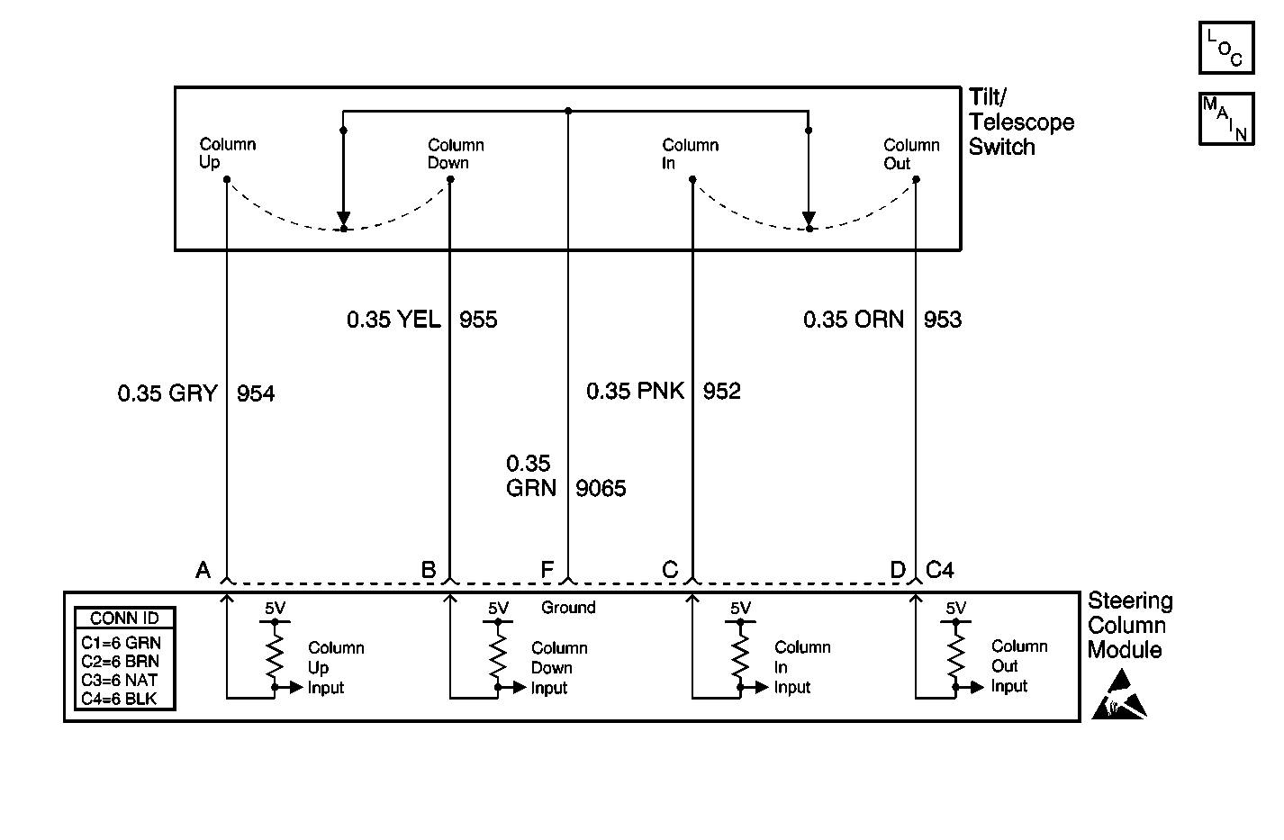
Object Number: 591648  Size: MF
Tilt Wheel/Column Components
Tilt/Telescoping Steering Column
Handling ESD Sensitive Parts Notice

Circuit Description

The steering column module receives ground inputs from contacts inside the tilt/telescoping switch. The steering column module then supplies battery voltage to the tilt motor UP or DOWN circuit, or, the telescope motor IN or OUT circuit depending on which direction of movement is requested. Both motors are reversible and the circuits are simply reversed to accomplish movement in opposite directions.

Conditions for Running the DTC

The steering column module is awake.

Conditions for Setting the DTC

This DTC will set as current when the steering column module detects two simultaneous tilt/telescoping switch inputs for more than 2 seconds.

Action Taken When the DTC Sets

The steering column module no longer moves the steering column in the direction of the invalid tilt/telescoping switch inputs.

Conditions for Clearing the DTC

    • This DTC will clear from current status when the steering column module no longer detects two simultaneous tilt/telescoping switch inputs for more than 2 seconds.
    • Use the ON-Board clearing DTCs feature.
    • Use a scan tool.

Diagnostic Aids

An intermittently stuck switch can cause this DTC to set. Refer to Testing for Intermittent Conditions and Poor Connections in Wiring Systems.

Step

Action

Value(s)

Yes

No

1

Did you perform the Tilt/Telescoping Steering Column Diagnostic System Check?

--

Go to Step 2

Go to Tilt/Telescoping Steering Column Diagnostic System Check

2

  1. Install a scan tool
  2. Turn ON the ignition, with the engine OFF.
  3. Using the scan tool, observe the Current Diagnostic Trouble Code(s) list in the DTC Information list.

Is DTC B2175 displayed as current?

--

Go to Step 3

Go to Diagnostic Aids

3

  1. Turn OFF the Ignition.
  2. Disconnect the tilt/telescoping switch harness connector.
  3. Turn ON the ignition, with the engine OFF.
  4. Using the scan tool, observe the Current DTC(s) list in the DTC Information list.

Is DTC B2175 displayed as current?

--

Go to Step 4

Go to Step 5

4

Inspect for poor connections at the harness connector of the tilt/telescoping steering column switch.

Refer to Testing for Intermittent Conditions and Poor Connections and Connector Repairs in Wiring Systems.

Did you find and correct the condition?

--

Go to Step 7

Go to Step 6

5

Important:: Perform the set up procedure for the steering column module.

Replace the tilt/telescoping steering column switch. Refer to Steering Column Tilt Wheel and Telescope Switch Replacement .

Did you complete the replacement?

--

Go to Step 7

--

6

Important:: Perform the set up procedure for the steering column module.

Replace the steering column module. Refer to Steering Column Control Module Replacement .

Did you complete the replacement?

--

Go to Step 7

--

7

  1. Use the scan tool in order to clear the DTCs.
  2. Operate the vehicle within the Conditions for Running the DTC as specified in the supporting text.

Does the DTC reset?

--

Go to Step 2

System OK