GM Service Manual Online
For 1990-2009 cars only

Cleaning Procedure

    Important: Do not reuse the intake manifold-to-cylinder head sealing gaskets.

  1. Remove any remaining gasket and/or gasket material from the intake manifold.
  2. Clean the following intake manifold areas in solvent.
  3. • Intake manifold gasket grooves
    • Intake manifold passages
    • PCV vacuum hose passage
    • Vacuum hose fitting passage

    Caution: Wear safety glasses in order to avoid eye damage.

  4. Dry the intake manifold with compressed air.

Inspection Procedure


    Object Number: 682826  Size: SH
  1. Inspect the intake manifold for the following conditions:
  2. • Damage to the fuel rail mounting inserts (1)
    • Damage to the studs (2)

    Object Number: 682827  Size: SH
  3. Inspect the intake manifold for the following conditions:
  4. • Damage to the intake manifold bolt bosses (1)
    • Damage or cracks to the composite intake manifold assembly (2)
    • Damage in areas between the intake runners (3)

    Object Number: 682828  Size: SH
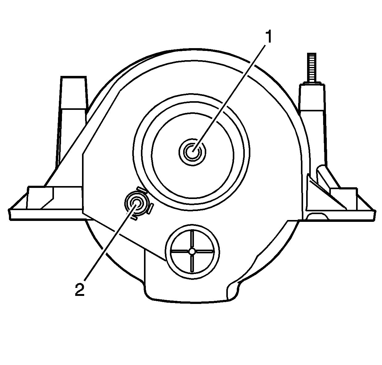
  5. Inspect the intake manifold for the following conditions:
  6. • Damage to the pressure relief valve mounting bosses (1)
    • Damage, debris or restrictions to the pressure relief valve port (2)
    • Damage to the pressure relief valve components (3)

    Object Number: 682829  Size: SH
  7. Inspect the intake manifold for the following conditions:
  8. • Damage, gouges or cracks to the intake manifold sealing surfaces and grooves (1)
    • Damage or excessive scoring to the fuel injector bores (2)

    Object Number: 682830  Size: SH
  9. Inspect the front of the intake manifold for the following conditions:
  10. • Damage, debris or restrictions to the intake manifold passage (1)
    • Damage to the plenum duct neck (2)

    Object Number: 682831  Size: SH
  11. Inspect the intake manifold for the following conditions:
  12. • Damage, debris or restrictions to the PCV system hose port (1)
    • Damage, debris or restrictions to the vacuum port (2)
  13. Inspect the intake manifold cylinder head deck for warpage.
  14. 7.1. Locate a straight edge across the intake manifold cylinder head deck surface.
    7.2. Insert a feeler gage between the intake manifold and the straight edge. An intake manifold with warpage in excess of 0.25 mm per 25 mm (0.010 in per 1.00 in) must be replaced.
  15. Repair or replace the intake manifold as necessary.