GM Service Manual Online
For 1990-2009 cars only

Removal Procedure

  1. Open the rear compartment lid.
  2. Remove the rear compartment lid trim. Refer to Rear Compartment Lid Inner Panel Trim Replacement in Body Rear End.
  3. Remove the backup lamp. Refer to Backup Lamp Replacement .

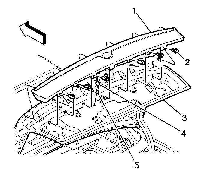
  4. Object Number: 105284  Size: SH
  5. Disconnect the high mounted stop lamp connector (5) from the wiring harness.
  6. Press the grommet (4) through the opening in order to remove the wiring harness from the rear compartment lid (3).
  7. Remove the fasteners (2) securing the high mounted stop lamp panel (1) to the rear compartment lid (3).
  8. Pull the high mounted stop lamp panel (1) downward in order to disengage the panel from the rear compartment lid (3).
  9. Remove the high mounted stop lamp panel (1) and place it face down on a clean protective surface.

  10. Object Number: 105082  Size: SH
  11. Remove the fasteners (1) securing the high mounted stop lamp (2) to the filler panel (3).

Installation Procedure


    Object Number: 105082  Size: SH

    Notice: Use the correct fastener in the correct location. Replacement fasteners must be the correct part number for that application. Fasteners requiring replacement or fasteners requiring the use of thread locking compound or sealant are identified in the service procedure. Do not use paints, lubricants, or corrosion inhibitors on fasteners or fastener joint surfaces unless specified. These coatings affect fastener torque and joint clamping force and may damage the fastener. Use the correct tightening sequence and specifications when installing fasteners in order to avoid damage to parts and systems.

  1. Install the fasteners (1) in order to secure the high mounted stop lamp (2) to the filler panel (3).
  2. Tighten
    Tighten the high mounted stop lamp fasteners to 2 N·m (18 lb in).


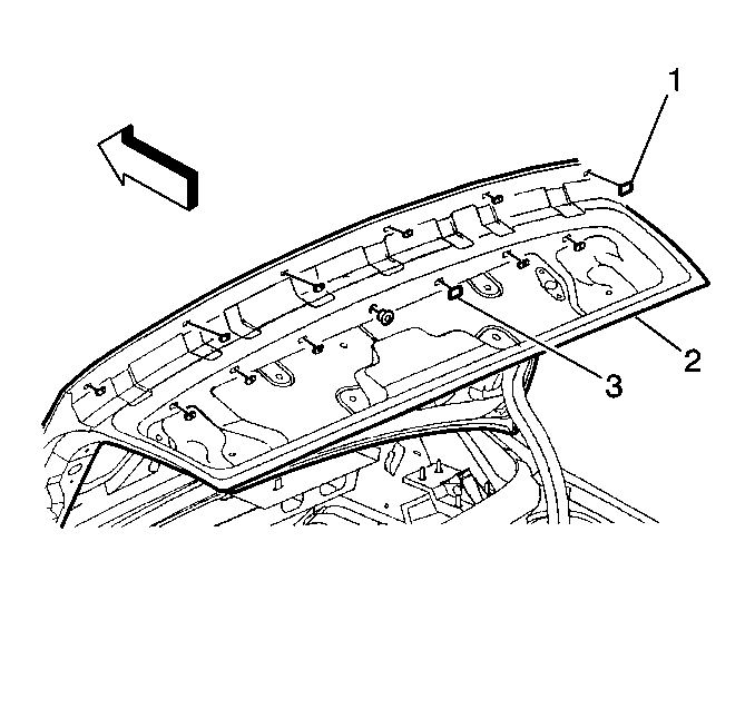
    Object Number: 106475  Size: SH
  3. Inspect the rear compartment lid (2) to ensure that the upper retainers (1) and the lower retainers (3) are present. If the retainers are damaged they should be replaced.

  4. Object Number: 105284  Size: SH
  5. Position the high mounted stop lamp panel (1) in order to allow the high mounted stop lamp connector (5) and the grommet (4) to pass through the rear compartment lid  (3).
  6. 3.1. Ensure that the grommet (4) is fully seated in the rear compartment lid  (3).
    3.2. Connect the high mounted stop lamp connector (5) with the wiring harness.
  7. Position the high mounted stop lamp panel (1) on the rear compartment lid (3) and press the panel upwards in order to engage the locator tabs.
  8. Install the fasteners (2) in order to secure the high mounted stop lamp panel (1) to the rear compartment lid (3).
  9. Tighten
    Tighten the high mounted stop lamp panel fasteners to 2 N·m (18 lb in).

  10. Install the backup lamp. Refer to Backup Lamp Replacement .
  11. Install the rear compartment lid trim. Refer to Rear Compartment Lid Inner Panel Trim Replacement in Body Rear End.
  12. Close the rear compartment lid.