GM Service Manual Online
For 1990-2009 cars only

Removal Procedure

  1. Remove the air deflector. Refer to Front Air Deflector Replacement in Body Front End.

  2. Object Number: 567899  Size: SH
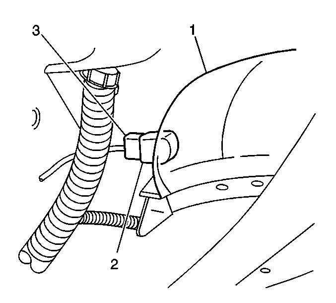
  3. Disconnect the electrical connector (3) from the foglamp bulb (2).
  4. Turn the fog lamp bulb (2) counter clockwise to disengage it from the fog lamp housing (1).
  5. Remove the fog lamp bulb (2) from the fog lamp housing (1).

Installation Procedure


    Object Number: 567899  Size: SH
  1. Install the fog lamp bulb (2) from the fog lamp housing (1).
  2. Turn the fog lamp bulb (2) clockwise to engage it into the fog lamp housing (1).
  3. Connect the electrical connector (3) to the fog lamp bulb (2).
  4. Install the air deflector. Refer to Front Air Deflector Replacement in Body Front End.