GM Service Manual Online
For 1990-2009 cars only
Makes
🢒
Cadillac
🢒
2001
🢒
Seville
🢒
Body and Accessories
🢒
Entertainment
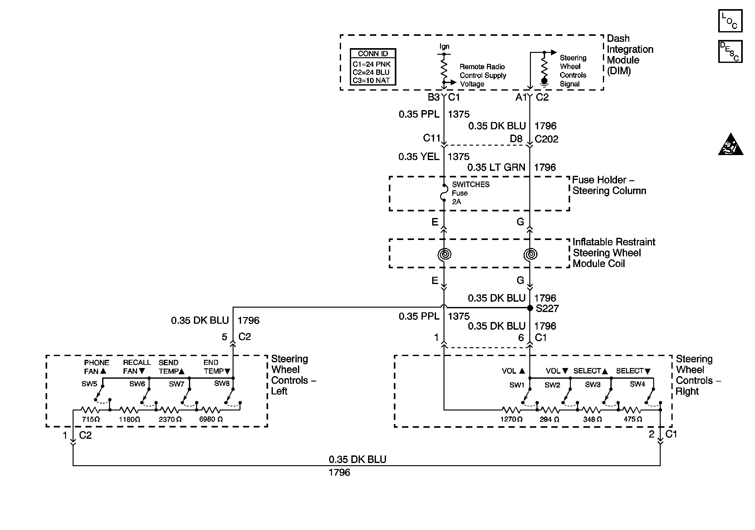
🢒 Steering Wheel Controls Schematics
Power and Components