GM Service Manual Online
For 1990-2009 cars only

Removal Procedure

  1. Remove the rear ashtray and lighter assembly from the rear of the center console. Refer to Console Ashtray/Lighter Replacement .

  2. Object Number: 568381  Size: SH
  3. Remove the 2 fasteners (2) from behind the rear ashtray and lighter assembly.
  4. Open the console compartment door.
  5. Use a flat-bladed tool in order to remove the rear air vent cover (3) from the center console.
  6. Remove the cellular phone or the OnStar® wiring, if the vehicle is equipped with these features.

  7. Object Number: 568406  Size: SH
  8. Remove the 2 fasteners (1) from the console door hinge.
  9. Remove the console door and the hinge assembly from the center console.

  10. Object Number: 568408  Size: SH
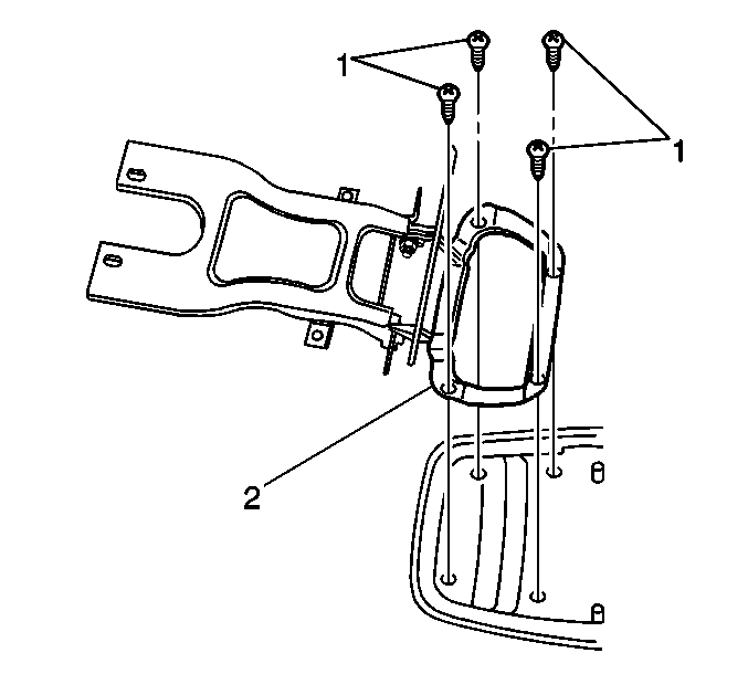
  11. Remove the fasteners (1) that retain the console tray (2) to the hinge.
  12. Remove the console door (2) from the hinge.

  13. Object Number: 568411  Size: SH
  14. Remove the fasteners (1) that retain the armrest inner trim panel (2) to the armrest and remove the inner trim panel (2).

  15. Object Number: 568412  Size: SH
  16. Remove the fasteners (1) that secure the console door hinge (2) to the armrest.
  17. Remove the console door hinge (2).

Installation Procedure


    Object Number: 568412  Size: SH
  1. Align the center console hinge (2) to the mounting location on the center console armrest.
  2. Install the hinge and tighten the fasteners (1).

  3. Object Number: 568411  Size: SH
  4. Install the center console inner trim panel (2) to the armrest.
  5. Install and tighten the fasteners (1) to the armrest inner trim panel (2).

  6. Object Number: 568408  Size: SH
  7. Install the console tray (2) to the console door hinge.
  8. Install and tighten the fasteners (1).
  9. Align the console lid and hinge assembly to the center console.
  10. The center console door has alignment pins next to the top 2 hinge fasteners.


    Object Number: 568406  Size: SH
  11. Install the top 2 console hinge fasteners (1).
  12. Reinstall the cellar phone or the OnStar® wiring if the vehicle is equipped with these features.
  13. Install the air vent cover (2).
  14. Close the console compartment door.

  15. Object Number: 568381  Size: SH
  16. Install the console endcap fasteners (2).
  17. Install the rear ashtray and lighter assembly to the center console. Refer to Console Ashtray/Lighter Replacement .