GM Service Manual Online
For 1990-2009 cars only

Removal Procedure

  1. Open the center console lid.

  2. Object Number: 568376  Size: SH
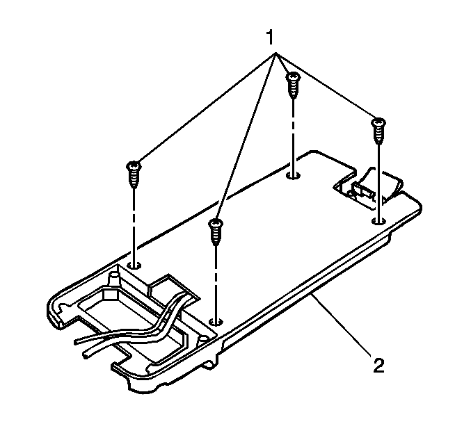
  3. Remove the four fasteners (1) that retain the console tray insert to the console tray (2).
  4. Remove the wiring junction box from the console tray (2) and disconnect the wiring.

  5. Object Number: 568369  Size: SH
  6. Remove the console tray insert (1) from the center console tray (2).

Installation Procedure


    Object Number: 568369  Size: SH
  1. Install the wiring and the junction box for the cellular phone.
  2. Install the console tray insert (1) to the center console tray (2).

  3. Object Number: 568376  Size: SH
  4. Install the four fasteners (1) that retain the console insert tray to the console tray (2).
  5. Notice: Use the correct fastener in the correct location. Replacement fasteners must be the correct part number for that application. Fasteners requiring replacement or fasteners requiring the use of thread locking compound or sealant are identified in the service procedure. Do not use paints, lubricants, or corrosion inhibitors on fasteners or fastener joint surfaces unless specified. These coatings affect fastener torque and joint clamping force and may damage the fastener. Use the correct tightening sequence and specifications when installing fasteners in order to avoid damage to parts and systems.

  6. Tighten the fasteners fully driven, seated, but not stripped (1).
  7. Verify that the cellular phone wiring is properly routed, and does not interfere with the console lid operation.