GM Service Manual Online
For 1990-2009 cars only
Makes
🢒
Cadillac
🢒
2001
🢒
Seville
🢒
Body and Accessories
🢒
Keyless Entry
🢒 Keyless Entry Schematics
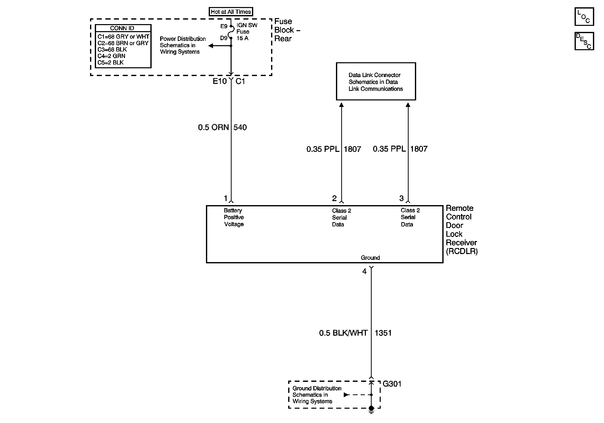
RCDLR Power and Ground
Keyless Entry Component Views
Keyless Entry System Description and Operation
Battery Feeds
Class 2 Serial Data Line (LH Drive) (2 of 2)
G301