GM Service Manual Online
For 1990-2009 cars only

Removal Procedure


    Object Number: 141864  Size: SH
  1. Remove the rear storage compartment trim. Refer to Rear Compartment Trim Panel Replacement in Body Rear End.
  2. Push on retainer at rear edge of bracket and slide towards the driver's side.
  3. Disconnect the electrical connectors from the modules on the bracket.
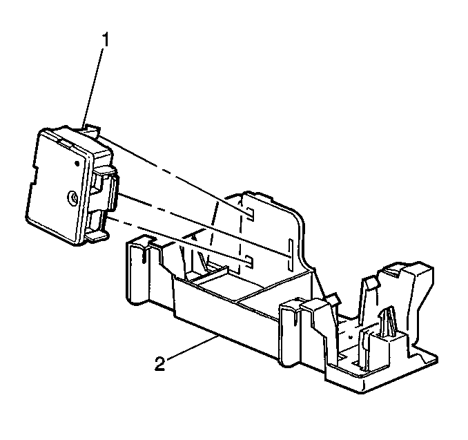
  4. Remove the remote control door lock receiver (1) from the bracket (2).

Installation Procedure


    Object Number: 141864  Size: SH
  1. Install the remote control door lock receiver (1) to the bracket (2).
  2. Connect the electrical connectors.
  3. Install bracket to rear shelf.
  4. Install rear storage compartment trim. Refer to Rear Compartment Trim Panel Replacement in Body Rear End.
  5. Program the transmitters to the receiver. Refer to Transmitter Programming .