GM Service Manual Online
For 1990-2009 cars only

Removal Procedure


    Object Number: 130551  Size: SH
  1. Remove the fasteners (3) securing the front license pocket cover (1) to the front bumper fascia (2).

  2. Object Number: 105358  Size: SH
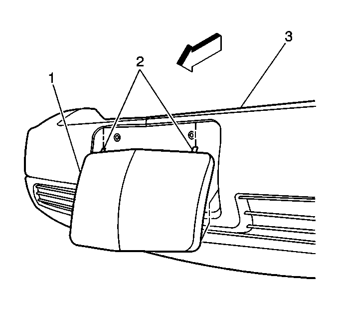
  3. Pull the bottom of the front license pocket cover (1) outward and down to disengage the tabs (2) at the top of the cover.
  4. Remove the front license pocket cover (1) from the front bumper fascia (3).

Installation Procedure


    Object Number: 105358  Size: SH
  1. Install the front license pocket cover (1) to the front bumper fascia (3).
  2. Position the tabs (2) on the front license pocket cover (1) in the front bumper fascia (3).

  3. Object Number: 130551  Size: SH
  4. Install the fasteners (3) in order to secure the front license pocket cover (1) to the front bumper fascia (2).