GM Service Manual Online
For 1990-2009 cars only
Makes
🢒
Cadillac
🢒
2001
🢒
Seville
🢒
Body and Accessories
🢒
Seats
🢒 Power Seats Schematics
Figure
1:
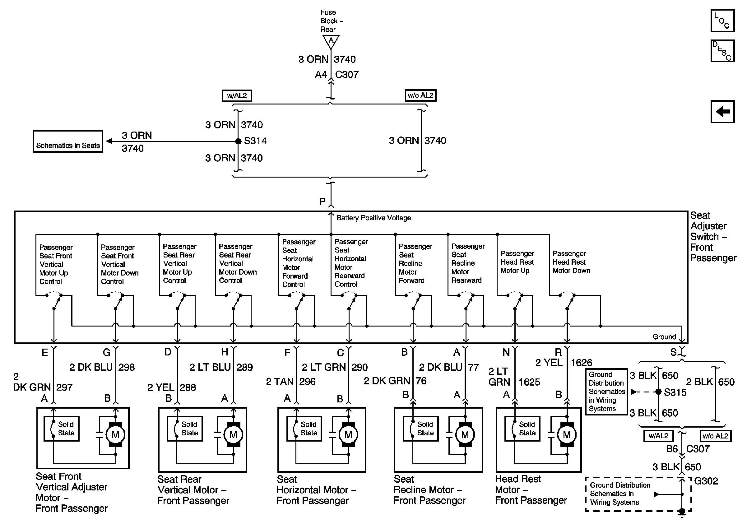
LH Seat Switch and Motors
RH Seat Switch and Motors
Power Seat Component Views
Power Seats System Description and Operation
Battery Feeds
Power, Ground, and Components
RH Seat Switch and Motors
G302 (LH Drive)
G302 (LH Drive)
Figure
2:
RH Seat Switch and Motors
LH Seat Switch and Motors
Power Seat Component Views
Power Seats System Description and Operation
LH Seat Switch and Motors
Power, Ground, and Components
G302 (LH Drive)
G302 (LH Drive)