GM Service Manual Online
For 1990-2009 cars only
Table 1: Adaptive Seat Lumbar Module -- Driver
Table 2: Adaptive Seat Lumbar Module -- Front Passenger
Table 3: Head Rest Motor -- Driver
Table 4: Head Rest Motor -- Front Passenger
Table 5: Head Rest Position Sensor -- Driver
Table 6: Heated Seat Cushion Element -- LR
Table 7: Heated Seat Cushion Element -- RR
Table 8: Heated Seat Module -- Driver C1
Table 9: Heated Seat Module -- Driver C2
Table 10: Heated Seat Module -- Driver C3
Table 11: Heated Seat Module -- Front Passenger C1
Table 12: Heated Seat Module -- Front Passenger C2
Table 13: Heated Seat Module -- Front Passenger C3
Table 14: Heated Seat Module -- LR C1
Table 15: Heated Seat Module -- LR C2
Table 16: Heated Seat Module -- LR C3
Table 17: Heated Seat Module -- RR C1
Table 18: Heated Seat Module -- RR C2
Table 19: Heated Seat Module -- RR C3
Table 20: Heated Seat Switch -- Driver
Table 21: Heated Seat Switch -- Front Passenger
Table 22: Heated Seat Switch -- LR
Table 23: Heated Seat Switch -- RR
Table 24: Memory Seat Module (MSM) C1
Table 25: Memory Seat Module (MSM) C2 (AL2)
Table 26: Memory Seat Module (MSM) C2 (AC9)
Table 27: Memory Seat Module (MSM) C3
Table 28: Seat Adjuster Switch -- Driver (A45)
Table 29: Seat Adjuster Switch -- Driver (without A45)
Table 30: Seat Adjuster Switch -- Front Passenger
Table 31: Seat Front Vertical Adjuster Motor -- Driver
Table 32: Seat Front Vertical Adjuster Motor -- Front Passenger
Table 33: Seat Front Vertical Position Sensor -- Driver
Table 34: Seat Horizontal Motor -- Driver
Table 35: Seat Horizontal Motor -- Front Passenger
Table 36: Seat Horizontal Position Sensor -- Driver
Table 37: Seat Lumbar Horizontal Motor -- Driver
Table 38: Seat Lumbar Horizontal Motor -- Front Passenger
Table 39: Seat Lumbar Horizontal Position Sensor -- Driver
Table 40: Seat Lumbar Pump Motor -- Driver
Table 41: Seat Lumbar Pump Motor -- Front Passenger
Table 42: Seat Lumbar Switch -- Driver (AC9)
Table 43: Seat Lumbar Switch -- Driver (AL2)
Table 44: Seat Lumbar Switch -- Driver (A45)
Table 45: Seat Lumbar Switch -- Front Passenger (AC9)
Table 46: Seat Lumbar Switch -- Front Passenger (AL2)
Table 47: Seat Lumbar Vertical Motor -- Driver
Table 48: Seat Lumbar Vertical Motor -- Front Passenger
Table 49: Seat Lumbar Vertical Position Sensor -- Driver
Table 50: Seat Rear Vertical Adjuster Motor -- Driver
Table 51: Seat Rear Vertical Motor -- Front Passenger
Table 52: Seat Rear Vertical Position Sensor -- Driver
Table 53: Seat Recline Motor -- Driver (A45)
Table 54: Seat Recline Motor -- Driver (Without A45)
Table 55: Seat Recline Motor -- Front Passenger
Table 56: Seat Recline Position Sensor -- Driver

Adaptive Seat Lumbar Module -- Driver


Object Number: 258232  Size: CH

Connector Part Information

    • 12129430
    • 16-Way F Metri-Pack 280 Series (WHT)

Pin

Wire Color

Circuit No.

Function

A

BLK

550

Ground

B-D

--

--

Not Used

E

PNK

2291

Left Front Adaptive Seat Switch Off Signal

F

WHT

2290

Left Front Adaptive Seat Switch Auto/On Signal

G

DK BLU

1064

Driver Seat Lumbar Rearward Switch Signal

H

YEL

1065

Driver Seat Lumbar Forward Switch Signal

J-K

--

--

Not Used

L

ORN

1740

Battery Positive Voltage

M

BRN

41

Ignition 3 Voltage

N-R

--

--

Not Used

S

ORN

2840

Battery Positive Voltage

Adaptive Seat Lumbar Module -- Front Passenger


Object Number: 258232  Size: CH

Connector Part Information

    • 12129430
    • 16-Way F Metri-Pack 280 Series (WHT)

Pin

Wire Color

Circuit No.

Function

A

BLK

650

Ground

B-D

--

--

Not Used

E

PPL

2293

Right Front Adaptive Seat Switch Off Signal

F

PNK

2292

Right Front Adaptive Seat Switch Auto/On Signal

G

WHT

210

Passenger Seat Lumbar Motor Rearward Control

H

DK BLU

211

Passenger Seat Lumbar Motor Forward Control

J-K

--

--

Not Used

L

ORN

1740

Battery Positive Voltage

M

BRN

41

Ignition 3 Voltage

N-R

--

--

Not Used

S

ORN

2840

Battery Positive Voltage

Head Rest Motor -- Driver


Object Number: 258179  Size: CH

Connector Part Information

    • 12129156
    • 2-Way M Metri-Pack 280 Series (MD GRY)

Pin

Wire Color

Circuit No.

Function

A

YEL

1257

Driver Head Rest Motor Up Control

B

PPL

1258

Driver Head Rest Motor Down Control

Head Rest Motor -- Front Passenger


Object Number: 258179  Size: CH

Connector Part Information

    • 12129156
    • 2-Way M Metri-Pack 280 Series (MD GRY)

Pin

Wire Color

Circuit No.

Function

A

LT GRN

1625

Power Headrest Motor Feed-Passenger Up

B

YEL

1626

Power Headrest Motor Feed-Passenger Down

Head Rest Position Sensor -- Driver


Object Number: 130631  Size: CH

Connector Part Information

    • 12064758
    • 3-Way F Metri-Pack 150 Series (BLK)

Pin

Wire Color

Circuit No.

Function

A

GRY

788

5 Volt Reference

B

RED/BLK

1060

Memory Seat Position Sensor Signal-Headrest Motor

C

BLK

782

Memory Seat Low Reference

Heated Seat Cushion Element -- LR


Object Number: 39661  Size: CH

Connector Part Information

    • 12047786
    • 4-Way M Metri-Pack 150 Series (BLK)

Pin

Wire Color

Circuit No.

Function

A

GRY

2294

Left Rear Heated Seat Element Supply Voltage

B

BRN

2295

Left Rear Heated Seat Element Control

C

LT BLU

2299

Right Rear Heated Seat Temperature Sensor Signal

D

DK BLU

2298

Left Rear Heated Seat Temperature Sensor Low Reference

Heated Seat Cushion Element -- RR


Object Number: 39661  Size: CH

Connector Part Information

    • 12047786
    • 4-Way M Metri-Pack 150 Series (BLK)

Pin

Wire Color

Circuit No.

Function

A

DK GRN

2296

Right Rear Heated Seat Element Supply Voltage

B

LT GRN

2297

Right Rear Heated Seat Element Control

C

ORN

2300

Left Rear Heated Seat Temperature Sensor Signal

D

PNK

2301

Right Rear Heated Seat Temperature Sensor Low Reference

Heated Seat Module -- Driver C1


Object Number: 62469  Size: CH

Connector Part Information

    • 12064998
    • 8-Way F Metri-Pack 280 Series (BLK)

Pin

Wire Color

Circuit No.

Function

A

BRN

41

Ignition 3 Voltage

B

ORN

2440

Battery Positive Voltage

C

PNK

1501

Driver Heated Seat High/Low Signal

D

LT BLU

1662

Driver Heated Seat Low Temperature Indicator Control

E

BLK

550

Ground

F

DK GRN

1661

Driver Heated Seat High Temperature Indicator Control

G

LT BLU/WHT

181

Heated Seat Control Module Status Signal

H

YEL

182

Heated Seat Control Module Inhibit Signal

Heated Seat Module -- Driver C2


Object Number: 39660  Size: CH

Connector Part Information

    • 12047785
    • 4-Way F Metri-Pack 150 Series (BLK)

Pin

Wire Color

Circuit No.

Function

A

BLK

--

Heating Element

B

BLK

--

Controlled Ground

C

BLK

--

Temperature Sensor Signal

D

BLK

--

Ground

Heated Seat Module -- Driver C3


Object Number: 646421  Size: CH

Connector Part Information

    • 12059253
    • 2-Way F Metri-Pack 150 Series (LT GRN)

Pin

Wire Color

Circuit No.

Function

A

BLK

--

Heater Control

B

BLK

--

Heating Element

Heated Seat Module -- Front Passenger C1


Object Number: 62469  Size: CH

Connector Part Information

    • 12064998
    • 8-Way F Metri-Pack 280 Series (BLK)

Pin

Wire Color

Circuit No.

Function

A

BRN

41

Ignition 3 Voltage

B

ORN

2540

Battery Positive Voltage

C

PNK/BLK

1503

Passenger Heated Seat High/Low Signal

D

TAN

1686

Passenger Heated Seat Low Temperature Indicator Control

E

BLK

650

Ground

F

YEL

1685

Passenger Heated Seat High Temperature Indicator Control

G

LT BLU/WHT

181

Heated Seat Control Module Status Signal

H

YEL

182

Heated Seat Control Module Inhibit Signal

Heated Seat Module -- Front Passenger C2


Object Number: 39660  Size: CH

Connector Part Information

    • 12047785
    • 4-Way F Metri-Pack 150 Series (BLK)

Pin

Wire Color

Circuit No.

Function

A

BLK

--

Heating Element

B

BLK

--

Controlled Ground

C

BLK

--

Temperature Sensor Signal

D

BLK

--

Ground

Heated Seat Module -- Front Passenger C3


Object Number: 646421  Size: CH

Connector Part Information

    • 12059253
    • 2-Way F Metri-Pack 150 Series (LT GRN)

Pin

Wire Color

Circuit No.

Function

A

BLK

--

Heater Control

B

BLK

--

Heating Element

Heated Seat Module -- LR C1


Object Number: 62469  Size: CH

Connector Part Information

    • 12064998
    • 8-Way F Metri-Pack 280 Series (BLK)

Pin

Wire Color

Circuit No.

Function

A

BRN

41

Ignition 3 Voltage

B

ORN

2640

Battery Positive Voltage

C

PNK

1617

Left Rear Heated Seat Switch Signal

D

--

--

Not Used

E

BLK

750

Ground

F-G

--

--

Not Used

H

YEL

182

Heated Seat Control Module Inhibit Signal

Heated Seat Module -- LR C2


Object Number: 39660  Size: CH

Connector Part Information

    • 12047785
    • 4-Way F Metri-Pack 150 Series (BLK)

Pin

Wire Color

Circuit No.

Function

A

GRY

2294

Left Rear Heated Seat Element Supply Voltage

B

BRN

2295

Left Rear Heated Seat Element Control

C

LT BLU

2299

Right Rear Heated Seat Temperature Sensor Signal

D

DK BLU

2298

Left Rear Heated Seat Temperature Sensor Low Reference

Heated Seat Module -- LR C3


Object Number: 646421  Size: CH

Connector Part Information

    • 12059253
    • 2-Way F Metri-Pack 150 Series (LT GRN)

Pin

Wire Color

Circuit No.

Function

A

BLK

--

Heater Control

B

BLK

--

Heating Element

Heated Seat Module -- RR C1


Object Number: 62469  Size: CH

Connector Part Information

    • 12064998
    • 8-Way F Metri-Pack 280 Series (BLK)

Pin

Wire Color

Circuit No.

Function

A

BRN

41

Ignition 3 Voltage

B

ORN

2740

Battery Positive Voltage

C

BRN

1629

Right Rear Heated Seat Switch Signal

D

--

--

Not Used

E

BLK

750

Ground

F-G

--

--

Not Used

H

YEL

182

Heated Seat Control Module Inhibit Signal

Heated Seat Module -- RR C2


Object Number: 39660  Size: CH

Connector Part Information

    • 12047785
    • 4-Way F Metri-Pack 150 Series (BLK)

Pin

Wire Color

Circuit No.

Function

A

DK GRN

2296

Right Rear Heated Seat Element Supply Voltage

B

LT GRN

2297

Right Rear Heated Seat Element Control

C

ORN

2300

Left Rear Heated Seat Temperature Sensor Signal

D

PNK

2301

Right Rear Heated Seat Temperature Sensor Low Reference

Heated Seat Module -- RR C3


Object Number: 646421  Size: CH

Connector Part Information

    • 12059253
    • 2-Way F Metri-Pack 150 Series (LT GRN)

Pin

Wire Color

Circuit No.

Function

A

BLK

--

Heater Control

B

BLK

--

Heating Element

Heated Seat Switch -- Driver


Object Number: 130714  Size: CH

Connector Part Information

    • 12124997
    • 5-Way F Metri-Pack 150 Series (BLK)

Pin

Wire Color

Circuit No.

Function

A

LT BLU

1662

Driver Heated Seat Low Temperature Indicator Control

B

DK GRN

1661

Driver Heated Seat High Temperature Indicator Control

C

PNK

1501

Driver Heated Seat High/Low Signal

D

BLK

350

Ground

E

YEL/BLK

1491

Backlight Lamps Control

Heated Seat Switch -- Front Passenger


Object Number: 130714  Size: CH

Connector Part Information

    • 12124997
    • 5-Way F Metri-Pack 150 Series (BLK)

Pin

Wire Color

Circuit No.

Function

A

TAN

1686

Passenger Heated Seat Low Temperature Indicator Control

B

YEL

1685

Passenger Heated Seat High Temperature Indicator Control

C

PNK/BLK

1503

Passenger Heated Seat High/Low Signal

D

BLK

350

Ground

E

YEL/BLK

1491

Backlight Lamps Control

Heated Seat Switch -- LR


Object Number: 130714  Size: CH

Connector Part Information

    • 12124997
    • 5-Way F Metri-Pack 150 Series (BLK)

Pin

Wire Color

Circuit No.

Function

A

PNK

1631

Left Rear Heated Seat Low Temperature Indicator Control

B

BLK/WHT

1638

Left Rear Heated Seat High Temperature Indicator Control

C

BRN

1637

Left Rear Heated Seat Switch Signal

D

BLK/WHT

551

Ground

E

YEL/BLK

1491

Backlight Lamps Control

Heated Seat Switch -- RR


Object Number: 130714  Size: CH

Connector Part Information

    • 12124997
    • 5-Way F Metri-Pack 150 Series (BLK)

Pin

Wire Color

Circuit No.

Function

A

PNK

1636

Right Rear Heated Seat Low Indicator Control

B

BLK/WHT

1635

Right Rear Heated Seat High Indicator Control

C

BRN

1634

Right Rear Heated Seat Switch Signal

D

BLK/WHT

451

Ground

E

YEL/BLK

1491

Backlight Lamps Control

Memory Seat Module (MSM) C1


Object Number: 35456  Size: CH

Connector Part Information

    • 12064749
    • 2-Way F Metri-Pack 480 Series (BLK)

Pin

Wire Color

Circuit No.

Function

A

ORN

3740

Battery Positive Voltage

B

BLK

550

Ground (LH Drive)

BLK

650

Ground (RH Drive)

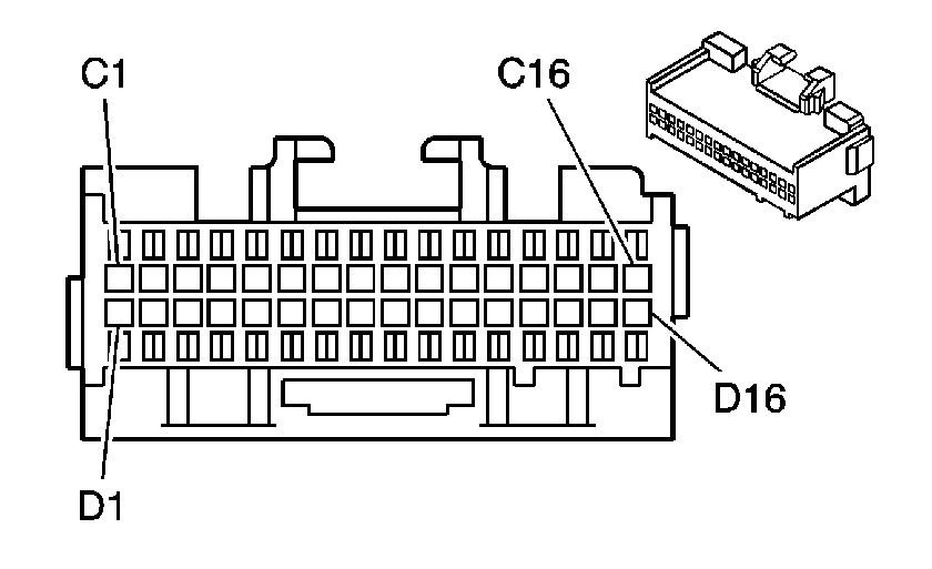
Memory Seat Module (MSM) C2 (AL2)


Object Number: 73157  Size: CH

Connector Part Information

    • 12110207
    • 32-Way F Micro-Pack 100 Series (LT BLU)

Pin

Wire Color

Circuit No.

Function

C1

DK GRN

1518

Power Seat Front Vertical Up Switch Signal

C2

YEL

1519

Power Seat Rear Vertical Up Switch Signal

C3

DK BLU

1520

Power Seat Front Vertical Down Switch Signal

C4

LT BLU

1521

Power Seat Rear Vertical Down Switch Signal

C5

TAN

1522

Power Seat Horizontal Forward Switch Signal

C6

LT GRN

1523

Power Seat Horizontal Rearward Switch Signal

C7

LT GRN

276

Driver Seat Recline Motor Forward Control

C8

LT BLU

277

Driver Seat Recline Motor Rearward Control

C9

DK BLU

1064

Driver Seat Lumbar Rearward Switch Signal

C10

YEL

1065

Driver Seat Lumbar Forward Switch Signal

C11

WHT

1066

Driver Seat Lumbar Up Switch Signal

C12

YEL/BLK

1067

Driver Seat Lumbar Down Switch Signal

C13

GRY

788

5 Volt Reference

C14

BRN/WHT

557

Front Vertical Seat Motor Position Sensor Signal

C15

BLK

782

Memory Seat Low Reference

C16

DK GRN

569

Horizontal Seat Motor Position Sensor Signal

D1

TAN

568

Rear Vertical Seat Motor Position Sensor Signal

D2

WHT/BLK

570

Driver Seat Recline Motor Position Sensor Signal

D3

YEL

1063

Driver Seat Lumbar Horizontal Position Sensor Signal

D4

BLK

1062

Driver Seat Lumbar Vertical Position Sensor Signal

D5

--

--

Not Used

D6

RED/BLK

1060

Memory Seat Position Sensor Signal-Driver Headrest Motor

D7-D8

--

--

Not Used

D9

WHT/BLK

1068

Power Seat Switch Signal-Headrest Up

D10

DK BLU/WHT

1069

Power Seat Switch Signal-Headrest Down

D11

ORN

2840

Battery Positive Voltage

D12-D13

--

--

Not Used

D14 - D15

PPL

1807

Class 2 Serial Data

D16

--

--

Not Used

Memory Seat Module (MSM) C2 (AC9)


Object Number: 258912  Size: CH

Connector Part Information

    • 12110113
    • 32-Way F Micro-Pack 100 Series (DK RED)

Pin

Wire Color

Circuit No.

Function

A1

DK GRN

1518

Power Seat Front Vertical Up Switch Signal

A2

YEL

1519

Power Seat Rear Vertical Up Switch Signal

A3

DK BLU

1520

Power Seat Front Vertical Down Switch Signal

A4

LT BLU

1521

Power Seat Rear Vertical Down Switch Signal

A5

TAN

1522

Power Seat Horizontal Forward Switch Signal

A6

LT GRN

1523

Power Seat Horizontal Rearward Switch Signal

A7

LT GRN

276

Driver Seat Recline Motor Forward Control

A8

LT BLU

277

Driver Seat Recline Motor Rearward Control

A9-A12

--

--

Not Used

A13

GRY

788

5 Volt Reference

A14

BRN/WHT

557

Front Vertical Seat Motor Position Sensor Signal

A15

BLK

782

Memory Seat Low Reference

A16

DK GRN

569

Horizontal Seat Motor Position Sensor Signal

B1

TAN

568

Rear Vertical Seat Motor Position Sensor Signal

B2

WHT/BLK

570

Driver Seat Recline Motor Position Sensor Signal

B3-B5

--

--

Not Used

B6

RED/BLK

1060

Memory Seat Position Sensor Signal-Driver Headrest Motor

B7-B8

--

--

Not Used

B9

WHT/BLK

1068

Power Seat Switch Signal-Headrest Up

B10

DK BLU/WHT

1069

Power Seat Switch Signal-Headrest Down

B11

ORN

2840

Battery Positive Voltage

B12-B13

--

--

Not Used

B14 - B15

PPL

1807

Class 2 Serial Data

B16

--

--

Not Used

Memory Seat Module (MSM) C3


Object Number: 258247  Size: CH

Connector Part Information

    • 12129432
    • 16-Way F ACT 280 Series (GRY)

Pin

Wire Color

Circuit No.

Function

A

DK GRN

286

Driver Seat Front Vertical Motor Up Control

B

DK BLU

611

Driver Seat Lumbar Motor Forward Control

C

PNK

768

Driver Seat Lumbar Motor Up Control

D -- E

--

--

Not Used

F

LT GRN

276

Driver Seat Recline Motor Forward Control

G

LT BLU

277

Driver Seat Recline Motor Rearward Control

H

PPL

1258

Driver Head Rest Motor Down Control

J

YEL

1257

Driver Head Rest Motor Up Control

K

ORN

767

Driver Seat Lumbar Motor Down Control

L

WHT

610

Driver Seat Lumbar Motor Rearward Control

M

DK BLU

287

Driver Seat Front Vertical Motor Down Control

N

TAN

285

Driver Seat Horizontal Motor Forward Control

P

LT BLU

283

Driver Seat Rear Vertical Motor Down Control

R

YEL

282

Driver Seat Rear Vertical Motor Up Control

S

LT GRN

284

Driver Seat Horizontal Motor Rearward Control

Seat Adjuster Switch -- Driver (A45)


Object Number: 258247  Size: CH

Connector Part Information

    • 12129432
    • 16-Way F Metri-Pack 280 Series (GRY)

Pin

Wire Color

Circuit No.

Function

A

DK BLU

1520

Power Seat Front Vertical Down Switch Signal

B

LT GRN

1523

Power Seat Horizontal Rearward Switch Signal

C

LT BLU

1521

Power Seat Rear Vertical Down Switch Signal

D

DK GRN

1518

Power Seat Front Vertical Up Switch Signal

E

TAN

1522

Power Seat Horizontal Forward Switch Signal

F

YEL

1519

Power Seat Rear Vertical Up Switch Signal

G

LT BLU

277

Driver Seat Recline Motor Rearward Control

H

LT GRN

276

Driver Seat Recline Motor Forward Control

J

ORN

2840

Battery Positive Voltage

K

WHT/BLK

1068

Power Seat Switch Signal-Headrest Up

L

--

--

Not Used

M

DK BLU/WHT

1069

Power Seat Switch Signal-Headrest Down

N-S

--

--

Not Used

Seat Adjuster Switch -- Driver (without A45)


Object Number: 258247  Size: CH

Connector Part Information

    • 12129432
    • 16-Way F Metri-Pack 280 Series (GRY)

Pin

Wire Color

Circuit No.

Function

A

DK BLU

287

Driver Seat Front Vertical Motor Down Control

B

LT GRN

284

Driver Seat Horizontal Motor Rearward Control

C

LT BLU

283

Driver Seat Rear Vertical Motor Down Control

D

DK GRN

286

Driver Seat Front Vertical Motor Up Control

E

TAN

285

Driver Seat Horizontal Motor Forward Control

F

YEL

282

Driver Seat Rear Vertical Motor Up Control

G

LT BLU

277

Driver Seat Recline Motor Rearward Control

H

LT GRN

276

Driver Seat Recline Motor Forward Control

J

ORN

3740

Battery Positive Voltage

K

YEL

1257

Driver Head Rest Motor Up Control

L

BLK

550

Ground

M

PPL

1258

Driver Head Rest Motor Down Control

N-S

--

--

Not Used

Seat Adjuster Switch -- Front Passenger


Object Number: 258247  Size: CH

Connector Part Information

    • 12129432
    • 16-Way F Metri-Pack 280 Series (GRY)

Pin

Wire Color

Circuit No.

Function

A

DK BLU

77

Passenger Seat Recline Motor Rearward

B

DK GRN

76

Passenger Seat Recline Motor Forward

C

LT GRN

290

Passenger Seat Horizontal Motor Rearward Control

D

YEL

288

Passenger Seat Rear Vertical Motor Up Control

E

DK GRN

297

Passenger Seat Front Vertical Motor Up Control

F

TAN

296

Passenger Seat Horizontal Motor Forward Control

G

DK BLU

298

Passenger Seat Front Vertical Motor Down Control

H

LT BLU

289

Passenger Seat Rear Vertical Motor Down Control

J-M

--

--

Not Used

N

LT GRN

1625

Power Headrest Motor Feed-Passenger Up

P

ORN

3740

Battery Positive Voltage

R

YEL

1626

Power Headrest Motor Feed-Passenger Down

S

BLK

650

Ground

Seat Front Vertical Adjuster Motor -- Driver


Object Number: 130707  Size: CH

Connector Part Information

    • 12020556
    • 2-Way F Metri-Pack 480 Series (BLK)

Pin

Wire Color

Circuit No.

Function

A

DK GRN

286

Driver Seat Front Vertical Motor Up Control

B

DK BLU

287

Driver Seat Front Vertical Motor Down Control

Seat Front Vertical Adjuster Motor -- Front Passenger


Object Number: 130707  Size: CH

Connector Part Information

    • 12020556
    • 2-Way F Metri-Pack 480 Series (BLK)

Pin

Wire Color

Circuit No.

Function

A

DK GRN

297

Passenger Seat Front Vertical Motor Up Control

B

DK BLU

298

Passenger Seat Front Vertical Motor Down Control

Seat Front Vertical Position Sensor -- Driver


Object Number: 405591  Size: CH

Connector Part Information

    • 12059584
    • 3-Way F Metri-Pack 150 Series (BLK)

Pin

Wire Color

Circuit No.

Function

A

--

--

Not Used

B

BLK

782

Memory Seat Low Reference

C

BRN/WHT

557

Front Vertical Seat Motor Position Sensor Signal

D

GRY

788

5 Volt Reference

Seat Horizontal Motor -- Driver


Object Number: 130706  Size: CH

Connector Part Information

    • 12052110
    • 2-Way F Metri-Pack 480 Series (NAT)

Pin

Wire Color

Circuit No.

Function

A

TAN

285

Driver Seat Horizontal Motor Forward Control

B

LT GRN

284

Driver Seat Horizontal Motor Rearward Control

Seat Horizontal Motor -- Front Passenger


Object Number: 130706  Size: CH

Connector Part Information

    • 12052110
    • 2-Way F Metri-Pack 480 Series (NAT)

Pin

Wire Color

Circuit No.

Function

A

TAN

296

Passenger Seat Horizontal Motor Forward Control

B

LT GRN

290

Passenger Seat Horizontal Motor Rearward Control

Seat Horizontal Position Sensor -- Driver


Object Number: 405591  Size: CH

Connector Part Information

    • 12059583
    • 3-Way F Metri-Pack 150 Series (NAT)

Pin

Wire Color

Circuit No.

Function

A

BLK

782

Memory Seat Low Reference

B

--

--

Not Used

C

DK GRN

569

Horizontal Seat Motor Position Sensor Signal

D

GRY

788

5 Volt Reference

Seat Lumbar Horizontal Motor -- Driver


Object Number: 130707  Size: CH

Connector Part Information

    • 12020556
    • 2-Way F Metri-Pack 480 Series (BLK)

Pin

Wire Color

Circuit No.

Function

A

DK BLU

611

Driver Seat Lumbar Motor Forward Control

B

WHT

610

Driver Seat Lumbar Motor Rearward Control

Seat Lumbar Horizontal Motor -- Front Passenger


Object Number: 130707  Size: CH

Connector Part Information

    • 12052110
    • 2-Way F Metri-Pack 480 Series (NAT)

Pin

Wire Color

Circuit No.

Function

A

DK BLU/WHT

211

Passenger Seat Lumbar Motor Forward Control

B

PNK/BLK

210

Passenger Seat Lumbar Motor Rearward Control

Seat Lumbar Horizontal Position Sensor -- Driver


Object Number: 605544  Size: CH

Connector Part Information

    • 15976041
    • 4-Way M Molex (WHT)

Pin

Wire Color

Circuit No.

Function

A

BRN

1063

Driver Seat Lumbar Horizontal Position Sensor Signal

B

RED

788

5 Volt Reference

C

LT BLU

782

Memory Seat Low Reference

Seat Lumbar Pump Motor -- Driver


Object Number: 82383  Size: CH

Connector Part Information

    • 12047662
    • 2-Way F Metri-Pack 150 Series (BLK)

Pin

Wire Color

Circuit No.

Function

A

RED

9172

Adaptive Seat Motor Control

B

BLK

9173

Adaptive Seat Motor Ground

Seat Lumbar Pump Motor -- Front Passenger


Object Number: 82383  Size: CH

Connector Part Information

    • 12047662
    • 2-Way F Metri-Pack 150 Series (BLK)

Pin

Wire Color

Circuit No.

Function

A

RED

9172

Adaptive Seat Motor Control

B

BLK

9173

Adaptive Seat Motor Ground

Seat Lumbar Switch -- Driver (AC9)


Object Number: 73146  Size: CH

Connector Part Information

    • 12052854
    • 7-Way F Metri-Pack 280 Series (BLK)

Pin

Wire Color

Circuit No.

Function

A

DK BLU

1064

Driver Seat Lumbar Rearward Switch Signal

B

WHT

2290

Left Front Adaptive Seat Switch Auto/On Signal

C

PNK

2291

Left Front Adaptive Seat Switch Off Signal

D-E

--

--

Not Used

F

YEL

1065

Driver Seat Lumbar Forward Switch Signal

G

ORN

1740

Battery Positive Voltage

Seat Lumbar Switch -- Driver (AL2)


Object Number: 73146  Size: CH

Connector Part Information

    • 12052854
    • 7-Way F Metri-Pack 280 Series (BLK)

Pin

Wire Color

Circuit No.

Function

A

PNK

610

Driver Seat Lumbar Motor Rearward Control

B

TAN

768

Driver Seat Lumbar Motor Up Control

C

PPL

767

Driver Seat Lumbar Motor Down Control

D

--

--

Not Used

E

BLK

550

Ground

F

DK BLU

611

Driver Seat Lumbar Motor Forward Control

G

ORN

3740

Battery Positive Voltage

Seat Lumbar Switch -- Driver (A45)


Object Number: 73146  Size: CH

Connector Part Information

    • 12052854
    • 7-Way F Metri-Pack 280 Series (BLK)

Pin

Wire Color

Circuit No.

Function

A

DK BLU

1064

Driver Seat Lumbar Rearward Switch Signal

B

WHT

1066

Driver Seat Lumbar Up Switch Signal

C

YEL/BLK

1067

Driver Seat Lumbar Down Switch Signal

D-E

--

--

Not Used

F

YEL

1065

Driver Seat Lumbar Forward Switch Signal

G

ORN

2840

Battery Positive Voltage

Seat Lumbar Switch -- Front Passenger (AC9)


Object Number: 73146  Size: CH

Connector Part Information

    • 12052854
    • 7-Way F Metri-Pack 280 Series (BLK)

Pin

Wire Color

Circuit No.

Function

A

WHT

210

Passenger Seat Lumbar Motor Rearward Control

B

PPL

2293

Right Front Adaptive Seat Switch Off Signal

C

PNK

2292

Right Front Adaptive Seat Switch Auto/On Signal

D-E

--

--

Not Used

F

DK BLU

211

Passenger Seat Lumbar Motor Forward Control

G

ORN

1740

Battery Positive Voltage

Seat Lumbar Switch -- Front Passenger (AL2)


Object Number: 73146  Size: CH

Connector Part Information

    • 12052854
    • 7-Way F Metri-Pack 280 Series (BLK)

Pin

Wire Color

Circuit No.

Function

A

WHT

210

Passenger Seat Lumbar Motor Rearward Control

B

ORN

792

Passenger Seat Lumbar Motor Down Control

C

PNK

793

Passenger Seat Lumbar Motor Up Control

D

--

--

Not Used

E

BLK

650

Ground

F

DK BLU

211

Passenger Seat Lumbar Motor Forward Control

G

ORN

3740

Battery Positive Voltage

Seat Lumbar Vertical Motor -- Driver


Object Number: 130707  Size: CH

Connector Part Information

    • 12020556
    • 2-Way F Metri-Pack 150 Series (BLK)

Pin

Wire Color

Circuit No.

Function

A

PNK

768

Driver Seat Lumbar Motor Up Control

B

ORN

767

Driver Seat Lumbar Motor Down Control

Seat Lumbar Vertical Motor -- Front Passenger


Object Number: 130707  Size: CH

Connector Part Information

    • 12020556
    • 2-Way F Metri-Pack 480 Series (BLK)

Pin

Wire Color

Circuit No.

Function

A

TAN/WHT

793

Passenger Seat Lumbar Motor Up Control

B

PPL/WHT

792

Passenger Seat Lumbar Motor Down Control

Seat Lumbar Vertical Position Sensor -- Driver


Object Number: 605544  Size: CH

Connector Part Information

    • 15976041
    • 4-Way M Molex (WHT)

Pin

Wire Color

Circuit No.

Function

A

BLK

1062

Driver Seat Lumbar Vertical Position sensor Signal

B

LT BLU

788

5 Volt Reference

C

LT BLU

782

Memory Seat Low Reference

Seat Rear Vertical Adjuster Motor -- Driver


Object Number: 130709  Size: CH

Connector Part Information

    • 12052109
    • 2-Way F Metri-Pack 480 Series (BLU)

Pin

Wire Color

Circuit No.

Function

A

LT BLU

283

Driver Seat Rear Vertical Motor Down Control

B

YEL

282

Driver Seat Rear Vertical Motor Up Control

Seat Rear Vertical Motor -- Front Passenger


Object Number: 130709  Size: CH

Connector Part Information

    • 12052109
    • 2-Way F Metri-Pack 480 Series (BLU)

Pin

Wire Color

Circuit No.

Function

A

LT BLU

289

Passenger Seat Rear Vertical Motor Down Control

B

YEL

288

Passenger Seat Rear Vertical Motor Up Control

Seat Rear Vertical Position Sensor -- Driver


Object Number: 405591  Size: CH

Connector Part Information

    • 12059582
    • 3-Way F Metri-Pack 150 Series (BLU)

Pin

Wire Color

Circuit No.

Function

A

BLK

782

Memory Seat Low Reference

B

TAN

568

Rear Vertical Seat Motor Position Sensor Signal

C

--

--

Not Used

D

GRY

788

5 Volt Reference

Seat Recline Motor -- Driver (A45)


Object Number: 153645  Size: CH

Connector Part Information

    • 12129081
    • 2-Way F Metri-Pack 280 Series Flex Lock (BLK)

Pin

Wire Color

Circuit No.

Function

A

LT GRN/BLK

276

Driver Seat Recline Motor Forward Control

B

LT BLU/BLK

277

Driver Seat Recline Motor Rearward Control

Seat Recline Motor -- Driver (Without A45)


Object Number: 153645  Size: CH

Connector Part Information

    • 12129081
    • 2-Way F Metri-Pack 280 Series Flex Lock (BLK)

Pin

Wire Color

Circuit No.

Function

A

LT GRN

276

Driver Seat Recline Motor Forward Control

B

LT BLU

277

Driver Seat Recline Motor Rearward Control

Seat Recline Motor -- Front Passenger


Object Number: 153645  Size: CH

Connector Part Information

    • 12129081
    • 2-Way F Metri-Pack 280 Series Flex Lock (BLK)

Pin

Wire Color

Circuit No.

Function

A

DK BLU

77

Passenger Seat Recline Motor Rearward

B

DK GRN

76

Passenger Seat Recline Motor Forward

Seat Recline Position Sensor -- Driver


Object Number: 333035  Size: CH

Connector Part Information

    • 12047781
    • 3-Way F Metri-Pack 150 Series (BLK)

Pin

Wire Color

Circuit No.

Function

A

GRY

788

5 Volt Reference

B

WHT/BLK

570

Driver Seat Recline Motor Position Sensor Signal

C

BLK

782

Memory Seat Low Reference