GM Service Manual Online
For 1990-2009 cars only

Removal Procedure

  1. Remove the headliner. Refer to Headlining Trim Panel Replacement .

  2. Object Number: 474278  Size: SH

    Notice: Use care when removing the cardboard roof insulator. Excessive pressure can cause dents in the roof panel.

  3. Starting in one corner of the cardboard, pulling downward, cut the adhesive beads using a sharp putty knife or equivalent.
  4. Cut off all of the adhesive beads.
  5. Remove the cardboard roof insulator.

Installation Procedure

    Important: 

       • Installation of a new cardboard roof insulator is necessary to ensure the structural integrity of the roof system. Use GM P/N 12378192 Adhesive available through General Motors Service Parts Operations.
       • The cardboard roof insulator must be installed within five minutes of adhesive application.


    Object Number: 107685  Size: SH
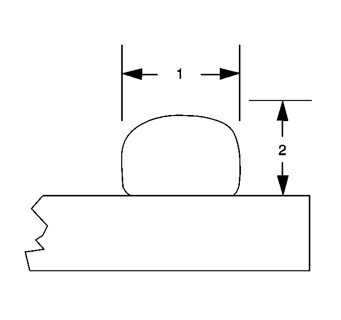
  1. Apply beads of adhesive to a height (2) of 6-9 mm (1/4-3/8 in) and a width 1) of 15 mm (5/8 in).

  2. Object Number: 107686  Size: SH
  3. Apply the adhesive (1) in the locations marked on the cardboard insulator.

  4. Object Number: 474278  Size: SH
  5. Place the cardboard roof insulator to the roof panel.
  6. Important: Gluing the headliner to the cardboard roof insulator during installation is not required.

  7. Install the headliner. Refer to Headlining Trim Panel Replacement .