GM Service Manual Online
For 1990-2009 cars only
Figure 1:

Engine Compartment, in the Right Front Corner


Object Number: 747880  Size: LF
(1)Windshield Washer Fluid Level Switch
(2)Windshield Washer Fluid Pump
(3)Windshield Washer Fluid Reservoir
(4)A/C Refrigerant Pressure Sensor
(5)P104
(6)C106
(7)P100
(8)G105
(9)G104
Figure 2:

Passenger Compartment, Under the Rear Seat


Object Number: 679991  Size: LF
(1)Fuse Block -- Rear
(2)G301
(3)Lateral Accelerometer Sensor
Figure 3:

Passenger Compartment, Under the Rear Seat


Object Number: 677223  Size: LF
(1)G307
(2)S305
(3)Negative Battery Cable
(4)S306
(5)S307
(6)Positive Battery Cable
(7)Battery
Figure 4:

Ground Locations


Object Number: 747516  Size: LF
(1)G302
(2)G306
(3)G307
(4)G304
(5)G401
(6)G402
(7)G303
(8)G301
(9)G300
(10)G200
(11)G202
(12)G101
(13)G106, G109, G110
(14)G104
(15)G105
(16)G108
(17)G201
Figure 5:

Engine Compartment, in the Left Side


Object Number: 822795  Size: LF
(1)Coolant Reservoir
(2)Coolant Level Switch
(3)G101
Figure 6:

Engine, on the Left Side


Object Number: 598784  Size: MF
(1)Exhaust Gas Recirculation (EGR) Valve
(2)Engine Coolant Temperature (ECT) Sensor
(3)G108
(4)C101
(5)S117
(6)S120
(7)C100
(8)Throttle Position (TP) Sensor
(9)Idle Air Control (IAC) Sensor
(10)Manifold Absolute Pressure (MAP) Sensor
Figure 7:

Engine, on the Left, Front Bottom Side


Object Number: 598780  Size: MF
(1)G109
(2)G110
(3)G106
Figure 8:

Passenger Compartment, Below the Left Side of the IP


Object Number: 154377  Size: LF
(1)S201
(2)P101
(3)C200
(4)G200
(5)S200
(6)C202
Figure 9:

Passenger Compartment, Below the Right Side of the IP


Object Number: 154431  Size: LF
(1)G201
Figure 10:

Passenger Compartment, Under the Left Side of the Instrument Panel


Object Number: 333290  Size: LF
(1)Park Brake
(2)Park Brake Release Solenoid
(3)Park Brake Release Solenoid Connector
(4)G202
Figure 11:

Passenger Compartment, Under the Left Seat


Object Number: 154454  Size: LF
(1)G300
(2)Number 2 Bar
(3)SP302
(4)SP301
Figure 12:

Passenger Compartment, Under the Right Seat


Object Number: 747621  Size: LF
(1)C307
(2)G306
(3)Number 2 Bar
(4)Inflatable Restraint Sensing and Diagnostic Module (SDM)
(5)G302
(6)Cover over SP308
Figure 13:

RCDLR, Rear Comp Lamp, C403, G401, and P400


Object Number: 154461  Size: LF
(1)C403
(2)G401
(3)P400
(4)Rear Compartment Lamp
(5)Remote Control Door Lock Receiver (RCDLR)
Figure 14:

Rear Compartment, in the Left Rear


Object Number: 154462  Size: LF
(1)C400
(2)P401
(3)G402
(4)P402
Figure 15:

Front Door (RH Drive)


Object Number: 748477  Size: LF
(1)Driver Door Module (DDM) (FPDM Similar)
(2)C500 (C600 Similar)
(3)Speaker -- RF Door Tweeter Connector (LF Similar)
(4)Speaker -- RF Door Connector (LF Similar)
(5)P601 (P501 Similar)
Figure 16:

Passenger Comparment, Rear Upper Left Corner


Object Number: 747856  Size: LF
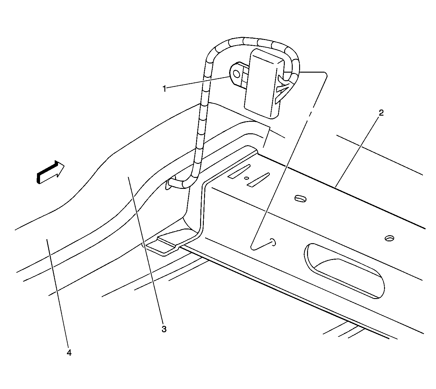
(1)G303
Figure 17:

Passenger Compartment, Upper Right Corner


Object Number: 747625  Size: LF
(1)Onstar Cellular Antenna/Rear Window Defogger Grid Ground Connector
(2)G304