GM Service Manual Online
For 1990-2009 cars only
Makes
🢒
Cadillac
🢒
2001
🢒
Seville
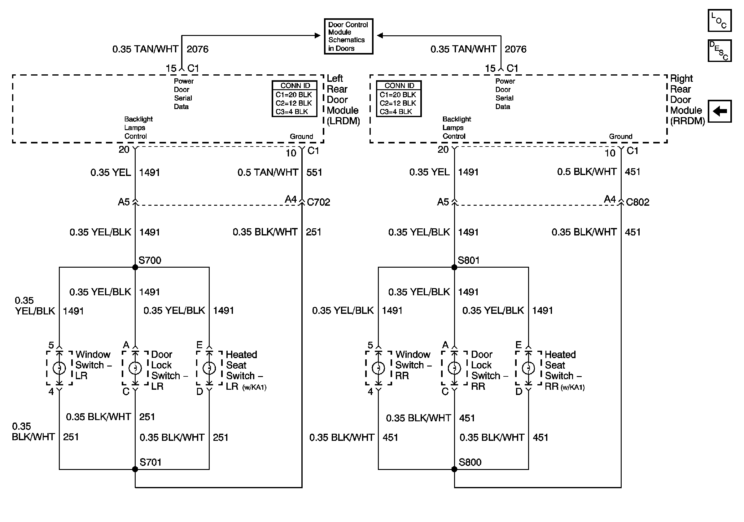
🢒 Rear Door Dimming
Rear Door Dimming
Rear Door Dimming
Front Door Dimming
Lighting Systems Component Views
Interior Lighting Systems Description and Operation
Power Door Serial Data