GM Service Manual Online
For 1990-2009 cars only
Makes
🢒
Cadillac
🢒
2001
🢒
Seville
🢒 Power and Class 2
Power and Class 2
Power and Class 2
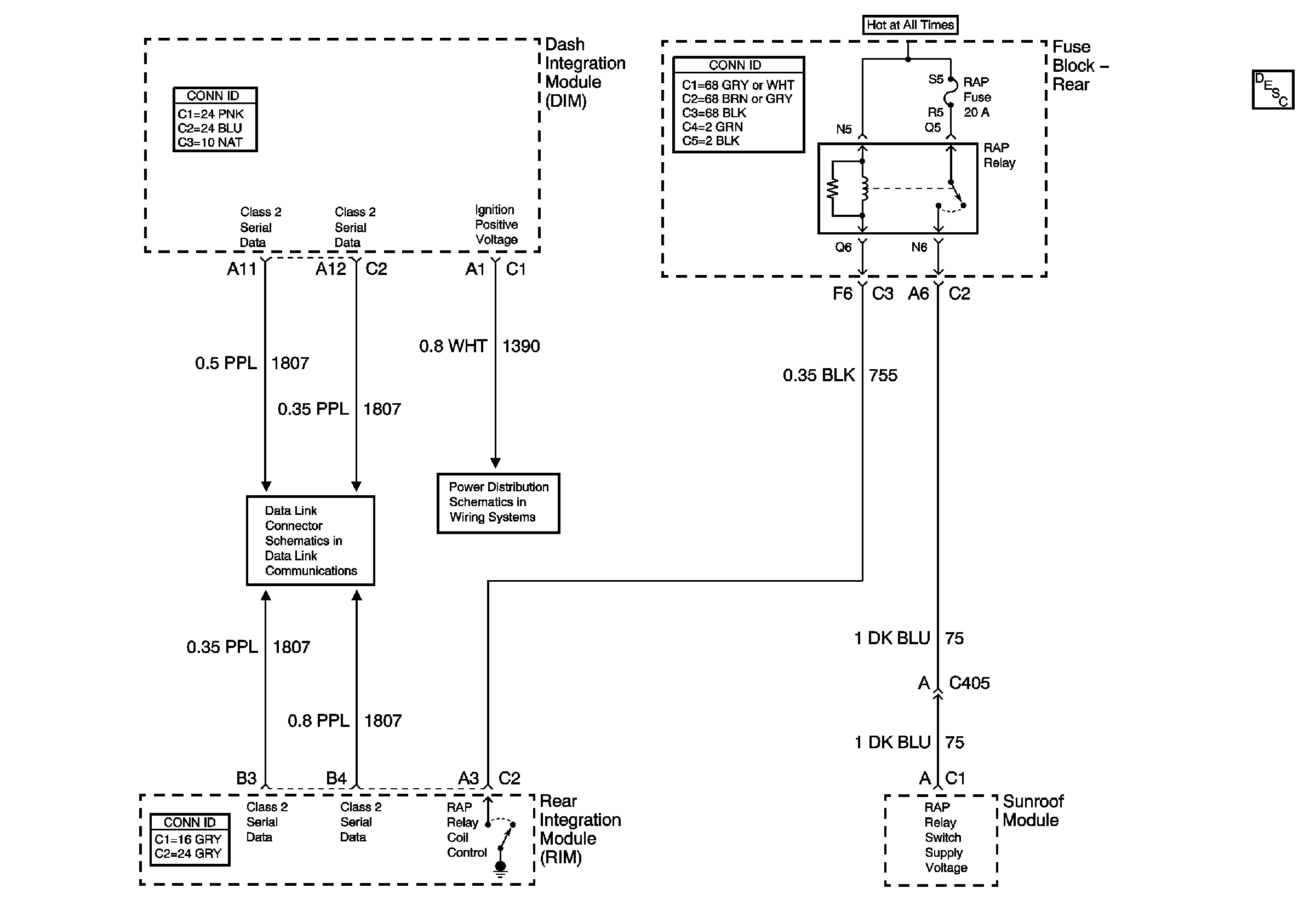
Retained Accessory Power (RAP) Description and Operation
Class 2 Serial Data Line (LH Drive) (1 of 2)
Ignition Switch