GM Service Manual Online
For 1990-2009 cars only
Figure 1:

Blower Motor -- Front


Object Number: 783728  Size: FS
Master Electrical Component List
Air Delivery Description and Operation
Blower Motor - Auxiliary
G200
G202 1 of 3
Figure 2:

Blower Motor -- Auxillary


Object Number: 789950  Size: FS
Master Electrical Component List
Air Delivery Description and Operation
Blower Motor - Front
G200 and G202
G200 and G202
Ashtray Lamp and Steering Wheel Controls
Battery Feed to Fuse Block - Rear
Battery Feed to Fuse Block - Rear
Battery Feed to Fuse Block - Rear
Figure 3:

A/C Compressor Clutch


Object Number: 783611  Size: FS
Master Electrical Component List
Air Delivery Description and Operation
Class 2 Serial Data Line (LH Drive) (1 of 2)
G106 and G108
Figure 4:

Electric Actuators


Object Number: 803858  Size: FS
Master Electrical Component List
Air Delivery Description and Operation
Temperature Sensors - LH Drive
A/C Compressor Clutch
Temperature Sensors - RH Drive
Figure 5:

Temperature Sensors - LH Drive


Object Number: 787272  Size: FS
Master Electrical Component List
Air Temperature Description and Operation
Temperature Sensors - RH Drive
Electric Actuators
Headlamp Switch Power and Ground
Headlamp Switch Power and Grounds
Headlamp Switch Power and Ground
Headlamp Switch Power and Grounds
G201 2 of 3
G201 2 of 3
Electric Actuators
Figure 6:

Temperature Sensors - RH Drive


Object Number: 787273  Size: FS
Master Electrical Component List
Air Temperature Description and Operation
Steering Column Controls
Temperature Sensors - LH Drive
I/P Dimmer / Fog Lamp Switch Power and Ground
I/P Dimmer / Fog Lamp Switch Power and Ground
G201 2 of 3
G201 2 of 3
Electric Actuators
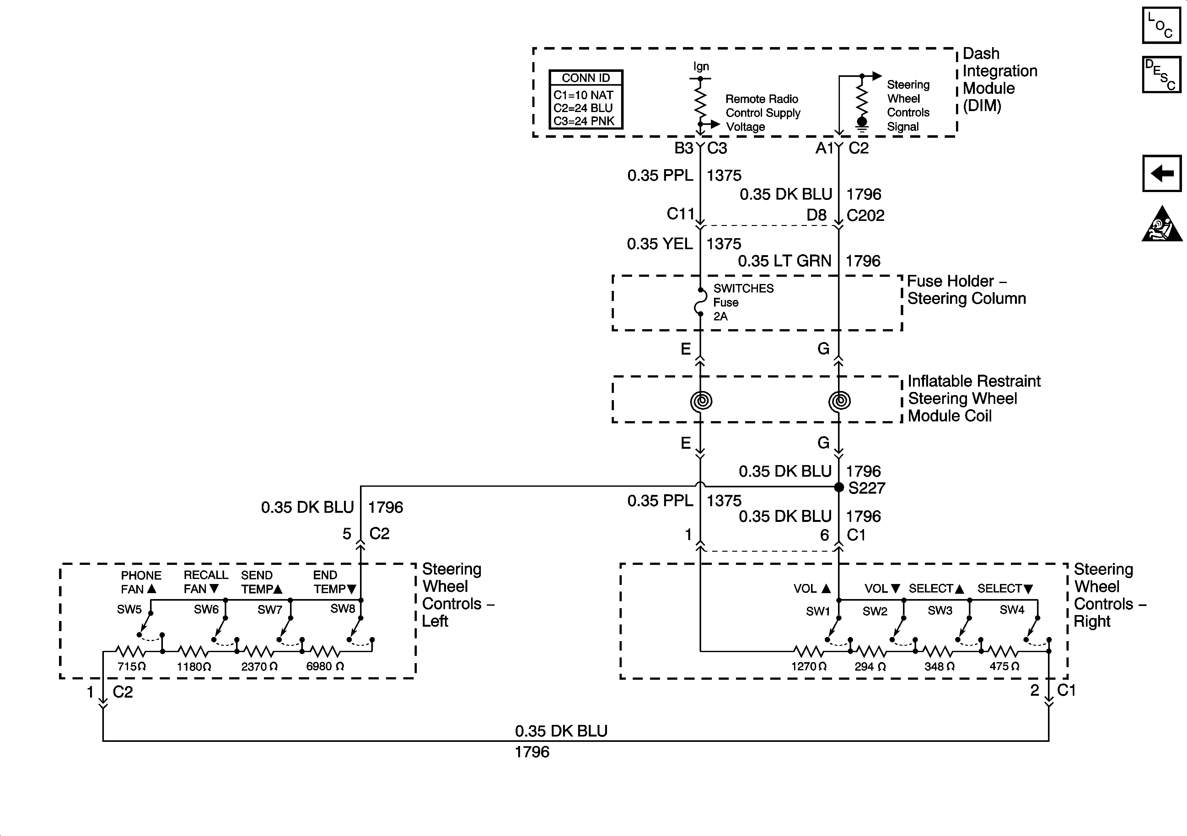
Figure 7:

Steering Column Controls


Object Number: 783612  Size: FS
Master Electrical Component List
Air Delivery Description and Operation
Temperature Sensors - RH Drive