GM Service Manual Online
For 1990-2009 cars only
Makes
🢒
Cadillac
🢒
2002
🢒
Seville
🢒
Body and Accessories
🢒
Seats
🢒 Power Seats Schematics
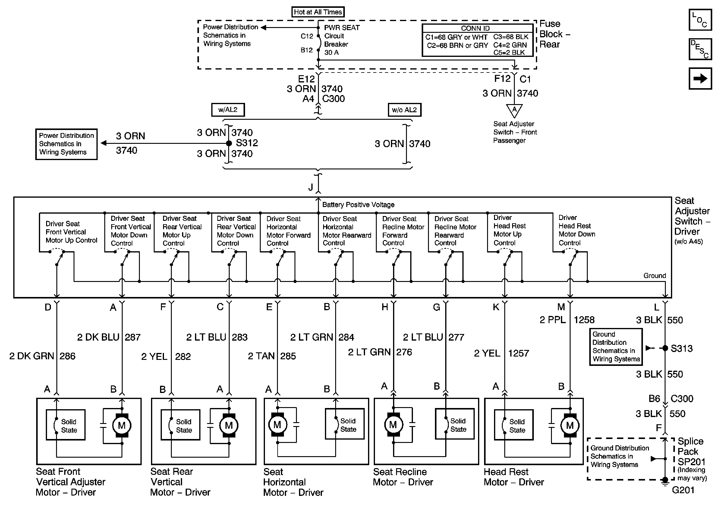
Figure
1:
Seat Adjuster Switch -- Driver
Master Electrical Component List
Power Seats System Description and Operation
Seat Adjuster Switch - Front Passenger
G201 3 of 5 (LH Drive)
G201 3 of 5 (LH Drive)
Battery Feed to Fuse Block - Rear
Seat Adjuster Switch - Front Passenger
Figure
2:
Seat Adjuster Switch - Front Passenger
Master Electrical Component List
Power Seats System Description and Operation
Seat Adjuster Switch - Driver
G201 3 of 5 (LH Drive)
G201 3 of 5 (LH Drive)
Seat Adjuster Switch - Driver