GM Service Manual Online
For 1990-2009 cars only
Makes
🢒
Cadillac
🢒
2002
🢒
Seville
🢒
Body and Accessories
🢒
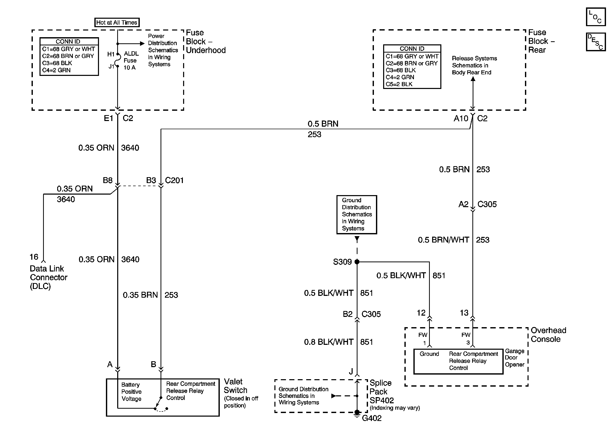
Garage Door Opener
🢒 Garage Door Opener Schematics
Master Electrical Component List
Garage Door Opener Description and Operation
G402 1 of 2
G402 1 of 2
Power and Ground