GM Service Manual Online
For 1990-2009 cars only
Makes
🢒
Cadillac
🢒
2002
🢒
Seville
🢒
Body and Accessories
🢒
Entertainment
🢒 Keyless Entry Schematics
Master Electrical Component List
Keyless Entry System Description and Operation
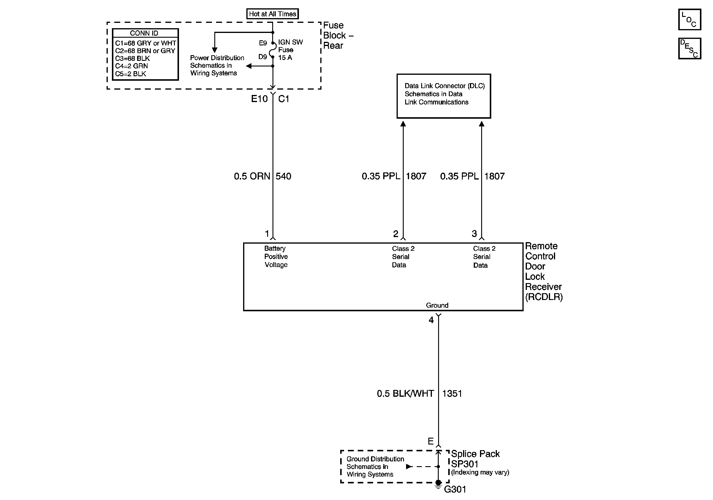
G301
Battery Feed to Fuse Block - Rear
Class 2 Serial Data Line (LH Drive) (2 of 2)