GM Service Manual Online
For 1990-2009 cars only
Makes
🢒
Cadillac
🢒
2002
🢒
Seville
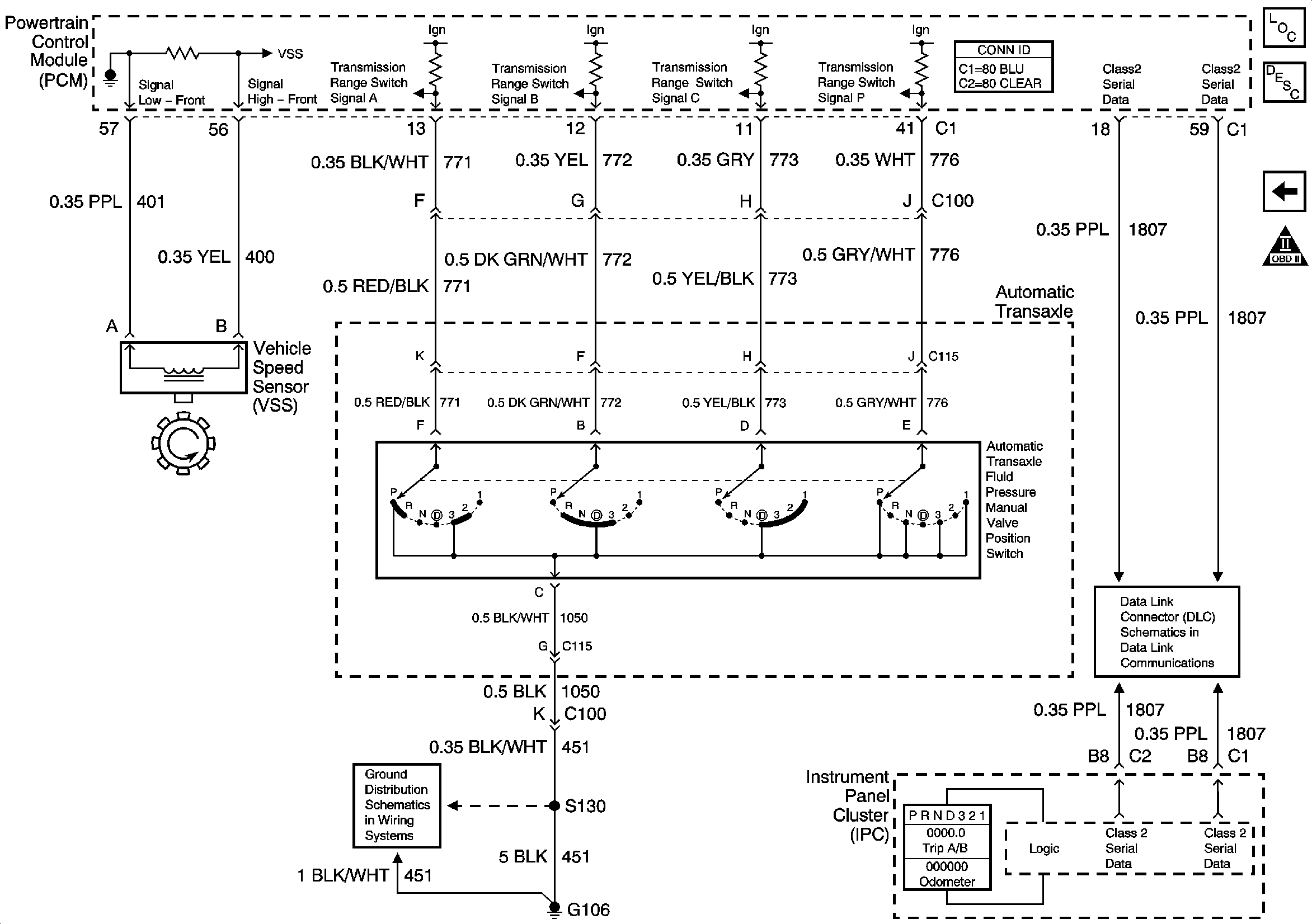
🢒 Automatic Transaxle Fluid Pressure Manual Valve Position Switch and VSS
Automatic Transaxle Fluid Pressure Manual Valve Position Switch and VSS
Automatic Transaxle Fluid Pressure Manual Valve Position Switch and VSS
Master Electrical Component List
Electronic Component Description
Transaxle Sensors
Automatic Transmission Schematic Icons
G106 and G108